
Provincialeweg 77-k is gelegen in de plaats Bunnik, de gemeente Bunnik en de provincie Utrecht. Het perceel waarop het adres gelegen is heeft een oppervlakte van 4205 m². Het verblijfsobject is met 41 m² relatief klein. Het adres is klein vergeleken met andere objecten in de straat. Het grootste object in de straat heeft een oppervlakte van 2052 m², het kleinste is 12 m² groot. In Nederland komt het grootste deel van de gebouwen uit de periode 1965-1984. Ook het bouwjaar van Provincialeweg 77-k is afkomstig uit die periode: het betreft namelijk een pand uit 1968. Vergeleken met de andere panden in de straat is dit gebouw nieuw. Het vroegste bouwjaar is er 1650 en het laatste is 2017. Het verblijfsobject heeft de volgende gebruiksdoelen: 'woonfunctie'.
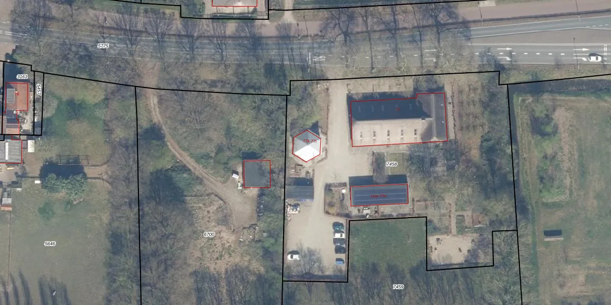
Het adres ligt op het perceel BNK02-A-7458, dat zich in de kadastrale gemeente Bunnik bevindt. De gemiddelde perceeloppervlakte in de kadastrale gemeente Bunnik is 2822,29 m². Dit perceel is met zijn 4205 m² dus groter dan gemiddeld. Het grootste perceel in de kadastrale gemeente is 42,1 ha. Het kleinste perceel heeft een oppervlakte van 0 m². Er zijn 13 adressen aanwezig op het perceel. De laatste wijziging in het de Basisregistratie Kadaster (BRK) was op 07-02-2025.
Het adres ligt in een gebouw van het type 'appartement met het subtype hoekvloer'. Bij de laatste meting is voor het adres het energielabel B geregistreerd. Het hoogste energielabel in de straat is A; het laagste is G. Het gemiddelde energielabel is er C. Het adres Provincialeweg 77-k heeft als status: 'verblijfsobject in gebruik'. Het pand waarin dit adres ligt heeft als status: 'pand in gebruik'.
Provincialeweg 77-k is een adres gelegen in de gemeente Bunnik, provincie Utrecht. Dit adres is geregistreerd in de Basisregistratie Adressen en Gebouwen (BAG) met als unieke identificatie 0312010000007800.
Het pand op Provincialeweg 77-k is gebouwd in 1968, wat betekent dat het 58 jaar oud is. Dit is een ouder pand. Het pand heeft mogelijk aanzienlijke renovaties nodig om aan de huidige standaarden te voldoen.
De woning op Provincialeweg 77-k heeft een gebruiksoppervlakte van 41 m². Dit is relatief klein vergeleken met de gemiddelde Nederlandse woning, die een oppervlakte heeft van ongeveer 119 m². De gebruiksoppervlakte is de maat die wordt gebruikt in de BAG-registratie, de landelijke registratie van de Nederlandse overheid.
Provincialeweg 77-k heeft als functie: wonen. Deze gebruiksfunctie(s) zijn vastgelegd in de BAG-registratie en geven aan waarvoor het adres officieel mag worden gebruikt.
Provincialeweg 77-k is gelegen op kadastraal perceel BNK02A7458. Deze kadastrale aanduiding is uniek en wordt gebruikt door het Kadaster om eigendomsrechten en andere zakelijke rechten vast te leggen. Het perceel maakt onderdeel uit van de kadastrale gemeente Bunnik.
Het perceel waarop Provincialeweg 77-k staat heeft een oppervlakte van 4205 m². Dit is een zeer groot perceel. De perceeloppervlakte wordt geregistreerd door het Kadaster. Gedetailleerde informatie over de maten van dit perceel kunt u vinden in het rapport Kadastrale kaart met maatvoering van Provincialeweg 77-k.
De eigenaar van Provincialeweg 77-k is op te vragen op deze pagina.
De informatie over dit adres is afkomstig uit officiële overheidsregistraties, voornamelijk de Basisregistratie Adressen en Gebouwen (BAG) en de Basisregistratie Kadaster (BRK). Deze gegevens worden beheerd door respectievelijk gemeenten en het Kadaster, en worden regelmatig bijgewerkt. Energielabelgegevens komen uit de database van de Rijksdienst voor Ondernemend Nederland (RVO).
