
Zwarteweg 22 is gelegen in de plaats Buren, de gemeente Ameland en de provincie Friesland. De oppervlakte van het adres is 144 m². Dat is vergelijkbaar met het gemiddelde Nederlandse oppervlakte van 119 m². De oppervlakte van het perceel waarin het adres ligt is 2225 m². In vergelijking met de andere adressen in de straat is de oppervlakte van dit object relatief groot. Het grootste verblijfsobject heeft een oppervlakte van 321 m², de oppervlakte van het kleinste object bedraagt 4 m². Zwarteweg 22 ligt in een gebouw uit het jaar 1994. Daarmee behoort het tot de groep panden van na 1984, die we als relatief nieuw bestempelen. Het nieuwste gebouw in de straat komt uit 2025 en het oudste uit 1936. Dit object is relatief oud. De volgende gebruiksdoelen zijn geregistreerd voor dit adres: 'logiesfunctie'.
Deze woning is voor het laatst verkocht op 1 mei 2024. Meer informatie over deze transactie? Bestel het Woningtransactierapport om de verkoopprijs en andere informatie te zien.
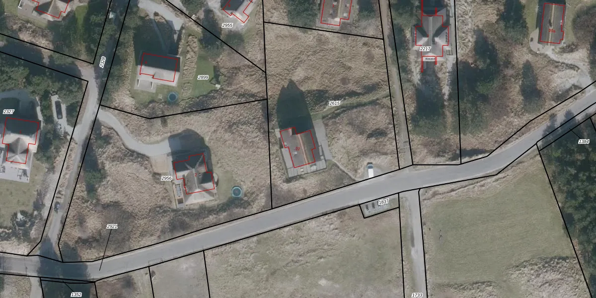
Het perceel waarop het adres ligt is NES01-B-2615. De afkorting 'NES01' staat voor kadastrale gemeente Nes Ameland. Het perceel is 2225 m² groot. Dat is kleiner dan de gemiddelde perceeloppervlakte in Nes Ameland, dat op 7,0 ha ligt. Het grootste perceel in de kadastrale gemeente is 58,73 km². Het kleinste perceel heeft een oppervlakte van 1 m². Op het perceel bevinden zich geen andere adressen. De laatste wijziging in het de Basisregistratie Kadaster (BRK) was op 18-08-2003.
Bij de laatste meting is voor het adres het energielabel C geregistreerd. Het hoogste energielabel in de straat is A++; het laagste is G. Het gemiddelde energielabel is er C. Het adres Zwarteweg 22 heeft als status: 'verblijfsobject in gebruik'. Het pand waarin dit adres ligt heeft als status: 'pand in gebruik'.
Zwarteweg 22 is een adres gelegen in de gemeente Ameland, provincie Friesland. Dit adres is geregistreerd in de Basisregistratie Adressen en Gebouwen (BAG) met als unieke identificatie 0060010000133640.
Het pand op Zwarteweg 22 is gebouwd in 1994, wat betekent dat het 32 jaar oud is. Dit is een pand van middelbare leeftijd. Het pand is van gemiddelde leeftijd en zal waarschijnlijk verouderde elementen bevatten.
De woning op Zwarteweg 22 heeft een gebruiksoppervlakte van 144 m². Dit is gemiddeld vergeleken met de gemiddelde Nederlandse woning, die een oppervlakte heeft van ongeveer 119 m². De gebruiksoppervlakte is de maat die wordt gebruikt in de BAG-registratie, de landelijke registratie van de Nederlandse overheid.
Zwarteweg 22 heeft als functie: logies/verblijf. Deze gebruiksfunctie(s) zijn vastgelegd in de BAG-registratie en geven aan waarvoor het adres officieel mag worden gebruikt.
Zwarteweg 22 is gelegen op kadastraal perceel NES01B2615. Deze kadastrale aanduiding is uniek en wordt gebruikt door het Kadaster om eigendomsrechten en andere zakelijke rechten vast te leggen. Het perceel maakt onderdeel uit van de kadastrale gemeente Nes Ameland.
Het perceel waarop Zwarteweg 22 staat heeft een oppervlakte van 2225 m². Dit is een zeer groot perceel. De perceeloppervlakte wordt geregistreerd door het Kadaster. Gedetailleerde informatie over de maten van dit perceel kunt u vinden in het rapport Kadastrale kaart met maatvoering van Zwarteweg 22.
De eigenaar van Zwarteweg 22 is op te vragen op deze pagina.
De informatie over dit adres is afkomstig uit officiële overheidsregistraties, voornamelijk de Basisregistratie Adressen en Gebouwen (BAG) en de Basisregistratie Kadaster (BRK). Deze gegevens worden beheerd door respectievelijk gemeenten en het Kadaster, en worden regelmatig bijgewerkt. Energielabelgegevens komen uit de database van de Rijksdienst voor Ondernemend Nederland (RVO).
