
Het adres Baarleseweg 46-a bevindt zich in de plaats Chaam, in de gemeente Chaam en de provincie Noord-Brabant. Het verblijfsobject is vergeleken met het Nederlandse gemiddelde aan de kleine kant: de oppervlakte is 16 m². Het perceel waarop het adres zich bevindt heeft een oppervlakte van 110 m². Er zijn geen kleinere objecten in deze straat. De gemiddelde oppervlakte is er 213 m². Het grootste verblijfsobject is 2128 m². Het adres Baarleseweg 46-a ligt in een relatief oud pand uit het jaar 1957. Panden van vóór het jaar 1965 hebben we hier geclassificeerd als oud. Het nieuwste gebouw in de straat komt uit 2022 en het oudste uit 1850. Dit object is relatief oud. De volgende gebruiksdoelen zijn geregistreerd voor dit adres: 'overige gebruiksfunctie'.
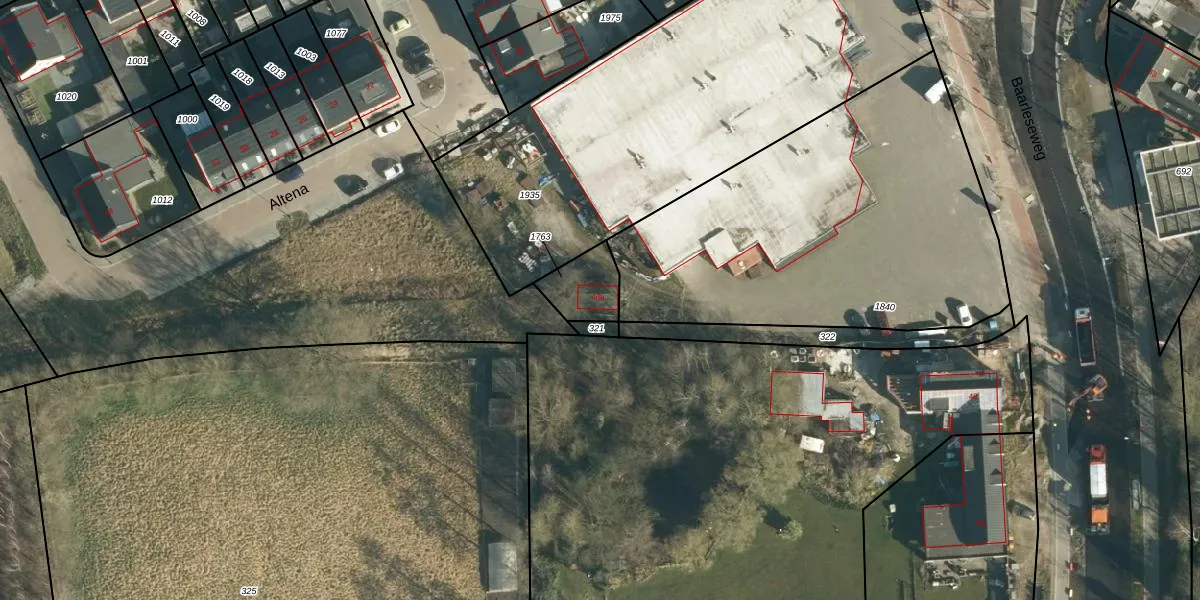
Het adres ligt op het perceel CHA00-C-1763, dat zich in de kadastrale gemeente Chaam bevindt. Het perceel is 110 m² groot. Dat is kleiner dan de gemiddelde perceeloppervlakte in Chaam, dat op 7499,43 m² ligt. De grootste perceeloppervlakte in de kadastrale gemeente is 1,23 km². De kleinste oppervlakte bedraagt 0 m². Op het perceel bevinden zich geen andere adressen. In de Basisregistratie Kadaster (BRK) werden de grenzen van het perceel geregistreerd op 16-11-2011.
Er is geen energielabel geregistreerd voor het adres. Het hoogste energielabel in de straat is A+++; het laagste is G. Het gemiddelde energielabel is er D. Het adres Baarleseweg 46-a heeft als status: 'verblijfsobject in gebruik'. Het pand waarin dit adres ligt heeft als status: 'pand in gebruik'.
Baarleseweg 46-a is een adres gelegen in de gemeente Alphen-Chaam, provincie Noord-Brabant. Dit adres is geregistreerd in de Basisregistratie Adressen en Gebouwen (BAG) met als unieke identificatie 1723010000000243.
Het pand op Baarleseweg 46-a is gebouwd in 1957, wat betekent dat het 69 jaar oud is. Dit is een ouder pand. Het pand heeft mogelijk aanzienlijke renovaties nodig om aan de huidige standaarden te voldoen.
De woning op Baarleseweg 46-a heeft een gebruiksoppervlakte van 16 m². Dit is relatief klein vergeleken met de gemiddelde Nederlandse woning, die een oppervlakte heeft van ongeveer 119 m². De gebruiksoppervlakte is de maat die wordt gebruikt in de BAG-registratie, de landelijke registratie van de Nederlandse overheid.
Baarleseweg 46-a heeft als functie: overige doeleinden. Deze gebruiksfunctie(s) zijn vastgelegd in de BAG-registratie en geven aan waarvoor het adres officieel mag worden gebruikt.
Baarleseweg 46-a is gelegen op kadastraal perceel CHA00C1763. Deze kadastrale aanduiding is uniek en wordt gebruikt door het Kadaster om eigendomsrechten en andere zakelijke rechten vast te leggen. Het perceel maakt onderdeel uit van de kadastrale gemeente Chaam.
Het perceel waarop Baarleseweg 46-a staat heeft een oppervlakte van 110 m². Dit is een middelgroot perceel. De perceeloppervlakte wordt geregistreerd door het Kadaster. Gedetailleerde informatie over de maten van dit perceel kunt u vinden in het rapport Kadastrale kaart met maatvoering van Baarleseweg 46-a.
De eigenaar van Baarleseweg 46-a is op te vragen op deze pagina.
De informatie over dit adres is afkomstig uit officiële overheidsregistraties, voornamelijk de Basisregistratie Adressen en Gebouwen (BAG) en de Basisregistratie Kadaster (BRK). Deze gegevens worden beheerd door respectievelijk gemeenten en het Kadaster, en worden regelmatig bijgewerkt. Energielabelgegevens komen uit de database van de Rijksdienst voor Ondernemend Nederland (RVO).
