
Zandstraat 1-a is gelegen in de plaats Chaam, de gemeente Alphen-Chaam en de provincie Noord-Brabant. Het verblijfsobject is vergeleken met het Nederlandse gemiddelde aan de kleine kant: de oppervlakte is 85 m². Het perceel waarop het adres zich bevindt heeft een oppervlakte van 815 m². Het adres is klein vergeleken met andere objecten in de straat. Het grootste object in de straat heeft een oppervlakte van 624 m², het kleinste is 57 m² groot. In het jaar 2004 is het pand waarin Zandstraat 1-a ligt gebouwd. Dat is relatief recent: de meeste gebouwen in Nederland zijn gebouwd in de periode 1965-1984. Dit pand is het meest recent exemplaar in de straat. Het oudste object komt er uit 1854 en het gemiddelde bouwjaar is 1961. Voor het verblijfsobject gelden deze gebruiksdoelen: 'overige gebruiksfunctie'.
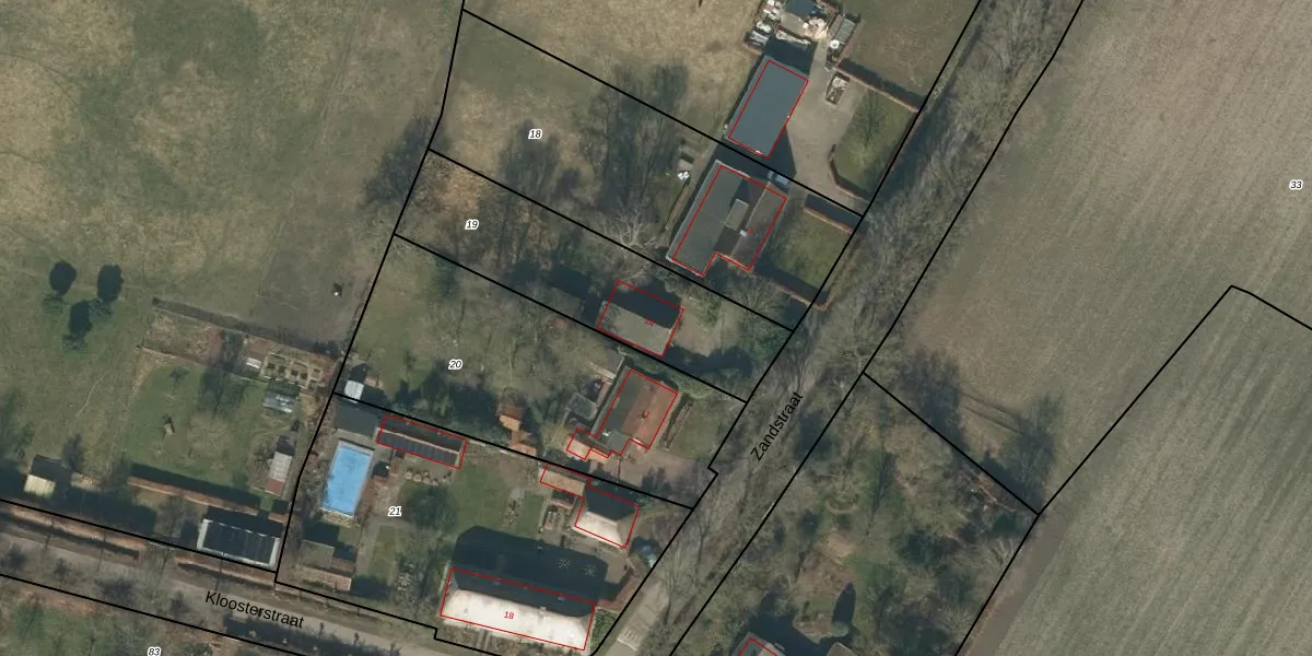
Het adres ligt op het perceel CHA00-K-19, dat zich in de kadastrale gemeente Chaam bevindt. De gemiddelde perceelgrootte in Chaam is 7499,43 m². Dit perceel is kleiner: de perceeloppervlakte bedraagt 815 m². De grootste perceeloppervlakte in de kadastrale gemeente is 1,23 km². De kleinste oppervlakte bedraagt 0 m². Op het perceel bevinden zich geen andere adressen. De laatste wijziging in het de Basisregistratie Kadaster (BRK) was op 09-03-2009.
Er is geen energielabel geregistreerd voor het adres. Het hoogste energielabel in de straat is D; het laagste is G. Het gemiddelde energielabel is er D. Het adres Zandstraat 1-a heeft als status: 'verblijfsobject in gebruik'. Het pand waarin dit adres ligt heeft als status: 'pand in gebruik'.
Zandstraat 1-a is een adres gelegen in de gemeente Alphen-Chaam, provincie Noord-Brabant. Dit adres is geregistreerd in de Basisregistratie Adressen en Gebouwen (BAG) met als unieke identificatie 1723010000005389.
Het pand op Zandstraat 1-a is gebouwd in 2004, wat betekent dat het 22 jaar oud is. Dit is een relatief modern pand. Ten opzichte van de nationale woningvoorraad is het pand relatief modern, maar er kunnen enkele verouderde elementen zijn die aandacht nodig hebben.
De woning op Zandstraat 1-a heeft een gebruiksoppervlakte van 85 m². Dit is onder het gemiddelde vergeleken met de gemiddelde Nederlandse woning, die een oppervlakte heeft van ongeveer 119 m². De gebruiksoppervlakte is de maat die wordt gebruikt in de BAG-registratie, de landelijke registratie van de Nederlandse overheid.
Zandstraat 1-a heeft als functie: overige doeleinden. Deze gebruiksfunctie(s) zijn vastgelegd in de BAG-registratie en geven aan waarvoor het adres officieel mag worden gebruikt.
Zandstraat 1-a is gelegen op kadastraal perceel CHA00K19. Deze kadastrale aanduiding is uniek en wordt gebruikt door het Kadaster om eigendomsrechten en andere zakelijke rechten vast te leggen. Het perceel maakt onderdeel uit van de kadastrale gemeente Chaam.
Het perceel waarop Zandstraat 1-a staat heeft een oppervlakte van 815 m². Dit is een groot perceel. De perceeloppervlakte wordt geregistreerd door het Kadaster. Gedetailleerde informatie over de maten van dit perceel kunt u vinden in het rapport Kadastrale kaart met maatvoering van Zandstraat 1-a.
De eigenaar van Zandstraat 1-a is op te vragen op deze pagina.
De informatie over dit adres is afkomstig uit officiële overheidsregistraties, voornamelijk de Basisregistratie Adressen en Gebouwen (BAG) en de Basisregistratie Kadaster (BRK). Deze gegevens worden beheerd door respectievelijk gemeenten en het Kadaster, en worden regelmatig bijgewerkt. Energielabelgegevens komen uit de database van de Rijksdienst voor Ondernemend Nederland (RVO).
