
Den Hoek 1-A is een adres in Cromvoirt, dat zich bevindt binnen de gemeentegrenzen van Cromvoirt en de grenzen van de provincie Noord-Brabant. Het object heeft een oppervlakte van 490 m², wat relatief groot is. Het perceel waarop het adres ligt is 1,0 ha groot. In de straat is dit het adres met de grootste oppervlakte. De objecten in de straat zijn gemiddeld 364 m² groot. Het kleinste verblijfsobject heeft een oppervlakte van 262 m². In het jaar 2022 is het pand waarin Den Hoek 1-A ligt gebouwd. Dat is relatief recent: de meeste gebouwen in Nederland zijn gebouwd in de periode 1965-1984. Het gemiddelde bouwjaar in de straat is 1938 en dat van het oudste pand is 1905. Dit is het nieuwste object in de straat. Het verblijfsobject heeft de volgende gebruiksdoelen: 'woonfunctie'.
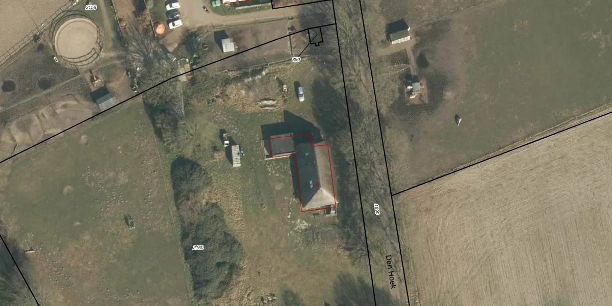
Het perceel waarop het adres ligt is VUG00-H-2160. De afkorting 'VUG00' staat voor kadastrale gemeente Vught. De gemiddelde perceeloppervlakte in de kadastrale gemeente Vught is 2684,2 m². Dit perceel is met zijn 1,0 ha dus groter dan gemiddeld. De grootste perceeloppervlakte in de kadastrale gemeente is 65,7 ha. De kleinste oppervlakte bedraagt 0 m². Dit is het enige adres dat aanwezig is op het perceel. De huidige grenzen van het perceel zijn digitaal in de Basisregistratie Kadaster (BRK) geregistreerd op 21-10-2025.
Er is geen energielabel geregistreerd voor het adres. Het hoogste energielabel in de straat is G; het laagste is G. Het gemiddelde energielabel is er G. Het adres Den Hoek 1-A heeft als status: 'verblijfsobject in gebruik'. Het pand waarin dit adres ligt heeft als status: 'pand in gebruik'.
Den Hoek 1-A is een adres gelegen in de gemeente Vught, provincie Noord-Brabant. Dit adres is geregistreerd in de Basisregistratie Adressen en Gebouwen (BAG) met als unieke identificatie 0865010000013504.
Het pand op Den Hoek 1-A is gebouwd in 2022, wat betekent dat het 4 jaar oud is. Dit is een vrij nieuw pand. Het pand is dus waarschijnlijk goed geïsoleerd, geluidsdicht en voldoet aan de huidige bouwstandaarden. Op korte termijn zijn er waarschijnlijk weinig onderhoudskosten.
De woning op Den Hoek 1-A heeft een gebruiksoppervlakte van 490 m². Dit is ruim vergeleken met de gemiddelde Nederlandse woning, die een oppervlakte heeft van ongeveer 119 m². De gebruiksoppervlakte is de maat die wordt gebruikt in de BAG-registratie, de landelijke registratie van de Nederlandse overheid.
Den Hoek 1-A heeft als functie: wonen. Deze gebruiksfunctie(s) zijn vastgelegd in de BAG-registratie en geven aan waarvoor het adres officieel mag worden gebruikt.
Den Hoek 1-A is gelegen op kadastraal perceel VUG00H2160. Deze kadastrale aanduiding is uniek en wordt gebruikt door het Kadaster om eigendomsrechten en andere zakelijke rechten vast te leggen. Het perceel maakt onderdeel uit van de kadastrale gemeente Vught.
Het perceel waarop Den Hoek 1-A staat heeft een oppervlakte van 1,0 ha. Dit is een zeer groot perceel. De perceeloppervlakte wordt geregistreerd door het Kadaster. Gedetailleerde informatie over de maten van dit perceel kunt u vinden in het rapport Kadastrale kaart met maatvoering van Den Hoek 1-A.
De eigenaar van Den Hoek 1-A is op te vragen op deze pagina.
De informatie over dit adres is afkomstig uit officiële overheidsregistraties, voornamelijk de Basisregistratie Adressen en Gebouwen (BAG) en de Basisregistratie Kadaster (BRK). Deze gegevens worden beheerd door respectievelijk gemeenten en het Kadaster, en worden regelmatig bijgewerkt. Energielabelgegevens komen uit de database van de Rijksdienst voor Ondernemend Nederland (RVO).
