
Koopmansgildeplein 4 is gelegen in de plaats Culemborg, de gemeente Culemborg en de provincie Gelderland. Het object heeft een oppervlakte van 248 m², wat relatief groot is. Het perceel waarop het adres ligt is 1309 m² groot. Het object is klein ten opzichte van de andere adressen in de straat. Het grootste verblijfsobject is 2194 m² groot en het kleinste is 78 m². Koopmansgildeplein 4 ligt in een gebouw uit het jaar 2006. Daarmee behoort het tot de groep panden van na 1984, die we als relatief nieuw bestempelen. Het gemiddelde bouwjaar in de straat is 2004 en dat van het oudste pand is 2004. Dit is het nieuwste object in de straat. Het verblijfsobject heeft de volgende gebruiksdoelen: 'gezondheidszorgfunctie'.
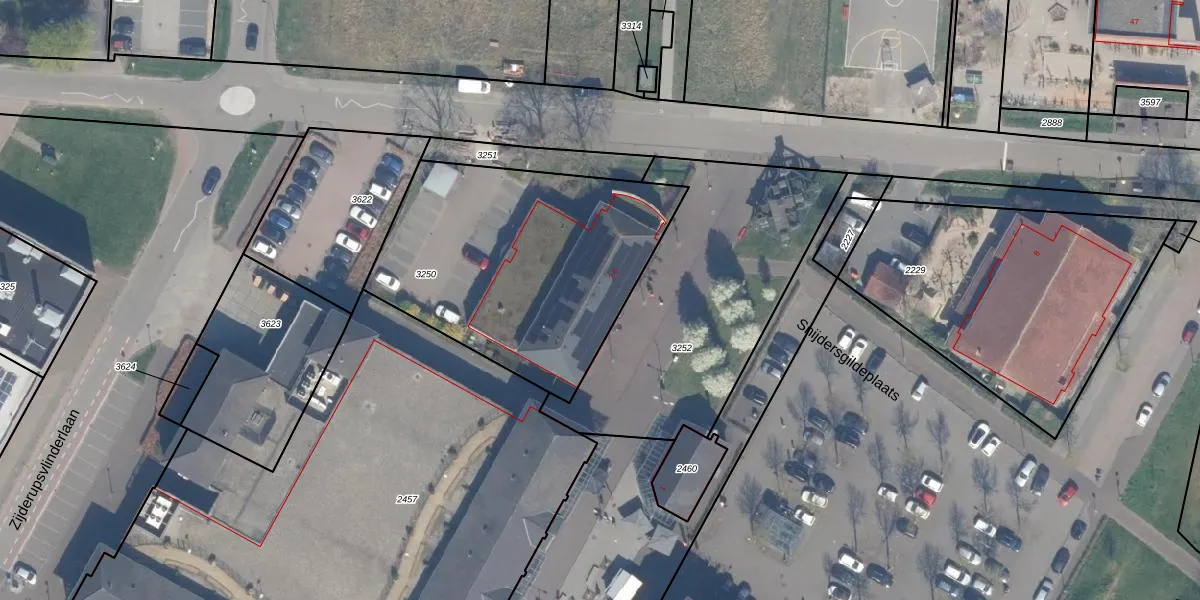
Het perceel waarop het adres ligt is CLB00-N-3250. De afkorting 'CLB00' staat voor kadastrale gemeente Culemborg. Het perceel is kleiner dan gemiddeld in Culemborg. Het perceel is 1309 m² groot, terwijl het gemiddelde ligt op 2281,59 m². Het grootste perceel in de kadastrale gemeente is 37,0 ha. Het kleinste perceel heeft een oppervlakte van 0 m². Er zijn 3 adressen aanwezig op het perceel. De laatste wijziging in het de Basisregistratie Kadaster (BRK) was op 15-07-2010.
Bij de laatste meting is voor het adres het energielabel A++ geregistreerd. Het hoogste energielabel in de straat is A++; het laagste is G. Het gemiddelde energielabel is er A. Het adres Koopmansgildeplein 4 heeft als status: 'verblijfsobject in gebruik'. Het pand waarin dit adres ligt heeft als status: 'pand in gebruik'.
Koopmansgildeplein 4 is een adres gelegen in de gemeente Culemborg, provincie Gelderland. Dit adres is geregistreerd in de Basisregistratie Adressen en Gebouwen (BAG) met als unieke identificatie 0216010000013942.
Het pand op Koopmansgildeplein 4 is gebouwd in 2006, wat betekent dat het 20 jaar oud is. Dit is een relatief modern pand. Ten opzichte van de nationale woningvoorraad is het pand relatief modern, maar er kunnen enkele verouderde elementen zijn die aandacht nodig hebben.
De woning op Koopmansgildeplein 4 heeft een gebruiksoppervlakte van 248 m². Dit is ruim vergeleken met de gemiddelde Nederlandse woning, die een oppervlakte heeft van ongeveer 119 m². De gebruiksoppervlakte is de maat die wordt gebruikt in de BAG-registratie, de landelijke registratie van de Nederlandse overheid.
Koopmansgildeplein 4 heeft als functie: gezondheidszorg. Deze gebruiksfunctie(s) zijn vastgelegd in de BAG-registratie en geven aan waarvoor het adres officieel mag worden gebruikt.
Koopmansgildeplein 4 is gelegen op kadastraal perceel CLB00N3250. Deze kadastrale aanduiding is uniek en wordt gebruikt door het Kadaster om eigendomsrechten en andere zakelijke rechten vast te leggen. Het perceel maakt onderdeel uit van de kadastrale gemeente Culemborg.
Het perceel waarop Koopmansgildeplein 4 staat heeft een oppervlakte van 1309 m². Dit is een zeer groot perceel. De perceeloppervlakte wordt geregistreerd door het Kadaster. Gedetailleerde informatie over de maten van dit perceel kunt u vinden in het rapport Kadastrale kaart met maatvoering van Koopmansgildeplein 4.
De eigenaar van Koopmansgildeplein 4 is op te vragen op deze pagina.
De informatie over dit adres is afkomstig uit officiële overheidsregistraties, voornamelijk de Basisregistratie Adressen en Gebouwen (BAG) en de Basisregistratie Kadaster (BRK). Deze gegevens worden beheerd door respectievelijk gemeenten en het Kadaster, en worden regelmatig bijgewerkt. Energielabelgegevens komen uit de database van de Rijksdienst voor Ondernemend Nederland (RVO).
