
Veenschapsweg 40 is een adres in Dalerpeel, dat zich bevindt binnen de gemeentegrenzen van Dalerpeel en de grenzen van de provincie Drenthe. Het perceel waarop het verblijfsobject staat is 6975 m² groot. De oppervlakte van het adres is 114 m², wat zich rond het Nederlandse gemiddelde van 119 m² bevindt. Het object is klein ten opzichte van de andere adressen in de straat. Het grootste verblijfsobject is 571 m² groot en het kleinste is 85 m². Veenschapsweg 40 bevindt zich in een pand uit het jaar 1959. Daarmee behoort het tot de groep relatief oude panden in Nederland die gebouwd zijn vóór 1965. Veel andere gebouwen in de straat zijn ouder dan dit pand. Het oudste pand komt uit het jaar 1912 en het nieuwste uit 2025. De volgende gebruiksdoelen zijn geregistreerd voor dit adres: 'woonfunctie' en 'industriefunctie'.
Deze woning is voor het laatst verkocht op 1 maart 2021. Meer informatie over deze transactie? Bestel het Woningtransactierapport om de verkoopprijs en andere informatie te zien.
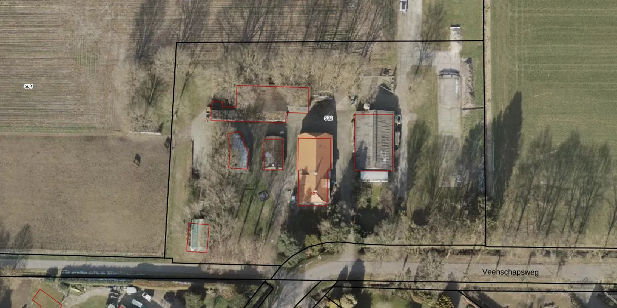
Het perceel waarop het adres ligt is DLN00-N-532. De afkorting 'DLN00' staat voor kadastrale gemeente Dalen. Het perceel is 6975 m² groot. Dat is kleiner dan de gemiddelde perceeloppervlakte in Dalen, dat op 1,2 ha ligt. Het grootste perceel in de kadastrale gemeente is 66,8 ha. Het kleinste perceel heeft een oppervlakte van 0 m². Er zijn geen andere adressen aanwezig op het perceel. De huidige grenzen van het perceel zijn digitaal in de Basisregistratie Kadaster (BRK) geregistreerd op 11-12-2020.
Het adres ligt in een gebouw van het type 'vrijstaande woning'. Bij de laatste meting is voor het adres het energielabel G geregistreerd. Het hoogste energielabel in de straat is A; het laagste is G. Het gemiddelde energielabel is er E. Het adres Veenschapsweg 40 heeft als status: 'verblijfsobject in gebruik'. Het pand waarin dit adres ligt heeft als status: 'pand in gebruik'.
Veenschapsweg 40 is een adres gelegen in de gemeente Coevorden, provincie Drenthe. Dit adres is geregistreerd in de Basisregistratie Adressen en Gebouwen (BAG) met als unieke identificatie 0109010000007813.
Het pand op Veenschapsweg 40 is gebouwd in 1959, wat betekent dat het 67 jaar oud is. Dit is een ouder pand. Het pand heeft mogelijk aanzienlijke renovaties nodig om aan de huidige standaarden te voldoen.
De woning op Veenschapsweg 40 heeft een gebruiksoppervlakte van 114 m². Dit is onder het gemiddelde vergeleken met de gemiddelde Nederlandse woning, die een oppervlakte heeft van ongeveer 119 m². De gebruiksoppervlakte is de maat die wordt gebruikt in de BAG-registratie, de landelijke registratie van de Nederlandse overheid.
Veenschapsweg 40 heeft als functie: wonen en industrie. Deze gebruiksfunctie(s) zijn vastgelegd in de BAG-registratie en geven aan waarvoor het adres officieel mag worden gebruikt.
Veenschapsweg 40 is gelegen op kadastraal perceel DLN00N532. Deze kadastrale aanduiding is uniek en wordt gebruikt door het Kadaster om eigendomsrechten en andere zakelijke rechten vast te leggen. Het perceel maakt onderdeel uit van de kadastrale gemeente Dalen.
Het perceel waarop Veenschapsweg 40 staat heeft een oppervlakte van 6975 m². Dit is een zeer groot perceel. De perceeloppervlakte wordt geregistreerd door het Kadaster. Gedetailleerde informatie over de maten van dit perceel kunt u vinden in het rapport Kadastrale kaart met maatvoering van Veenschapsweg 40.
De eigenaar van Veenschapsweg 40 is op te vragen op deze pagina.
De informatie over dit adres is afkomstig uit officiële overheidsregistraties, voornamelijk de Basisregistratie Adressen en Gebouwen (BAG) en de Basisregistratie Kadaster (BRK). Deze gegevens worden beheerd door respectievelijk gemeenten en het Kadaster, en worden regelmatig bijgewerkt. Energielabelgegevens komen uit de database van de Rijksdienst voor Ondernemend Nederland (RVO).
