
Het adres de Kuiperij 1 bevindt zich in de plaats Dalerveen, in de gemeente Dalerveen en de provincie Drenthe. De oppervlakte bedraagt 450 m², waarmee het adres groter dan gemiddeld is. De grootte van het perceel waarop het adres ligt is 4250 m². In de straat is dit het adres met de grootste oppervlakte. De objecten in de straat zijn gemiddeld 293 m² groot. Het kleinste verblijfsobject heeft een oppervlakte van 135 m². de Kuiperij 1 bevindt zich in een pand uit het jaar 1897. Daarmee behoort het tot de groep relatief oude panden in Nederland die gebouwd zijn vóór 1965. Dit is het oudste object in de straat. Het nieuwste pand komt uit 1981 en het gemiddelde bouwjaar in de straat is 1939. Voor het verblijfsobject gelden deze gebruiksdoelen: 'woonfunctie' en 'industriefunctie'.
Deze woning is voor het laatst verkocht op 1 augustus 2024. Meer informatie over deze transactie? Bestel het Woningtransactierapport om de verkoopprijs en andere informatie te zien.
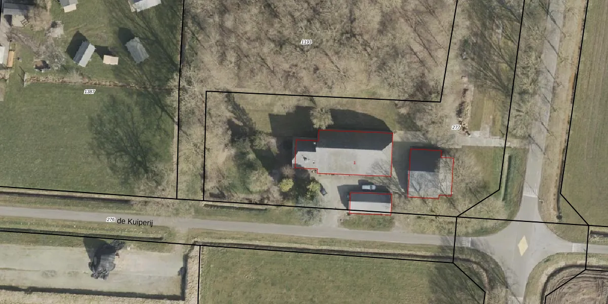
Het perceel waarop het adres ligt is DLN00-L-277. De afkorting 'DLN00' staat voor kadastrale gemeente Dalen. De gemiddelde perceelgrootte in Dalen is 1,2 ha. Dit perceel is kleiner: de perceeloppervlakte bedraagt 4250 m². Het grootste perceel in de kadastrale gemeente is 66,8 ha. Het kleinste perceel heeft een oppervlakte van 0 m². Er zijn geen andere adressen aanwezig op het perceel. In de Basisregistratie Kadaster (BRK) werden de grenzen van het perceel geregistreerd op 24-03-2003.
Het adres ligt in een gebouw van het type 'vrijstaande woning'. Bij de laatste meting is voor het adres het energielabel F geregistreerd. Het hoogste energielabel in de straat is F; het laagste is G. Het gemiddelde energielabel is er F. Het adres de Kuiperij 1 heeft als status: 'verblijfsobject in gebruik'. Het pand waarin dit adres ligt heeft als status: 'pand in gebruik'.
de Kuiperij 1 is een adres gelegen in de gemeente Coevorden, provincie Drenthe. Dit adres is geregistreerd in de Basisregistratie Adressen en Gebouwen (BAG) met als unieke identificatie 0109010000007615.
Het pand op de Kuiperij 1 is gebouwd in 1897, wat betekent dat het 129 jaar oud is. Dit is een ouder pand. Het pand heeft mogelijk aanzienlijke renovaties nodig om aan de huidige standaarden te voldoen.
De woning op de Kuiperij 1 heeft een gebruiksoppervlakte van 450 m². Dit is ruim vergeleken met de gemiddelde Nederlandse woning, die een oppervlakte heeft van ongeveer 119 m². De gebruiksoppervlakte is de maat die wordt gebruikt in de BAG-registratie, de landelijke registratie van de Nederlandse overheid.
de Kuiperij 1 heeft als functie: wonen en industrie. Deze gebruiksfunctie(s) zijn vastgelegd in de BAG-registratie en geven aan waarvoor het adres officieel mag worden gebruikt.
de Kuiperij 1 is gelegen op kadastraal perceel DLN00L277. Deze kadastrale aanduiding is uniek en wordt gebruikt door het Kadaster om eigendomsrechten en andere zakelijke rechten vast te leggen. Het perceel maakt onderdeel uit van de kadastrale gemeente Dalen.
Het perceel waarop de Kuiperij 1 staat heeft een oppervlakte van 4250 m². Dit is een zeer groot perceel. De perceeloppervlakte wordt geregistreerd door het Kadaster. Gedetailleerde informatie over de maten van dit perceel kunt u vinden in het rapport Kadastrale kaart met maatvoering van de Kuiperij 1.
De eigenaar van de Kuiperij 1 is op te vragen op deze pagina.
De informatie over dit adres is afkomstig uit officiële overheidsregistraties, voornamelijk de Basisregistratie Adressen en Gebouwen (BAG) en de Basisregistratie Kadaster (BRK). Deze gegevens worden beheerd door respectievelijk gemeenten en het Kadaster, en worden regelmatig bijgewerkt. Energielabelgegevens komen uit de database van de Rijksdienst voor Ondernemend Nederland (RVO).
