
Het adres Hessenweg 44 bevindt zich in de plaats Dalfsen, in de gemeente Dalfsen en de provincie Overijssel. De oppervlakte van het verblijfsobject is met 207 m² aan de grote kant. Het perceel heeft een oppervlakte van 7905 m². De oppervlakte van dit adres is groot vergeleken met de oppervlaktes van andere adressen in de straat. De kleinste oppervlakte bedraagt er 3 m², de grootste 2317 m². Hessenweg 44 bevindt zich in een pand uit het jaar 1955. Daarmee behoort het tot de groep relatief oude panden in Nederland die gebouwd zijn vóór 1965. Het nieuwste gebouw in de straat komt uit 2025 en het oudste uit 1800. Dit object is relatief oud. Het verblijfsobject heeft de volgende gebruiksdoelen: 'woonfunctie'.
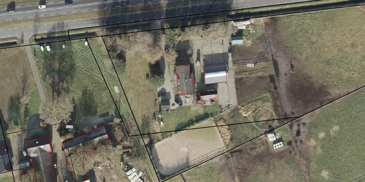
Het adres ligt op het perceel DSN01-Q-1216, dat zich in de kadastrale gemeente Dalfsen bevindt. Het perceel is kleiner dan gemiddeld in Dalfsen. Het perceel is 7905 m² groot, terwijl het gemiddelde ligt op 8530,21 m². Het grootste perceel in de kadastrale gemeente is 83,3 ha. Het kleinste perceel heeft een oppervlakte van 0 m². Op het perceel bevinden zich geen andere adressen. In de Basisregistratie Kadaster (BRK) werden de grenzen van het perceel geregistreerd op 18-01-2011.
Er is geen energielabel geregistreerd voor het adres. Het hoogste energielabel in de straat is A+++; het laagste is G. Het gemiddelde energielabel is er C. Het adres Hessenweg 44 heeft als status: 'verblijfsobject in gebruik'. Het pand waarin dit adres ligt heeft als status: 'pand in gebruik'.
Hessenweg 44 is een adres gelegen in de gemeente Dalfsen, provincie Overijssel. Dit adres is geregistreerd in de Basisregistratie Adressen en Gebouwen (BAG) met als unieke identificatie 0148010000001816.
Het pand op Hessenweg 44 is gebouwd in 1955, wat betekent dat het 71 jaar oud is. Dit is een ouder pand. Het pand heeft mogelijk aanzienlijke renovaties nodig om aan de huidige standaarden te voldoen.
De woning op Hessenweg 44 heeft een gebruiksoppervlakte van 207 m². Dit is ruim vergeleken met de gemiddelde Nederlandse woning, die een oppervlakte heeft van ongeveer 119 m². De gebruiksoppervlakte is de maat die wordt gebruikt in de BAG-registratie, de landelijke registratie van de Nederlandse overheid.
Hessenweg 44 heeft als functie: wonen. Deze gebruiksfunctie(s) zijn vastgelegd in de BAG-registratie en geven aan waarvoor het adres officieel mag worden gebruikt.
Hessenweg 44 is gelegen op kadastraal perceel DSN01Q1216. Deze kadastrale aanduiding is uniek en wordt gebruikt door het Kadaster om eigendomsrechten en andere zakelijke rechten vast te leggen. Het perceel maakt onderdeel uit van de kadastrale gemeente Dalfsen.
Het perceel waarop Hessenweg 44 staat heeft een oppervlakte van 7905 m². Dit is een zeer groot perceel. De perceeloppervlakte wordt geregistreerd door het Kadaster. Gedetailleerde informatie over de maten van dit perceel kunt u vinden in het rapport Kadastrale kaart met maatvoering van Hessenweg 44.
De eigenaar van Hessenweg 44 is op te vragen op deze pagina.
De informatie over dit adres is afkomstig uit officiële overheidsregistraties, voornamelijk de Basisregistratie Adressen en Gebouwen (BAG) en de Basisregistratie Kadaster (BRK). Deze gegevens worden beheerd door respectievelijk gemeenten en het Kadaster, en worden regelmatig bijgewerkt. Energielabelgegevens komen uit de database van de Rijksdienst voor Ondernemend Nederland (RVO).
