
Hoevenweg 37 is gelegen in de plaats Dalfsen, de gemeente Dalfsen en de provincie Overijssel. De oppervlakte van het adres is 114 m². Dat is vergelijkbaar met het gemiddelde Nederlandse oppervlakte van 119 m². De oppervlakte van het perceel waarin het adres ligt is 3,4 ha. Het adres is klein vergeleken met andere objecten in de straat. Het grootste object in de straat heeft een oppervlakte van 533 m², het kleinste is 5 m² groot. In Nederland komt het grootste deel van de gebouwen uit de periode 1965-1984. Ook het bouwjaar van Hoevenweg 37 is afkomstig uit die periode: het betreft namelijk een pand uit 1970. Dit object is relatief nieuw in de straat. Het nieuwste gebouw komt er uit het jaar 2024 en het oudste uit het jaar 1880. De volgende gebruiksdoelen zijn geregistreerd voor dit adres: 'woonfunctie' en 'industriefunctie'.
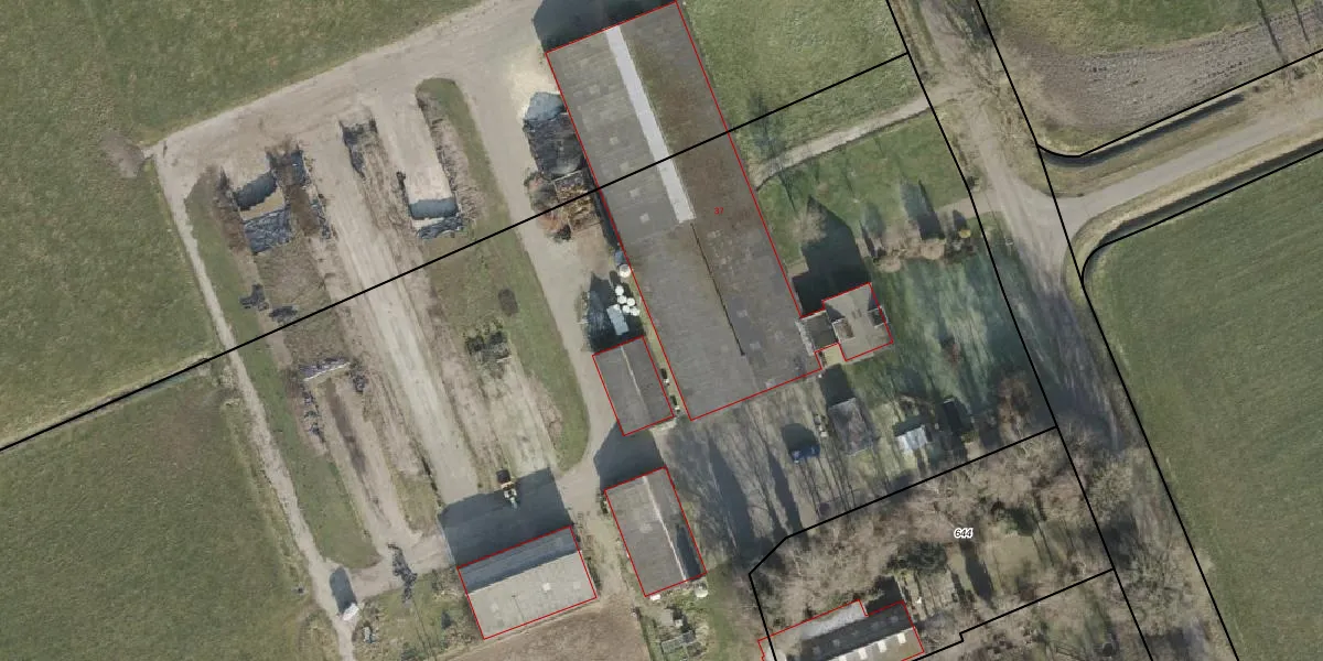
Het adres ligt op het perceel DSN01-N-677, dat zich in de kadastrale gemeente Dalfsen bevindt. De oppervlakte van het perceel is 3,4 ha. Dat is groter dan gemiddeld in Dalfsen, waar de gemiddelde perceeloppervlakte op 8537,04 m² ligt. Het grootste perceel in de kadastrale gemeente is 83,3 ha. Het kleinste perceel heeft een oppervlakte van 0 m². Op het perceel bevinden zich geen andere adressen. De laatste wijziging in het de Basisregistratie Kadaster (BRK) was op 17-10-2006.
Er is geen energielabel geregistreerd voor het adres. Het hoogste energielabel in de straat is A+++; het laagste is G. Het gemiddelde energielabel is er C. Het adres Hoevenweg 37 heeft als status: 'verblijfsobject in gebruik'. Het pand waarin dit adres ligt heeft als status: 'pand in gebruik'.
Hoevenweg 37 is een adres gelegen in de gemeente Dalfsen, provincie Overijssel. Dit adres is geregistreerd in de Basisregistratie Adressen en Gebouwen (BAG) met als unieke identificatie 0148010000003699.
Het pand op Hoevenweg 37 is gebouwd in 1970, wat betekent dat het 56 jaar oud is. Dit is een ouder pand. Het pand heeft mogelijk aanzienlijke renovaties nodig om aan de huidige standaarden te voldoen.
De woning op Hoevenweg 37 heeft een gebruiksoppervlakte van 114 m². Dit is onder het gemiddelde vergeleken met de gemiddelde Nederlandse woning, die een oppervlakte heeft van ongeveer 119 m². De gebruiksoppervlakte is de maat die wordt gebruikt in de BAG-registratie, de landelijke registratie van de Nederlandse overheid.
Hoevenweg 37 heeft als functie: wonen en industrie. Deze gebruiksfunctie(s) zijn vastgelegd in de BAG-registratie en geven aan waarvoor het adres officieel mag worden gebruikt.
Hoevenweg 37 is gelegen op kadastraal perceel DSN01N677. Deze kadastrale aanduiding is uniek en wordt gebruikt door het Kadaster om eigendomsrechten en andere zakelijke rechten vast te leggen. Het perceel maakt onderdeel uit van de kadastrale gemeente Dalfsen.
Het perceel waarop Hoevenweg 37 staat heeft een oppervlakte van 3,4 ha. Dit is een zeer groot perceel. De perceeloppervlakte wordt geregistreerd door het Kadaster. Gedetailleerde informatie over de maten van dit perceel kunt u vinden in het rapport Kadastrale kaart met maatvoering van Hoevenweg 37.
De eigenaar van Hoevenweg 37 is op te vragen op deze pagina.
De informatie over dit adres is afkomstig uit officiële overheidsregistraties, voornamelijk de Basisregistratie Adressen en Gebouwen (BAG) en de Basisregistratie Kadaster (BRK). Deze gegevens worden beheerd door respectievelijk gemeenten en het Kadaster, en worden regelmatig bijgewerkt. Energielabelgegevens komen uit de database van de Rijksdienst voor Ondernemend Nederland (RVO).
