
Het adres Weltevreden 6-A bevindt zich in de plaats De Bilt, in de gemeente De Bilt en de provincie Utrecht. De oppervlakte bedraagt 1454 m², waarmee het adres groter dan gemiddeld is. De grootte van het perceel waarop het adres ligt is 4600 m². De oppervlakte van dit adres is groot vergeleken met de oppervlaktes van andere adressen in de straat. De kleinste oppervlakte bedraagt er 6 m², de grootste 1521 m². In Nederland komt het grootste deel van de gebouwen uit de periode 1965-1984. Ook het bouwjaar van Weltevreden 6-A is afkomstig uit die periode: het betreft namelijk een pand uit 1971. Veel andere gebouwen in de straat zijn ouder dan dit pand. Het oudste pand komt uit het jaar 1750 en het nieuwste uit 1994. De volgende gebruiksdoelen zijn geregistreerd voor dit adres: 'onderwijsfunctie'.
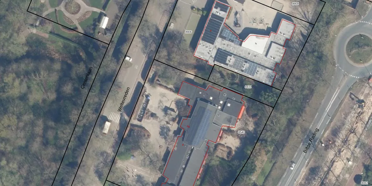
Het adres ligt op het perceel BIL01-D-8540, dat zich in de kadastrale gemeente De Bilt bevindt. De oppervlakte van het perceel is 4600 m². Dat is groter dan gemiddeld in De Bilt, waar de gemiddelde perceeloppervlakte op 2120,31 m² ligt. Het grootste perceel in de kadastrale gemeente is 77,4 ha. Het kleinste perceel heeft een oppervlakte van 0 m². Op het perceel zijn 2 adressen aanwezig. In de Basisregistratie Kadaster (BRK) werden de grenzen van het perceel geregistreerd op 23-06-2000.
Er is geen energielabel geregistreerd voor het adres. Het hoogste energielabel in de straat is A+++++; het laagste is G. Het gemiddelde energielabel is er B. Het adres Weltevreden 6-A heeft als status: 'verblijfsobject in gebruik'. Het pand waarin dit adres ligt heeft als status: 'pand in gebruik'.
Weltevreden 6-A is een adres gelegen in de gemeente De Bilt, provincie Utrecht. Dit adres is geregistreerd in de Basisregistratie Adressen en Gebouwen (BAG) met als unieke identificatie 0310010000724532.
Het pand op Weltevreden 6-A is gebouwd in 1971, wat betekent dat het 55 jaar oud is. Dit is een ouder pand. Het pand heeft mogelijk aanzienlijke renovaties nodig om aan de huidige standaarden te voldoen.
De woning op Weltevreden 6-A heeft een gebruiksoppervlakte van 1454 m². Dit is ruim vergeleken met de gemiddelde Nederlandse woning, die een oppervlakte heeft van ongeveer 119 m². De gebruiksoppervlakte is de maat die wordt gebruikt in de BAG-registratie, de landelijke registratie van de Nederlandse overheid.
Weltevreden 6-A heeft als functie: onderwijs. Deze gebruiksfunctie(s) zijn vastgelegd in de BAG-registratie en geven aan waarvoor het adres officieel mag worden gebruikt.
Weltevreden 6-A is gelegen op kadastraal perceel BIL01D8540. Deze kadastrale aanduiding is uniek en wordt gebruikt door het Kadaster om eigendomsrechten en andere zakelijke rechten vast te leggen. Het perceel maakt onderdeel uit van de kadastrale gemeente De Bilt.
Het perceel waarop Weltevreden 6-A staat heeft een oppervlakte van 4600 m². Dit is een zeer groot perceel. De perceeloppervlakte wordt geregistreerd door het Kadaster. Gedetailleerde informatie over de maten van dit perceel kunt u vinden in het rapport Kadastrale kaart met maatvoering van Weltevreden 6-A.
De eigenaar van Weltevreden 6-A is op te vragen op deze pagina.
De informatie over dit adres is afkomstig uit officiële overheidsregistraties, voornamelijk de Basisregistratie Adressen en Gebouwen (BAG) en de Basisregistratie Kadaster (BRK). Deze gegevens worden beheerd door respectievelijk gemeenten en het Kadaster, en worden regelmatig bijgewerkt. Energielabelgegevens komen uit de database van de Rijksdienst voor Ondernemend Nederland (RVO).
