
Het adres Pontweg 137 bevindt zich in de plaats De Koog, in de gemeente De Koog en de provincie Noord-Holland. De oppervlakte van het verblijfsobject is met 243 m² aan de grote kant. Het perceel heeft een oppervlakte van 9500 m². In vergelijking met de andere adressen in de straat is de oppervlakte van dit object relatief groot. Het grootste verblijfsobject heeft een oppervlakte van 937 m², de oppervlakte van het kleinste object bedraagt 26 m². Pontweg 137 ligt in een gebouw uit het jaar 2008. Daarmee behoort het tot de groep panden van na 1984, die we als relatief nieuw bestempelen. Dit object is relatief nieuw in de straat. Het nieuwste gebouw komt er uit het jaar 2025 en het oudste uit het jaar 1874. Het verblijfsobject heeft de volgende gebruiksdoelen: 'woonfunctie'.
Deze woning is voor het laatst verkocht op 1 april 2002. Meer informatie over deze transactie? Bestel het Woningtransactierapport om de verkoopprijs en andere informatie te zien.
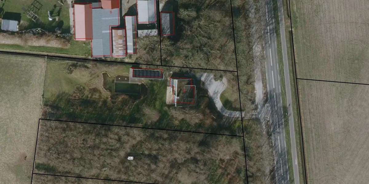
Het perceel waarop het adres ligt is TEL00-T-1479. De afkorting 'TEL00' staat voor kadastrale gemeente Texel. Het perceel is kleiner dan gemiddeld in Texel. Het perceel is 9500 m² groot, terwijl het gemiddelde ligt op 3,1 ha. Het grootste perceel in de kadastrale gemeente is 66,21 km². Het kleinste perceel heeft een oppervlakte van 0 m². Op het perceel bevinden zich geen andere adressen. In de Basisregistratie Kadaster (BRK) werden de grenzen van het perceel geregistreerd op 24-07-2014.
Er is geen energielabel geregistreerd voor het adres. Het hoogste energielabel in de straat is A++++; het laagste is G. Het gemiddelde energielabel is er B. Het adres Pontweg 137 heeft als status: 'verblijfsobject in gebruik'. Het pand waarin dit adres ligt heeft als status: 'pand in gebruik'.
Pontweg 137 is een adres gelegen in de gemeente Texel, provincie Noord-Holland. Dit adres is geregistreerd in de Basisregistratie Adressen en Gebouwen (BAG) met als unieke identificatie 0448010000010599.
Het pand op Pontweg 137 is gebouwd in 2008, wat betekent dat het 18 jaar oud is. Dit is een relatief modern pand. Ten opzichte van de nationale woningvoorraad is het pand relatief modern, maar er kunnen enkele verouderde elementen zijn die aandacht nodig hebben.
De woning op Pontweg 137 heeft een gebruiksoppervlakte van 243 m². Dit is ruim vergeleken met de gemiddelde Nederlandse woning, die een oppervlakte heeft van ongeveer 119 m². De gebruiksoppervlakte is de maat die wordt gebruikt in de BAG-registratie, de landelijke registratie van de Nederlandse overheid.
Pontweg 137 heeft als functie: wonen. Deze gebruiksfunctie(s) zijn vastgelegd in de BAG-registratie en geven aan waarvoor het adres officieel mag worden gebruikt.
Pontweg 137 is gelegen op kadastraal perceel TEL00T1479. Deze kadastrale aanduiding is uniek en wordt gebruikt door het Kadaster om eigendomsrechten en andere zakelijke rechten vast te leggen. Het perceel maakt onderdeel uit van de kadastrale gemeente Texel.
Het perceel waarop Pontweg 137 staat heeft een oppervlakte van 9500 m². Dit is een zeer groot perceel. De perceeloppervlakte wordt geregistreerd door het Kadaster. Gedetailleerde informatie over de maten van dit perceel kunt u vinden in het rapport Kadastrale kaart met maatvoering van Pontweg 137.
De eigenaar van Pontweg 137 is op te vragen op deze pagina.
De informatie over dit adres is afkomstig uit officiële overheidsregistraties, voornamelijk de Basisregistratie Adressen en Gebouwen (BAG) en de Basisregistratie Kadaster (BRK). Deze gegevens worden beheerd door respectievelijk gemeenten en het Kadaster, en worden regelmatig bijgewerkt. Energielabelgegevens komen uit de database van de Rijksdienst voor Ondernemend Nederland (RVO).
