
Hanekamseweg 19 is gelegen in de plaats De Mortel, de gemeente Gemert-Bakel en de provincie Noord-Brabant. De oppervlakte bedraagt 322 m², waarmee het adres groter dan gemiddeld is. De grootte van het perceel waarop het adres ligt is 771 m². De oppervlakte van dit adres is groot vergeleken met de oppervlaktes van andere adressen in de straat. De kleinste oppervlakte bedraagt er 200 m², de grootste 423 m². Hanekamseweg 19 ligt in een gebouw uit het jaar 1985. Daarmee behoort het tot de groep panden van na 1984, die we als relatief nieuw bestempelen. In de straat is dit het nieuwste pand en stamt het oudste object uit het jaar 1925. Het gemiddelde bouwjaar in de straat is 1968. Voor het verblijfsobject gelden deze gebruiksdoelen: 'woonfunctie' en 'industriefunctie'.
Deze woning is voor het laatst verkocht op 1 juni 2019. Meer informatie over deze transactie? Bestel het Woningtransactierapport om de verkoopprijs en andere informatie te zien.
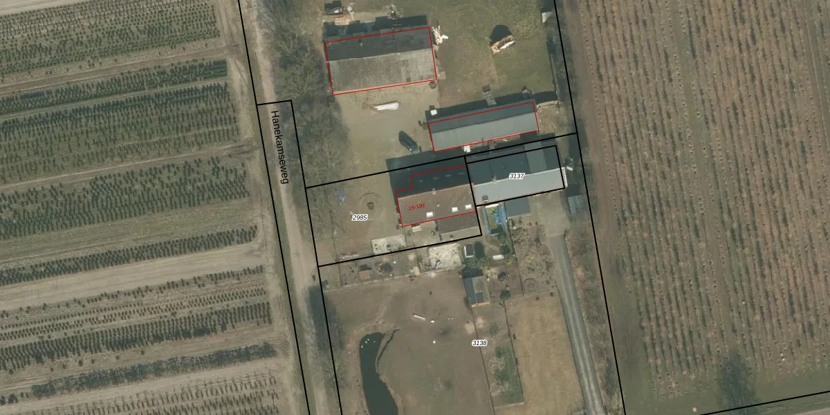
Het adres ligt op het perceel GMT00-O-2985, dat zich in de kadastrale gemeente Gemert bevindt. De gemiddelde perceelgrootte in Gemert is 4645,58 m². Dit perceel is kleiner: de perceeloppervlakte bedraagt 771 m². Het grootste perceel in de kadastrale gemeente is 67,8 ha. Het kleinste perceel heeft een oppervlakte van 0 m². Er zijn geen andere adressen aanwezig op het perceel. De laatste wijziging in het de Basisregistratie Kadaster (BRK) was op 10-05-2021.
Er is geen energielabel geregistreerd voor het adres. Het hoogste energielabel in de straat is G; het laagste is G. Het gemiddelde energielabel is er G. Het adres Hanekamseweg 19 heeft als status: 'verblijfsobject in gebruik'. Het pand waarin dit adres ligt heeft als status: 'pand in gebruik'.
Hanekamseweg 19 is een adres gelegen in de gemeente Gemert-Bakel, provincie Noord-Brabant. Dit adres is geregistreerd in de Basisregistratie Adressen en Gebouwen (BAG) met als unieke identificatie 1652010000002718.
Het pand op Hanekamseweg 19 is gebouwd in 1985, wat betekent dat het 41 jaar oud is. Dit is een pand van middelbare leeftijd. Het pand is van gemiddelde leeftijd en zal waarschijnlijk verouderde elementen bevatten.
De woning op Hanekamseweg 19 heeft een gebruiksoppervlakte van 322 m². Dit is ruim vergeleken met de gemiddelde Nederlandse woning, die een oppervlakte heeft van ongeveer 119 m². De gebruiksoppervlakte is de maat die wordt gebruikt in de BAG-registratie, de landelijke registratie van de Nederlandse overheid.
Hanekamseweg 19 heeft als functie: wonen en industrie. Deze gebruiksfunctie(s) zijn vastgelegd in de BAG-registratie en geven aan waarvoor het adres officieel mag worden gebruikt.
Hanekamseweg 19 is gelegen op kadastraal perceel GMT00O2985. Deze kadastrale aanduiding is uniek en wordt gebruikt door het Kadaster om eigendomsrechten en andere zakelijke rechten vast te leggen. Het perceel maakt onderdeel uit van de kadastrale gemeente Gemert.
Het perceel waarop Hanekamseweg 19 staat heeft een oppervlakte van 771 m². Dit is een groot perceel. De perceeloppervlakte wordt geregistreerd door het Kadaster. Gedetailleerde informatie over de maten van dit perceel kunt u vinden in het rapport Kadastrale kaart met maatvoering van Hanekamseweg 19.
De eigenaar van Hanekamseweg 19 is op te vragen op deze pagina.
De informatie over dit adres is afkomstig uit officiële overheidsregistraties, voornamelijk de Basisregistratie Adressen en Gebouwen (BAG) en de Basisregistratie Kadaster (BRK). Deze gegevens worden beheerd door respectievelijk gemeenten en het Kadaster, en worden regelmatig bijgewerkt. Energielabelgegevens komen uit de database van de Rijksdienst voor Ondernemend Nederland (RVO).
