
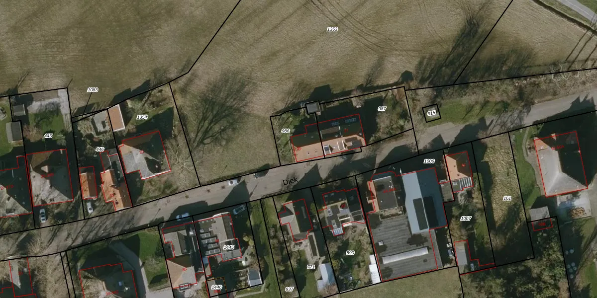
Het adres Diek 35 bevindt zich in de plaats Den Hoorn, in de gemeente Den Hoorn en de provincie Noord-Holland. De oppervlakte van het adres is 138 m². Dat is vergelijkbaar met het gemiddelde Nederlandse oppervlakte van 119 m². De oppervlakte van het perceel waarin het adres ligt is 260 m². Het adres is klein vergeleken met andere objecten in de straat. Het grootste object in de straat heeft een oppervlakte van 891 m², het kleinste is 20 m² groot. Het adres Diek 35 ligt in een relatief oud pand uit het jaar 1913. Panden van vóór het jaar 1965 hebben we hier geclassificeerd als oud. Dit object is relatief nieuw in de straat. Het nieuwste gebouw komt er uit het jaar 2011 en het oudste uit het jaar 1660. De volgende gebruiksdoelen zijn geregistreerd voor dit adres: 'woonfunctie'.
Deze woning is voor het laatst verkocht op 1 oktober 1996. Meer informatie over deze transactie? Bestel het Woningtransactierapport om de verkoopprijs en andere informatie te zien.
Het adres ligt op het perceel TEL00-P-986, dat zich in de kadastrale gemeente Texel bevindt. Het perceel is 260 m² groot. Dat is kleiner dan de gemiddelde perceeloppervlakte in Texel, dat op 3,1 ha ligt. De grootste perceeloppervlakte in de kadastrale gemeente is 66,21 km². De kleinste oppervlakte bedraagt 0 m². Op het perceel bevinden zich geen andere adressen. In de Basisregistratie Kadaster (BRK) werden de grenzen van het perceel geregistreerd op 07-01-2003.
Er is geen energielabel geregistreerd voor het adres. Het hoogste energielabel in de straat is A; het laagste is G. Het gemiddelde energielabel is er E. Het adres Diek 35 heeft als status: 'verblijfsobject in gebruik'. Het pand waarin dit adres ligt heeft als status: 'pand in gebruik'.
Diek 35 is een adres gelegen in de gemeente Texel, provincie Noord-Holland. Dit adres is geregistreerd in de Basisregistratie Adressen en Gebouwen (BAG) met als unieke identificatie 0448010000009514.
Het pand op Diek 35 is gebouwd in 1913, wat betekent dat het 113 jaar oud is. Dit is een ouder pand. Het pand heeft mogelijk aanzienlijke renovaties nodig om aan de huidige standaarden te voldoen.
De woning op Diek 35 heeft een gebruiksoppervlakte van 138 m². Dit is gemiddeld vergeleken met de gemiddelde Nederlandse woning, die een oppervlakte heeft van ongeveer 119 m². De gebruiksoppervlakte is de maat die wordt gebruikt in de BAG-registratie, de landelijke registratie van de Nederlandse overheid.
Diek 35 heeft als functie: wonen. Deze gebruiksfunctie(s) zijn vastgelegd in de BAG-registratie en geven aan waarvoor het adres officieel mag worden gebruikt.
Diek 35 is gelegen op kadastraal perceel TEL00P986. Deze kadastrale aanduiding is uniek en wordt gebruikt door het Kadaster om eigendomsrechten en andere zakelijke rechten vast te leggen. Het perceel maakt onderdeel uit van de kadastrale gemeente Texel.
Het perceel waarop Diek 35 staat heeft een oppervlakte van 260 m². Dit is een middelgroot perceel. De perceeloppervlakte wordt geregistreerd door het Kadaster. Gedetailleerde informatie over de maten van dit perceel kunt u vinden in het rapport Kadastrale kaart met maatvoering van Diek 35.
De eigenaar van Diek 35 is op te vragen op deze pagina.
De informatie over dit adres is afkomstig uit officiële overheidsregistraties, voornamelijk de Basisregistratie Adressen en Gebouwen (BAG) en de Basisregistratie Kadaster (BRK). Deze gegevens worden beheerd door respectievelijk gemeenten en het Kadaster, en worden regelmatig bijgewerkt. Energielabelgegevens komen uit de database van de Rijksdienst voor Ondernemend Nederland (RVO).
