
Het adres Zwolseweg 190-F-65 bevindt zich in de plaats Deventer, in de gemeente Deventer en de provincie Overijssel. De oppervlakte van het object bedraagt 31 m². Dat is klein vergeleken met het Nederlandse gemiddelde. Het perceel waarop het adres ligt is 7812 m² groot. De oppervlakte van het adres is klein vergeleken met de andere objecten in de straat. De oppervlakte van het kleinste object in de straat bedraagt 16 m², terwijl het grootste object 869 m² groot is. De meeste Nederlandse gebouwen zijn gebouwd in de periode 1965-1984. Zo ook het pand waarin Zwolseweg 190-F-65 ligt, dat gebouwd is in 1965. Veel andere gebouwen in de straat zijn ouder dan dit pand. Het oudste pand komt uit het jaar 1851 en het nieuwste uit 2024. Voor het verblijfsobject gelden deze gebruiksdoelen: 'woonfunctie'.
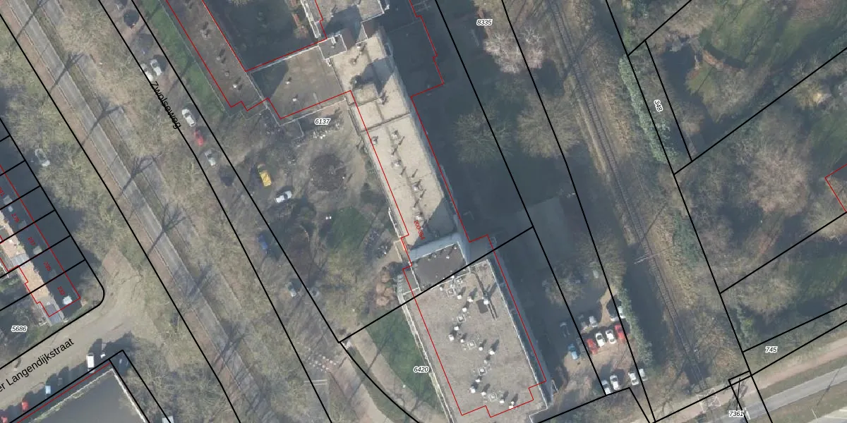
Het adres is gelegen op perceel 6137 in de sectie A en de kadastrale gemeente Deventer. De kadastrale aanduiding is aldus DVT00-A-6137. Het perceel is met 7812 m² relatief groot. Het gemiddelde ligt in de kadastrale gemeente Deventer op 1300,45 m². De grootste perceeloppervlakte in de kadastrale gemeente is 59,4 ha. De kleinste oppervlakte bedraagt 0 m². Op het perceel zijn 161 adressen aanwezig. In de Basisregistratie Kadaster (BRK) werden de grenzen van het perceel geregistreerd op 13-09-2006.
Het adres ligt in een gebouw van het type 'appartement met het subtype tussenmidden'. Bij de laatste meting is voor het adres het energielabel C geregistreerd. Het hoogste energielabel in de straat is A+++; het laagste is G. Het gemiddelde energielabel is er C. Het adres Zwolseweg 190-F-65 heeft als status: 'verblijfsobject in gebruik'. Het pand waarin dit adres ligt heeft als status: 'pand in gebruik'.
Zwolseweg 190-F-65 is een adres gelegen in de gemeente Deventer, provincie Overijssel. Dit adres is geregistreerd in de Basisregistratie Adressen en Gebouwen (BAG) met als unieke identificatie 0150010000050337.
Het pand op Zwolseweg 190-F-65 is gebouwd in 1965, wat betekent dat het 61 jaar oud is. Dit is een ouder pand. Het pand heeft mogelijk aanzienlijke renovaties nodig om aan de huidige standaarden te voldoen.
De woning op Zwolseweg 190-F-65 heeft een gebruiksoppervlakte van 31 m². Dit is relatief klein vergeleken met de gemiddelde Nederlandse woning, die een oppervlakte heeft van ongeveer 119 m². De gebruiksoppervlakte is de maat die wordt gebruikt in de BAG-registratie, de landelijke registratie van de Nederlandse overheid.
Zwolseweg 190-F-65 heeft als functie: wonen. Deze gebruiksfunctie(s) zijn vastgelegd in de BAG-registratie en geven aan waarvoor het adres officieel mag worden gebruikt.
Zwolseweg 190-F-65 is gelegen op kadastraal perceel DVT00A6137. Deze kadastrale aanduiding is uniek en wordt gebruikt door het Kadaster om eigendomsrechten en andere zakelijke rechten vast te leggen. Het perceel maakt onderdeel uit van de kadastrale gemeente Deventer.
Het perceel waarop Zwolseweg 190-F-65 staat heeft een oppervlakte van 7812 m². Dit is een zeer groot perceel. De perceeloppervlakte wordt geregistreerd door het Kadaster. Gedetailleerde informatie over de maten van dit perceel kunt u vinden in het rapport Kadastrale kaart met maatvoering van Zwolseweg 190-F-65.
De eigenaar van Zwolseweg 190-F-65 is op te vragen op deze pagina.
De informatie over dit adres is afkomstig uit officiële overheidsregistraties, voornamelijk de Basisregistratie Adressen en Gebouwen (BAG) en de Basisregistratie Kadaster (BRK). Deze gegevens worden beheerd door respectievelijk gemeenten en het Kadaster, en worden regelmatig bijgewerkt. Energielabelgegevens komen uit de database van de Rijksdienst voor Ondernemend Nederland (RVO).
