
Doesburgseweg 14 is gelegen in de plaats Didam, de gemeente Montferland en de provincie Gelderland. De oppervlakte van het verblijfsobject is met 186 m² aan de grote kant. Het perceel heeft een oppervlakte van 2390 m². Het object is klein ten opzichte van de andere adressen in de straat. Het grootste verblijfsobject is 1324 m² groot en het kleinste is 57 m². De gemiddelde bouwperiode van gebouwen in Nederland ligt tussen de jaren 1965-1984. Dat geldt ook voor het bouwjaar van Doesburgseweg 14: het is gebouwd in het jaar 1977. Dit object is relatief nieuw in de straat. Het nieuwste gebouw komt er uit het jaar 2017 en het oudste uit het jaar 1860. Voor het verblijfsobject gelden deze gebruiksdoelen: 'woonfunctie'.
Deze woning is voor het laatst verkocht op 1 mei 2016. Meer informatie over deze transactie? Bestel het Woningtransactierapport om de verkoopprijs en andere informatie te zien.
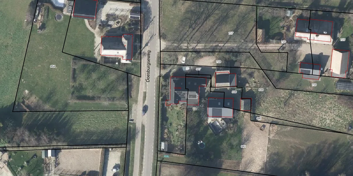
Het perceel waarop het adres ligt is DDM00-P-939. De afkorting 'DDM00' staat voor kadastrale gemeente Didam. De gemiddelde perceelgrootte in Didam is 3189,85 m². Dit perceel is kleiner: de perceeloppervlakte bedraagt 2390 m². Het kleinste perceel in de kadastrale gemeente is 0 m² groot. De grootste perceeloppervlakte is 42,6 ha. Op het perceel bevinden zich geen andere adressen. De laatste wijziging in het de Basisregistratie Kadaster (BRK) was op 20-04-2015.
Er is geen energielabel geregistreerd voor het adres. Het hoogste energielabel in de straat is A+; het laagste is G. Het gemiddelde energielabel is er B. Het adres Doesburgseweg 14 heeft als status: 'verblijfsobject in gebruik'. Het pand waarin dit adres ligt heeft als status: 'pand in gebruik'.
Doesburgseweg 14 is een adres gelegen in de gemeente Montferland, provincie Gelderland. Dit adres is geregistreerd in de Basisregistratie Adressen en Gebouwen (BAG) met als unieke identificatie 1955010000039114.
Het pand op Doesburgseweg 14 is gebouwd in 1977, wat betekent dat het 49 jaar oud is. Dit is een pand van middelbare leeftijd. Het pand is van gemiddelde leeftijd en zal waarschijnlijk verouderde elementen bevatten.
De woning op Doesburgseweg 14 heeft een gebruiksoppervlakte van 186 m². Dit is ruim vergeleken met de gemiddelde Nederlandse woning, die een oppervlakte heeft van ongeveer 119 m². De gebruiksoppervlakte is de maat die wordt gebruikt in de BAG-registratie, de landelijke registratie van de Nederlandse overheid.
Doesburgseweg 14 heeft als functie: wonen. Deze gebruiksfunctie(s) zijn vastgelegd in de BAG-registratie en geven aan waarvoor het adres officieel mag worden gebruikt.
Doesburgseweg 14 is gelegen op kadastraal perceel DDM00P939. Deze kadastrale aanduiding is uniek en wordt gebruikt door het Kadaster om eigendomsrechten en andere zakelijke rechten vast te leggen. Het perceel maakt onderdeel uit van de kadastrale gemeente Didam.
Het perceel waarop Doesburgseweg 14 staat heeft een oppervlakte van 2390 m². Dit is een zeer groot perceel. De perceeloppervlakte wordt geregistreerd door het Kadaster. Gedetailleerde informatie over de maten van dit perceel kunt u vinden in het rapport Kadastrale kaart met maatvoering van Doesburgseweg 14.
De eigenaar van Doesburgseweg 14 is op te vragen op deze pagina.
De informatie over dit adres is afkomstig uit officiële overheidsregistraties, voornamelijk de Basisregistratie Adressen en Gebouwen (BAG) en de Basisregistratie Kadaster (BRK). Deze gegevens worden beheerd door respectievelijk gemeenten en het Kadaster, en worden regelmatig bijgewerkt. Energielabelgegevens komen uit de database van de Rijksdienst voor Ondernemend Nederland (RVO).
