
De Heibloem 3 is gelegen in de plaats Diessen, de gemeente Hilvarenbeek en de provincie Noord-Brabant. De oppervlakte van het verblijfsobject is met 321 m² aan de grote kant. Het perceel heeft een oppervlakte van 495 m². Dit is het adres met de grootste oppervlakte van alle adressen in de straat. Gemiddeld hebben de objecten in de straat een oppervlakte van 198 m². De kleinste oppervlakte is er 74 m². In Nederland komt het grootste deel van de gebouwen uit de periode 1965-1984. Ook het bouwjaar van De Heibloem 3 is afkomstig uit die periode: het betreft namelijk een pand uit 1984. Dit pand is het meest recent exemplaar in de straat. Het oudste object komt er uit 1827 en het gemiddelde bouwjaar is 1906. De volgende gebruiksdoelen zijn geregistreerd voor dit adres: 'bijeenkomstfunctie'.
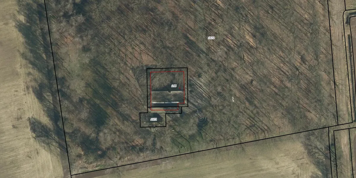
Het adres ligt op het perceel HVR00-Q-244, dat zich in de kadastrale gemeente Hilvarenbeek bevindt. Het perceel is 495 m² groot. Dat is kleiner dan de gemiddelde perceeloppervlakte in Hilvarenbeek, dat op 1,0 ha ligt. Het grootste perceel in de kadastrale gemeente is 3,92 km². Het kleinste perceel heeft een oppervlakte van 0 m². Op het perceel bevinden zich geen andere adressen. De laatste wijziging in het de Basisregistratie Kadaster (BRK) was op 28-12-2017.
Er is geen energielabel geregistreerd voor het adres. Het hoogste energielabel in de straat is G; het laagste is G. Het gemiddelde energielabel is er G. Het adres De Heibloem 3 heeft als status: 'verblijfsobject in gebruik'. Het pand waarin dit adres ligt heeft als status: 'pand in gebruik'.
De Heibloem 3 is een adres gelegen in de gemeente Hilvarenbeek, provincie Noord-Brabant. Dit adres is geregistreerd in de Basisregistratie Adressen en Gebouwen (BAG) met als unieke identificatie 0798010000000993.
Het pand op De Heibloem 3 is gebouwd in 1984, wat betekent dat het 42 jaar oud is. Dit is een pand van middelbare leeftijd. Het pand is van gemiddelde leeftijd en zal waarschijnlijk verouderde elementen bevatten.
De woning op De Heibloem 3 heeft een gebruiksoppervlakte van 321 m². Dit is ruim vergeleken met de gemiddelde Nederlandse woning, die een oppervlakte heeft van ongeveer 119 m². De gebruiksoppervlakte is de maat die wordt gebruikt in de BAG-registratie, de landelijke registratie van de Nederlandse overheid.
De Heibloem 3 heeft als functie: bijeenkomsten. Deze gebruiksfunctie(s) zijn vastgelegd in de BAG-registratie en geven aan waarvoor het adres officieel mag worden gebruikt.
De Heibloem 3 is gelegen op kadastraal perceel HVR00Q244. Deze kadastrale aanduiding is uniek en wordt gebruikt door het Kadaster om eigendomsrechten en andere zakelijke rechten vast te leggen. Het perceel maakt onderdeel uit van de kadastrale gemeente Hilvarenbeek.
Het perceel waarop De Heibloem 3 staat heeft een oppervlakte van 495 m². Dit is een groot perceel. De perceeloppervlakte wordt geregistreerd door het Kadaster. Gedetailleerde informatie over de maten van dit perceel kunt u vinden in het rapport Kadastrale kaart met maatvoering van De Heibloem 3.
De eigenaar van De Heibloem 3 is op te vragen op deze pagina.
De informatie over dit adres is afkomstig uit officiële overheidsregistraties, voornamelijk de Basisregistratie Adressen en Gebouwen (BAG) en de Basisregistratie Kadaster (BRK). Deze gegevens worden beheerd door respectievelijk gemeenten en het Kadaster, en worden regelmatig bijgewerkt. Energielabelgegevens komen uit de database van de Rijksdienst voor Ondernemend Nederland (RVO).
