
Hulleweg 5-B-01 is een adres in Doetinchem, dat zich bevindt binnen de gemeentegrenzen van Doetinchem en de grenzen van de provincie Gelderland. Het perceel waarop het adres gelegen is heeft een oppervlakte van 6950 m². Het verblijfsobject is met 47 m² relatief klein. Het adres is klein vergeleken met andere objecten in de straat. Het grootste object in de straat heeft een oppervlakte van 1576 m², het kleinste is 19 m² groot. Het gebouw waarin Hulleweg 5-B-01 ligt komt uit het jaar 1934. Objecten die gebouwd zijn vóór 1965 classificeren we hier als oud. Het bouwjaar is oud vergeleken met dat van de andere panden in de straat. Het oudste bouwjaar is er 1902 en de nieuwste is 2023. Het verblijfsobject heeft de volgende gebruiksdoelen: 'logiesfunctie'.
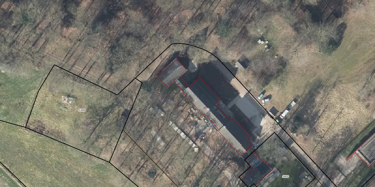
Het adres ligt op het perceel DTC01-L-5509, dat zich in de kadastrale gemeente Ambt-Doetinchem bevindt. De gemiddelde perceeloppervlakte in de kadastrale gemeente Ambt-Doetinchem is 2210,44 m². Dit perceel is met zijn 6950 m² dus groter dan gemiddeld. Het kleinste perceel in de kadastrale gemeente is 0 m² groot. De grootste perceeloppervlakte is 37,0 ha. Er zijn 9 adressen aanwezig op het perceel. De huidige grenzen van het perceel zijn digitaal in de Basisregistratie Kadaster (BRK) geregistreerd op 01-08-2025.
Er is geen energielabel geregistreerd voor het adres. Het hoogste energielabel in de straat is A; het laagste is G. Het gemiddelde energielabel is er C. Het adres Hulleweg 5-B-01 heeft als status: 'verblijfsobject gevormd'. Het pand waarin dit adres ligt heeft als status: 'verbouwing pand'.
Hulleweg 5-B-01 is een adres gelegen in de gemeente Doetinchem, provincie Gelderland. Dit adres is geregistreerd in de Basisregistratie Adressen en Gebouwen (BAG) met als unieke identificatie 0222010000691682.
Het pand op Hulleweg 5-B-01 is gebouwd in 1934, wat betekent dat het 92 jaar oud is. Dit is een ouder pand. Het pand heeft mogelijk aanzienlijke renovaties nodig om aan de huidige standaarden te voldoen.
De woning op Hulleweg 5-B-01 heeft een gebruiksoppervlakte van 47 m². Dit is relatief klein vergeleken met de gemiddelde Nederlandse woning, die een oppervlakte heeft van ongeveer 119 m². De gebruiksoppervlakte is de maat die wordt gebruikt in de BAG-registratie, de landelijke registratie van de Nederlandse overheid.
Hulleweg 5-B-01 heeft als functie: logies/verblijf. Deze gebruiksfunctie(s) zijn vastgelegd in de BAG-registratie en geven aan waarvoor het adres officieel mag worden gebruikt.
Hulleweg 5-B-01 is gelegen op kadastraal perceel DTC01L5509. Deze kadastrale aanduiding is uniek en wordt gebruikt door het Kadaster om eigendomsrechten en andere zakelijke rechten vast te leggen. Het perceel maakt onderdeel uit van de kadastrale gemeente Ambt-Doetinchem.
Het perceel waarop Hulleweg 5-B-01 staat heeft een oppervlakte van 6950 m². Dit is een zeer groot perceel. De perceeloppervlakte wordt geregistreerd door het Kadaster. Gedetailleerde informatie over de maten van dit perceel kunt u vinden in het rapport Kadastrale kaart met maatvoering van Hulleweg 5-B-01.
De eigenaar van Hulleweg 5-B-01 is op te vragen op deze pagina.
De informatie over dit adres is afkomstig uit officiële overheidsregistraties, voornamelijk de Basisregistratie Adressen en Gebouwen (BAG) en de Basisregistratie Kadaster (BRK). Deze gegevens worden beheerd door respectievelijk gemeenten en het Kadaster, en worden regelmatig bijgewerkt. Energielabelgegevens komen uit de database van de Rijksdienst voor Ondernemend Nederland (RVO).
