
Stadskwekerij 19 is gelegen in de plaats Doetinchem, de gemeente Doetinchem en de provincie Gelderland. Het verblijfsobject is 138 m² groot en bevindt zich op een perceel met een oppervlakte van 554 m². Gemiddeld hebben adressen in Nederland een oppervlakte van 119 m². De oppervlakte van dit adres is groot vergeleken met de oppervlaktes van andere adressen in de straat. De kleinste oppervlakte bedraagt er 19 m², de grootste 315 m². Het pand waarin Stadskwekerij 19 ligt is gebouwd in het jaar 2026. Panden die gebouwd zijn na het jaar 1984 noemen we hier relatief nieuw. Het gemiddelde bouwjaar in de straat is 2025 en dat van het oudste pand is 2023. Dit is het nieuwste object in de straat. De volgende gebruiksdoelen zijn geregistreerd voor dit adres: 'woonfunctie'.
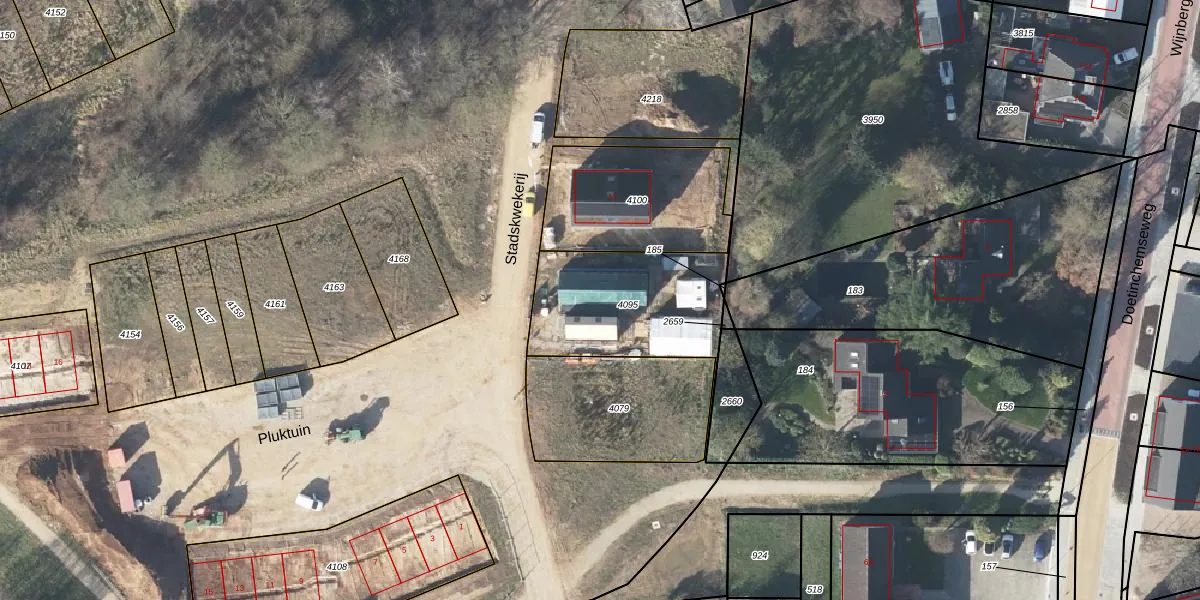
Het adres ligt op het perceel DTC02-B-4095, dat zich in de kadastrale gemeente Stad-Doetinchem bevindt. Het perceel is 554 m² groot. Dat is kleiner dan de gemiddelde perceeloppervlakte in Stad-Doetinchem, dat op 583,44 m² ligt. Het kleinste perceel in de kadastrale gemeente is 0 m² groot. De grootste perceeloppervlakte is 6,3 ha. Dit is het enige adres dat aanwezig is op het perceel. De laatste wijziging in het de Basisregistratie Kadaster (BRK) was op 15-05-2024.
Er is geen energielabel geregistreerd voor het adres. Het hoogste energielabel in de straat is A+++; het laagste is G. Het gemiddelde energielabel is er A+++. Het adres Stadskwekerij 19 heeft als status: 'verblijfsobject in gebruik'. Het pand waarin dit adres ligt heeft als status: 'pand in gebruik'.
Stadskwekerij 19 is een adres gelegen in de gemeente Doetinchem, provincie Gelderland. Dit adres is geregistreerd in de Basisregistratie Adressen en Gebouwen (BAG) met als unieke identificatie 0222010000690767.
Het pand op Stadskwekerij 19 is gebouwd in 2026, wat betekent dat het 0 jaar oud is. Dit is een vrij nieuw pand. Het pand is dus waarschijnlijk goed geïsoleerd, geluidsdicht en voldoet aan de huidige bouwstandaarden. Op korte termijn zijn er waarschijnlijk weinig onderhoudskosten.
De woning op Stadskwekerij 19 heeft een gebruiksoppervlakte van 138 m². Dit is gemiddeld vergeleken met de gemiddelde Nederlandse woning, die een oppervlakte heeft van ongeveer 119 m². De gebruiksoppervlakte is de maat die wordt gebruikt in de BAG-registratie, de landelijke registratie van de Nederlandse overheid.
Stadskwekerij 19 heeft als functie: wonen. Deze gebruiksfunctie(s) zijn vastgelegd in de BAG-registratie en geven aan waarvoor het adres officieel mag worden gebruikt.
Stadskwekerij 19 is gelegen op kadastraal perceel DTC02B4095. Deze kadastrale aanduiding is uniek en wordt gebruikt door het Kadaster om eigendomsrechten en andere zakelijke rechten vast te leggen. Het perceel maakt onderdeel uit van de kadastrale gemeente Stad-Doetinchem.
Het perceel waarop Stadskwekerij 19 staat heeft een oppervlakte van 554 m². Dit is een groot perceel. De perceeloppervlakte wordt geregistreerd door het Kadaster. Gedetailleerde informatie over de maten van dit perceel kunt u vinden in het rapport Kadastrale kaart met maatvoering van Stadskwekerij 19.
De eigenaar van Stadskwekerij 19 is op te vragen op deze pagina.
De informatie over dit adres is afkomstig uit officiële overheidsregistraties, voornamelijk de Basisregistratie Adressen en Gebouwen (BAG) en de Basisregistratie Kadaster (BRK). Deze gegevens worden beheerd door respectievelijk gemeenten en het Kadaster, en worden regelmatig bijgewerkt. Energielabelgegevens komen uit de database van de Rijksdienst voor Ondernemend Nederland (RVO).
