
Boylerstraat 12-15 is gelegen in de plaats Doldersum, de gemeente Westerveld en de provincie Drenthe. Het verblijfsobject is vergeleken met het Nederlandse gemiddelde aan de kleine kant: de oppervlakte is 34 m². Het perceel waarop het adres zich bevindt heeft een oppervlakte van 318 m². Er zijn geen kleinere objecten in deze straat. De gemiddelde oppervlakte is er 93 m². Het grootste verblijfsobject is 619 m². Boylerstraat 12-15 ligt in een gebouw uit het jaar 2006. Daarmee behoort het tot de groep panden van na 1984, die we als relatief nieuw bestempelen. Dit object is relatief nieuw in de straat. Het nieuwste gebouw komt er uit het jaar 2022 en het oudste uit het jaar 1930. De volgende gebruiksdoelen zijn geregistreerd voor dit adres: 'logiesfunctie'.
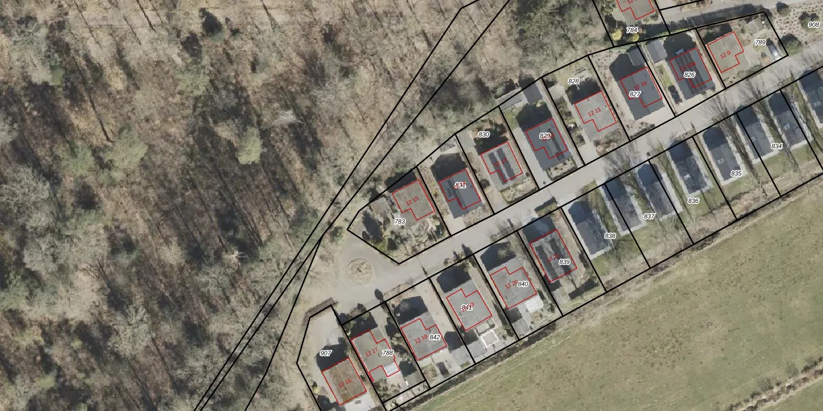
Het adres ligt op het perceel VDR00-G-783, dat zich in de kadastrale gemeente Vledder bevindt. Het perceel is 318 m² groot. Dat is kleiner dan de gemiddelde perceeloppervlakte in Vledder, dat op 1,2 ha ligt. Het grootste perceel in de kadastrale gemeente is 1,20 km². Het kleinste perceel heeft een oppervlakte van 0 m². Op het perceel bevinden zich geen andere adressen. De laatste wijziging in het de Basisregistratie Kadaster (BRK) was op 10-10-2008.
Er is geen energielabel geregistreerd voor het adres. Het hoogste energielabel in de straat is A; het laagste is G. Het gemiddelde energielabel is er A. Het adres Boylerstraat 12-15 heeft als status: 'verblijfsobject in gebruik'. Het pand waarin dit adres ligt heeft als status: 'pand in gebruik'.
Boylerstraat 12-15 is een adres gelegen in de gemeente Westerveld, provincie Drenthe. Dit adres is geregistreerd in de Basisregistratie Adressen en Gebouwen (BAG) met als unieke identificatie 1701010000218725.
Het pand op Boylerstraat 12-15 is gebouwd in 2006, wat betekent dat het 20 jaar oud is. Dit is een relatief modern pand. Ten opzichte van de nationale woningvoorraad is het pand relatief modern, maar er kunnen enkele verouderde elementen zijn die aandacht nodig hebben.
De woning op Boylerstraat 12-15 heeft een gebruiksoppervlakte van 34 m². Dit is relatief klein vergeleken met de gemiddelde Nederlandse woning, die een oppervlakte heeft van ongeveer 119 m². De gebruiksoppervlakte is de maat die wordt gebruikt in de BAG-registratie, de landelijke registratie van de Nederlandse overheid.
Boylerstraat 12-15 heeft als functie: logies/verblijf. Deze gebruiksfunctie(s) zijn vastgelegd in de BAG-registratie en geven aan waarvoor het adres officieel mag worden gebruikt.
Boylerstraat 12-15 is gelegen op kadastraal perceel VDR00G783. Deze kadastrale aanduiding is uniek en wordt gebruikt door het Kadaster om eigendomsrechten en andere zakelijke rechten vast te leggen. Het perceel maakt onderdeel uit van de kadastrale gemeente Vledder.
Het perceel waarop Boylerstraat 12-15 staat heeft een oppervlakte van 318 m². Dit is een groot perceel. De perceeloppervlakte wordt geregistreerd door het Kadaster. Gedetailleerde informatie over de maten van dit perceel kunt u vinden in het rapport Kadastrale kaart met maatvoering van Boylerstraat 12-15.
De eigenaar van Boylerstraat 12-15 is op te vragen op deze pagina.
De informatie over dit adres is afkomstig uit officiële overheidsregistraties, voornamelijk de Basisregistratie Adressen en Gebouwen (BAG) en de Basisregistratie Kadaster (BRK). Deze gegevens worden beheerd door respectievelijk gemeenten en het Kadaster, en worden regelmatig bijgewerkt. Energielabelgegevens komen uit de database van de Rijksdienst voor Ondernemend Nederland (RVO).
