
De Heiningen 21 is een adres in Dorst, dat zich bevindt binnen de gemeentegrenzen van Dorst en de grenzen van de provincie Noord-Brabant. De oppervlakte van het verblijfsobject is met 196 m² aan de grote kant. Het perceel heeft een oppervlakte van 1188 m². De oppervlakte van dit adres is groot vergeleken met de oppervlaktes van andere adressen in de straat. De kleinste oppervlakte bedraagt er 119 m², de grootste 202 m². De Heiningen 21 ligt in een gebouw uit het jaar 2007. Daarmee behoort het tot de groep panden van na 1984, die we als relatief nieuw bestempelen. Dit pand is het meest recent exemplaar in de straat. Het oudste object komt er uit 1969 en het gemiddelde bouwjaar is 1976. Het verblijfsobject heeft de volgende gebruiksdoelen: 'woonfunctie'.
Deze woning is voor het laatst verkocht op 1 augustus 2023. Meer informatie over deze transactie? Bestel het Woningtransactierapport om de verkoopprijs en andere informatie te zien.
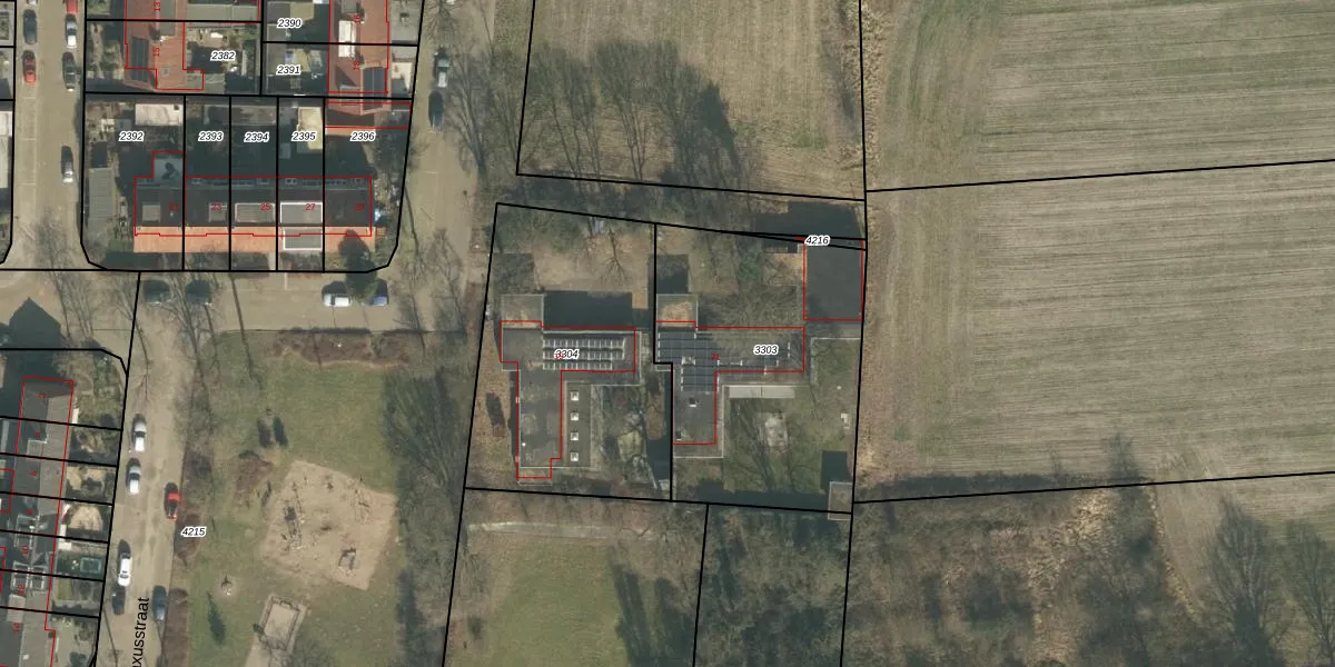
Het adres ligt op het perceel OTH01-K-3303, dat zich in de kadastrale gemeente Oosterhout bevindt. Het perceel is kleiner dan gemiddeld in Oosterhout. Het perceel is 1188 m² groot, terwijl het gemiddelde ligt op 2771,27 m². Het grootste perceel in de kadastrale gemeente is 75,9 ha. Het kleinste perceel heeft een oppervlakte van 0 m². Op het perceel bevinden zich geen andere adressen. De huidige grenzen van het perceel zijn digitaal in de Basisregistratie Kadaster (BRK) geregistreerd op 06-02-2024.
Het adres ligt in een gebouw van het type 'vrijstaande woning'. Bij de laatste meting is voor het adres het energielabel A++ geregistreerd. Het hoogste energielabel in de straat is A++; het laagste is G. Het gemiddelde energielabel is er B. Het adres De Heiningen 21 heeft als status: 'verblijfsobject in gebruik'. Het pand waarin dit adres ligt heeft als status: 'pand in gebruik'.
De Heiningen 21 is een adres gelegen in de gemeente Oosterhout, provincie Noord-Brabant. Dit adres is geregistreerd in de Basisregistratie Adressen en Gebouwen (BAG) met als unieke identificatie 0826010000004463.
Het pand op De Heiningen 21 is gebouwd in 2007, wat betekent dat het 19 jaar oud is. Dit is een relatief modern pand. Ten opzichte van de nationale woningvoorraad is het pand relatief modern, maar er kunnen enkele verouderde elementen zijn die aandacht nodig hebben.
De woning op De Heiningen 21 heeft een gebruiksoppervlakte van 196 m². Dit is ruim vergeleken met de gemiddelde Nederlandse woning, die een oppervlakte heeft van ongeveer 119 m². De gebruiksoppervlakte is de maat die wordt gebruikt in de BAG-registratie, de landelijke registratie van de Nederlandse overheid.
De Heiningen 21 heeft als functie: wonen. Deze gebruiksfunctie(s) zijn vastgelegd in de BAG-registratie en geven aan waarvoor het adres officieel mag worden gebruikt.
De Heiningen 21 is gelegen op kadastraal perceel OTH01K3303. Deze kadastrale aanduiding is uniek en wordt gebruikt door het Kadaster om eigendomsrechten en andere zakelijke rechten vast te leggen. Het perceel maakt onderdeel uit van de kadastrale gemeente Oosterhout.
Het perceel waarop De Heiningen 21 staat heeft een oppervlakte van 1188 m². Dit is een zeer groot perceel. De perceeloppervlakte wordt geregistreerd door het Kadaster. Gedetailleerde informatie over de maten van dit perceel kunt u vinden in het rapport Kadastrale kaart met maatvoering van De Heiningen 21.
De eigenaar van De Heiningen 21 is op te vragen op deze pagina.
De informatie over dit adres is afkomstig uit officiële overheidsregistraties, voornamelijk de Basisregistratie Adressen en Gebouwen (BAG) en de Basisregistratie Kadaster (BRK). Deze gegevens worden beheerd door respectievelijk gemeenten en het Kadaster, en worden regelmatig bijgewerkt. Energielabelgegevens komen uit de database van de Rijksdienst voor Ondernemend Nederland (RVO).
