
Ensinkweg 26 is gelegen in de plaats Eefde, de gemeente Lochem en de provincie Gelderland. De oppervlakte van het object bedraagt 67 m². Dat is klein vergeleken met het Nederlandse gemiddelde. Het perceel waarop het adres ligt is 2280 m² groot. Het adres is klein vergeleken met andere objecten in de straat. Het grootste object in de straat heeft een oppervlakte van 154 m², het kleinste is 57 m² groot. De meeste Nederlandse gebouwen zijn gebouwd in de periode 1965-1984. Zo ook het pand waarin Ensinkweg 26 ligt, dat gebouwd is in 1984. In de straat is dit het nieuwste pand en stamt het oudste object uit het jaar 1964. Het gemiddelde bouwjaar in de straat is 1981. Het verblijfsobject heeft de volgende gebruiksdoelen: 'woonfunctie'.
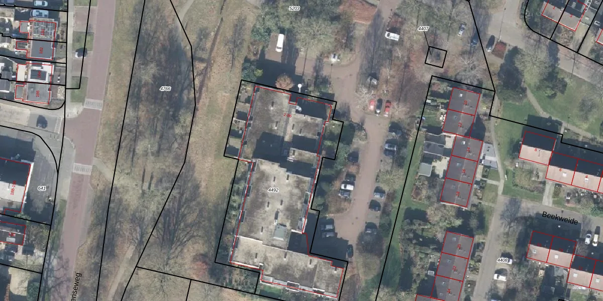
Het adres ligt op het perceel GSL01-C-4492, dat zich in de kadastrale gemeente Gorssel bevindt. Het perceel is kleiner dan gemiddeld in Gorssel. Het perceel is 2280 m² groot, terwijl het gemiddelde ligt op 5926,54 m². De grootste perceeloppervlakte in de kadastrale gemeente is 69,8 ha. De kleinste oppervlakte bedraagt 0 m². Op het perceel zijn 43 adressen aanwezig. De laatste wijziging in het de Basisregistratie Kadaster (BRK) was op 05-10-2004.
Het adres ligt in een gebouw van het type 'flatwoning (overig) met het subtype hoekvloer'. Bij de laatste meting is voor het adres het energielabel C geregistreerd. Het hoogste energielabel in de straat is A; het laagste is G. Het gemiddelde energielabel is er C. Het adres Ensinkweg 26 heeft als status: 'verblijfsobject in gebruik'. Het pand waarin dit adres ligt heeft als status: 'pand in gebruik'.
Ensinkweg 26 is een adres gelegen in de gemeente Lochem, provincie Gelderland. Dit adres is geregistreerd in de Basisregistratie Adressen en Gebouwen (BAG) met als unieke identificatie 0262010000001745.
Het pand op Ensinkweg 26 is gebouwd in 1984, wat betekent dat het 42 jaar oud is. Dit is een pand van middelbare leeftijd. Het pand is van gemiddelde leeftijd en zal waarschijnlijk verouderde elementen bevatten.
De woning op Ensinkweg 26 heeft een gebruiksoppervlakte van 67 m². Dit is relatief klein vergeleken met de gemiddelde Nederlandse woning, die een oppervlakte heeft van ongeveer 119 m². De gebruiksoppervlakte is de maat die wordt gebruikt in de BAG-registratie, de landelijke registratie van de Nederlandse overheid.
Ensinkweg 26 heeft als functie: wonen. Deze gebruiksfunctie(s) zijn vastgelegd in de BAG-registratie en geven aan waarvoor het adres officieel mag worden gebruikt.
Ensinkweg 26 is gelegen op kadastraal perceel GSL01C4492. Deze kadastrale aanduiding is uniek en wordt gebruikt door het Kadaster om eigendomsrechten en andere zakelijke rechten vast te leggen. Het perceel maakt onderdeel uit van de kadastrale gemeente Gorssel.
Het perceel waarop Ensinkweg 26 staat heeft een oppervlakte van 2280 m². Dit is een zeer groot perceel. De perceeloppervlakte wordt geregistreerd door het Kadaster. Gedetailleerde informatie over de maten van dit perceel kunt u vinden in het rapport Kadastrale kaart met maatvoering van Ensinkweg 26.
De eigenaar van Ensinkweg 26 is op te vragen op deze pagina.
De informatie over dit adres is afkomstig uit officiële overheidsregistraties, voornamelijk de Basisregistratie Adressen en Gebouwen (BAG) en de Basisregistratie Kadaster (BRK). Deze gegevens worden beheerd door respectievelijk gemeenten en het Kadaster, en worden regelmatig bijgewerkt. Energielabelgegevens komen uit de database van de Rijksdienst voor Ondernemend Nederland (RVO).
