
Bruilweering 116 is een adres in Eelderwolde, dat zich bevindt binnen de gemeentegrenzen van Eelderwolde en de grenzen van de provincie Drenthe. De oppervlakte van het object bedraagt 55 m². Dat is klein vergeleken met het Nederlandse gemiddelde. Het perceel waarop het adres ligt is 3240 m² groot. De oppervlakte van het adres is klein vergeleken met de andere objecten in de straat. De oppervlakte van het kleinste object in de straat bedraagt 7 m², terwijl het grootste object 464 m² groot is. Bruilweering 116 ligt in een gebouw uit het jaar 1992. Daarmee behoort het tot de groep panden van na 1984, die we als relatief nieuw bestempelen. In de straat komt het nieuwste gebouw uit het jaar 2026 en het oudste uit 1950. Het bouwjaar van dit object is relatief oud. De volgende gebruiksdoelen zijn geregistreerd voor dit adres: 'logiesfunctie'.
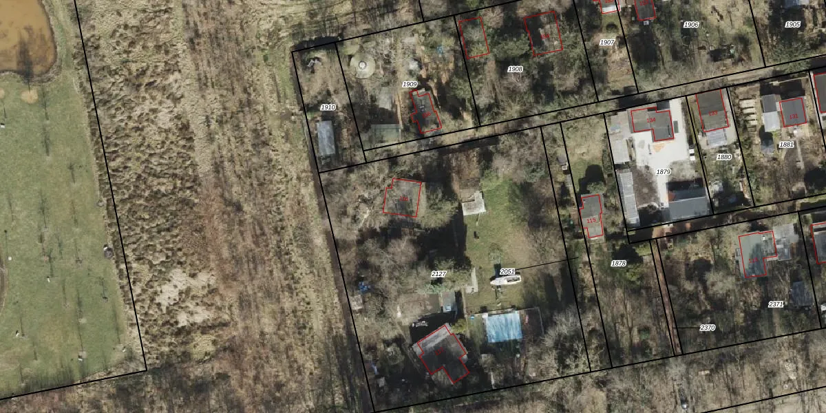
Het adres is gelegen op perceel 2127 in de sectie A en de kadastrale gemeente Eelde. De kadastrale aanduiding is aldus EDE02-A-2127. De oppervlakte van het perceel is 3240 m². Dat is groter dan gemiddeld in Eelde, waar de gemiddelde perceeloppervlakte op 2986,87 m² ligt. Het grootste perceel in de kadastrale gemeente is 91,4 ha. Het kleinste perceel heeft een oppervlakte van 0 m². Op het perceel zijn 2 adressen aanwezig. De huidige grenzen van het perceel zijn digitaal in de Basisregistratie Kadaster (BRK) geregistreerd op 01-03-2005.
Er is geen energielabel geregistreerd voor het adres. Het hoogste energielabel in de straat is C; het laagste is G. Het gemiddelde energielabel is er D. Het adres Bruilweering 116 heeft als status: 'verblijfsobject in gebruik'. Het pand waarin dit adres ligt heeft als status: 'pand in gebruik'.
Bruilweering 116 is een adres gelegen in de gemeente Tynaarlo, provincie Drenthe. Dit adres is geregistreerd in de Basisregistratie Adressen en Gebouwen (BAG) met als unieke identificatie 1730010000019728.
Het pand op Bruilweering 116 is gebouwd in 1992, wat betekent dat het 34 jaar oud is. Dit is een pand van middelbare leeftijd. Het pand is van gemiddelde leeftijd en zal waarschijnlijk verouderde elementen bevatten.
De woning op Bruilweering 116 heeft een gebruiksoppervlakte van 55 m². Dit is relatief klein vergeleken met de gemiddelde Nederlandse woning, die een oppervlakte heeft van ongeveer 119 m². De gebruiksoppervlakte is de maat die wordt gebruikt in de BAG-registratie, de landelijke registratie van de Nederlandse overheid.
Bruilweering 116 heeft als functie: logies/verblijf. Deze gebruiksfunctie(s) zijn vastgelegd in de BAG-registratie en geven aan waarvoor het adres officieel mag worden gebruikt.
Bruilweering 116 is gelegen op kadastraal perceel EDE02A2127. Deze kadastrale aanduiding is uniek en wordt gebruikt door het Kadaster om eigendomsrechten en andere zakelijke rechten vast te leggen. Het perceel maakt onderdeel uit van de kadastrale gemeente Eelde.
Het perceel waarop Bruilweering 116 staat heeft een oppervlakte van 3240 m². Dit is een zeer groot perceel. De perceeloppervlakte wordt geregistreerd door het Kadaster. Gedetailleerde informatie over de maten van dit perceel kunt u vinden in het rapport Kadastrale kaart met maatvoering van Bruilweering 116.
De eigenaar van Bruilweering 116 is op te vragen op deze pagina.
De informatie over dit adres is afkomstig uit officiële overheidsregistraties, voornamelijk de Basisregistratie Adressen en Gebouwen (BAG) en de Basisregistratie Kadaster (BRK). Deze gegevens worden beheerd door respectievelijk gemeenten en het Kadaster, en worden regelmatig bijgewerkt. Energielabelgegevens komen uit de database van de Rijksdienst voor Ondernemend Nederland (RVO).
