
Hoofdstraat 55 is een adres in Een, dat zich bevindt binnen de gemeentegrenzen van Een en de grenzen van de provincie Drenthe. Het object heeft een oppervlakte van 271 m², wat relatief groot is. Het perceel waarop het adres ligt is 5740 m² groot. In vergelijking met de andere adressen in de straat is de oppervlakte van dit object relatief groot. Het grootste verblijfsobject heeft een oppervlakte van 935 m², de oppervlakte van het kleinste object bedraagt 7 m². Hoofdstraat 55 ligt in een gebouw uit het jaar 2016. Daarmee behoort het tot de groep panden van na 1984, die we als relatief nieuw bestempelen. Vergeleken met de andere panden in de straat is dit gebouw nieuw. Het vroegste bouwjaar is er 1798 en het laatste is 2023. Voor het verblijfsobject gelden deze gebruiksdoelen: 'woonfunctie'.
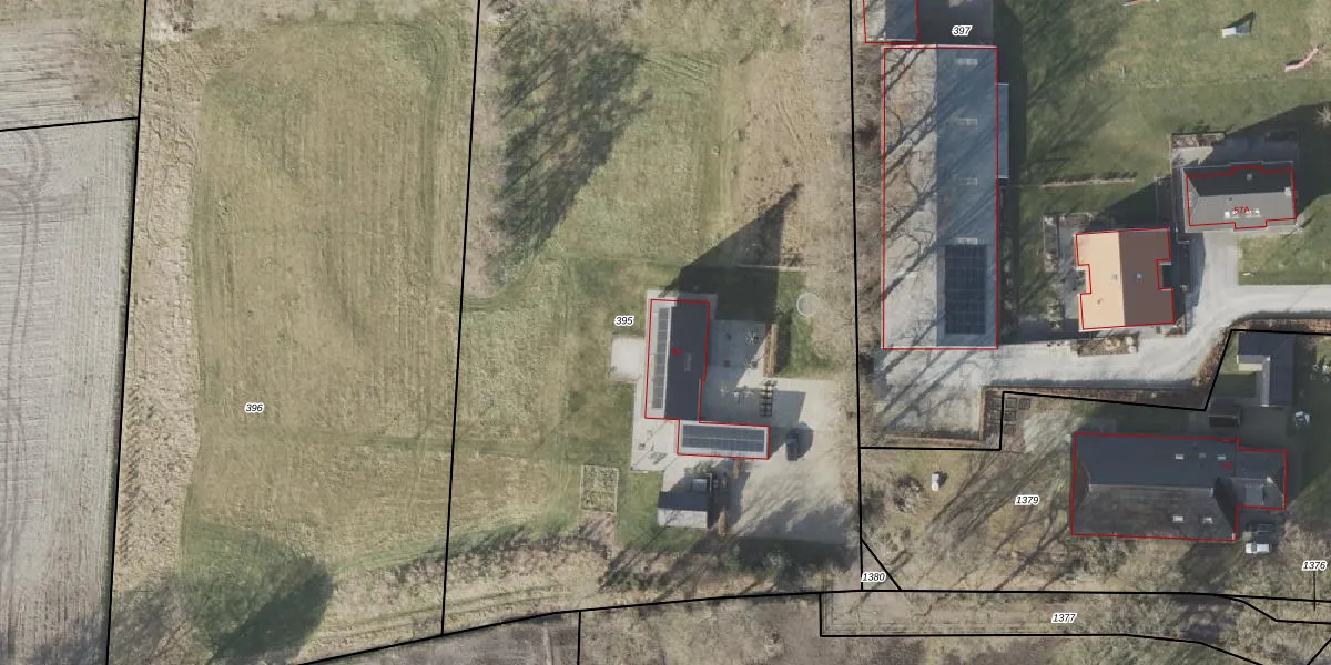
Het perceel waarop het adres ligt is NOR00-X-395. De afkorting 'NOR00' staat voor kadastrale gemeente Norg. De gemiddelde perceelgrootte in Norg is 1,4 ha. Dit perceel is kleiner: de perceeloppervlakte bedraagt 5740 m². Het grootste perceel in de kadastrale gemeente is 1,59 km². Het kleinste perceel heeft een oppervlakte van 1 m². Dit is het enige adres dat aanwezig is op het perceel. De huidige grenzen van het perceel zijn digitaal in de Basisregistratie Kadaster (BRK) geregistreerd op 04-12-2018.
Er is geen energielabel geregistreerd voor het adres. Het hoogste energielabel in de straat is A+++; het laagste is G. Het gemiddelde energielabel is er D. Het adres Hoofdstraat 55 heeft als status: 'verblijfsobject in gebruik'. Het pand waarin dit adres ligt heeft als status: 'pand in gebruik'.
Hoofdstraat 55 is een adres gelegen in de gemeente Noordenveld, provincie Drenthe. Dit adres is geregistreerd in de Basisregistratie Adressen en Gebouwen (BAG) met als unieke identificatie 1699010000017357.
Het pand op Hoofdstraat 55 is gebouwd in 2016, wat betekent dat het 10 jaar oud is. Dit is een relatief modern pand. Ten opzichte van de nationale woningvoorraad is het pand relatief modern, maar er kunnen enkele verouderde elementen zijn die aandacht nodig hebben.
De woning op Hoofdstraat 55 heeft een gebruiksoppervlakte van 271 m². Dit is ruim vergeleken met de gemiddelde Nederlandse woning, die een oppervlakte heeft van ongeveer 119 m². De gebruiksoppervlakte is de maat die wordt gebruikt in de BAG-registratie, de landelijke registratie van de Nederlandse overheid.
Hoofdstraat 55 heeft als functie: wonen. Deze gebruiksfunctie(s) zijn vastgelegd in de BAG-registratie en geven aan waarvoor het adres officieel mag worden gebruikt.
Hoofdstraat 55 is gelegen op kadastraal perceel NOR00X395. Deze kadastrale aanduiding is uniek en wordt gebruikt door het Kadaster om eigendomsrechten en andere zakelijke rechten vast te leggen. Het perceel maakt onderdeel uit van de kadastrale gemeente Norg.
Het perceel waarop Hoofdstraat 55 staat heeft een oppervlakte van 5740 m². Dit is een zeer groot perceel. De perceeloppervlakte wordt geregistreerd door het Kadaster. Gedetailleerde informatie over de maten van dit perceel kunt u vinden in het rapport Kadastrale kaart met maatvoering van Hoofdstraat 55.
De eigenaar van Hoofdstraat 55 is op te vragen op deze pagina.
De informatie over dit adres is afkomstig uit officiële overheidsregistraties, voornamelijk de Basisregistratie Adressen en Gebouwen (BAG) en de Basisregistratie Kadaster (BRK). Deze gegevens worden beheerd door respectievelijk gemeenten en het Kadaster, en worden regelmatig bijgewerkt. Energielabelgegevens komen uit de database van de Rijksdienst voor Ondernemend Nederland (RVO).
