
Het adres Voort 2 bevindt zich in de plaats Eersel, in de gemeente Eersel en de provincie Noord-Brabant. De oppervlakte bedraagt 249 m², waarmee het adres groter dan gemiddeld is. De grootte van het perceel waarop het adres ligt is 1035 m². Het adres is klein vergeleken met andere objecten in de straat. Het grootste object in de straat heeft een oppervlakte van 1076 m², het kleinste is 152 m² groot. Het pand waarin Voort 2 ligt is gebouwd in het jaar 1988. Panden die gebouwd zijn na het jaar 1984 noemen we hier relatief nieuw. Veel andere gebouwen in de straat zijn ouder dan dit pand. Het oudste pand komt uit het jaar 1920 en het nieuwste uit 1999. De volgende gebruiksdoelen zijn geregistreerd voor dit adres: 'woonfunctie'.
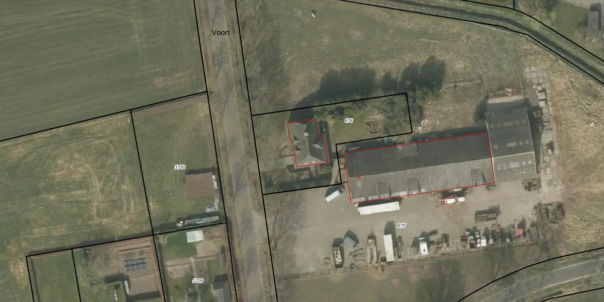
Het adres ligt op het perceel ESL00-L-676, dat zich in de kadastrale gemeente Eersel bevindt. Het perceel is 1035 m² groot. Dat is kleiner dan de gemiddelde perceeloppervlakte in Eersel, dat op 4851,75 m² ligt. Het kleinste perceel in de kadastrale gemeente is 0 m² groot. De grootste perceeloppervlakte is 1,50 km². Er zijn geen andere adressen aanwezig op het perceel. In de Basisregistratie Kadaster (BRK) werden de grenzen van het perceel geregistreerd op 11-05-2005.
Er is geen energielabel geregistreerd voor het adres. Het hoogste energielabel in de straat is B; het laagste is G. Het gemiddelde energielabel is er D. Het adres Voort 2 heeft als status: 'verblijfsobject in gebruik'. Het pand waarin dit adres ligt heeft als status: 'pand in gebruik'.
Voort 2 is een adres gelegen in de gemeente Eersel, provincie Noord-Brabant. Dit adres is geregistreerd in de Basisregistratie Adressen en Gebouwen (BAG) met als unieke identificatie 0770010000003723.
Het pand op Voort 2 is gebouwd in 1988, wat betekent dat het 38 jaar oud is. Dit is een pand van middelbare leeftijd. Het pand is van gemiddelde leeftijd en zal waarschijnlijk verouderde elementen bevatten.
De woning op Voort 2 heeft een gebruiksoppervlakte van 249 m². Dit is ruim vergeleken met de gemiddelde Nederlandse woning, die een oppervlakte heeft van ongeveer 119 m². De gebruiksoppervlakte is de maat die wordt gebruikt in de BAG-registratie, de landelijke registratie van de Nederlandse overheid.
Voort 2 heeft als functie: wonen. Deze gebruiksfunctie(s) zijn vastgelegd in de BAG-registratie en geven aan waarvoor het adres officieel mag worden gebruikt.
Voort 2 is gelegen op kadastraal perceel ESL00L676. Deze kadastrale aanduiding is uniek en wordt gebruikt door het Kadaster om eigendomsrechten en andere zakelijke rechten vast te leggen. Het perceel maakt onderdeel uit van de kadastrale gemeente Eersel.
Het perceel waarop Voort 2 staat heeft een oppervlakte van 1035 m². Dit is een zeer groot perceel. De perceeloppervlakte wordt geregistreerd door het Kadaster. Gedetailleerde informatie over de maten van dit perceel kunt u vinden in het rapport Kadastrale kaart met maatvoering van Voort 2.
De eigenaar van Voort 2 is op te vragen op deze pagina.
De informatie over dit adres is afkomstig uit officiële overheidsregistraties, voornamelijk de Basisregistratie Adressen en Gebouwen (BAG) en de Basisregistratie Kadaster (BRK). Deze gegevens worden beheerd door respectievelijk gemeenten en het Kadaster, en worden regelmatig bijgewerkt. Energielabelgegevens komen uit de database van de Rijksdienst voor Ondernemend Nederland (RVO).
