
Eesveenseweg 65 is gelegen in de plaats Eesveen, de gemeente Steenwijkerland en de provincie Overijssel. Het perceel waarop het verblijfsobject staat is 810 m² groot. De oppervlakte van het adres is 119 m², wat zich rond het Nederlandse gemiddelde van 119 m² bevindt. Het adres is klein vergeleken met andere objecten in de straat. Het grootste object in de straat heeft een oppervlakte van 1746 m², het kleinste is 2 m² groot. Eesveenseweg 65 bevindt zich in een pand uit het jaar 1938. Daarmee behoort het tot de groep relatief oude panden in Nederland die gebouwd zijn vóór 1965. In de straat komt het nieuwste gebouw uit het jaar 2025 en het oudste uit 1851. Het bouwjaar van dit object is relatief oud. Het verblijfsobject heeft de volgende gebruiksdoelen: 'woonfunctie' en 'industriefunctie'.
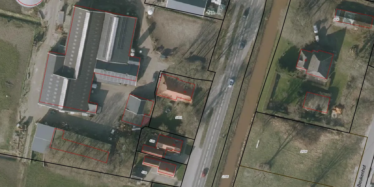
Het adres ligt op het perceel SWK01-G-1001, dat zich in de kadastrale gemeente Steenwijk bevindt. Het perceel is kleiner dan gemiddeld in Steenwijk. Het perceel is 810 m² groot, terwijl het gemiddelde ligt op 4994,76 m². Het grootste perceel in de kadastrale gemeente is 2,01 km². Het kleinste perceel heeft een oppervlakte van 0 m². Er zijn geen andere adressen aanwezig op het perceel. De laatste wijziging in het de Basisregistratie Kadaster (BRK) was op 28-01-2003.
Er is geen energielabel geregistreerd voor het adres. Het hoogste energielabel in de straat is A+++; het laagste is G. Het gemiddelde energielabel is er D. Het adres Eesveenseweg 65 heeft als status: 'verblijfsobject in gebruik'. Het pand waarin dit adres ligt heeft als status: 'pand in gebruik'.
Eesveenseweg 65 is een adres gelegen in de gemeente Steenwijkerland, provincie Overijssel. Dit adres is geregistreerd in de Basisregistratie Adressen en Gebouwen (BAG) met als unieke identificatie 1708010000000821.
Het pand op Eesveenseweg 65 is gebouwd in 1938, wat betekent dat het 88 jaar oud is. Dit is een ouder pand. Het pand heeft mogelijk aanzienlijke renovaties nodig om aan de huidige standaarden te voldoen.
De woning op Eesveenseweg 65 heeft een gebruiksoppervlakte van 119 m². Dit is gemiddeld vergeleken met de gemiddelde Nederlandse woning, die een oppervlakte heeft van ongeveer 119 m². De gebruiksoppervlakte is de maat die wordt gebruikt in de BAG-registratie, de landelijke registratie van de Nederlandse overheid.
Eesveenseweg 65 heeft als functie: wonen en industrie. Deze gebruiksfunctie(s) zijn vastgelegd in de BAG-registratie en geven aan waarvoor het adres officieel mag worden gebruikt.
Eesveenseweg 65 is gelegen op kadastraal perceel SWK01G1001. Deze kadastrale aanduiding is uniek en wordt gebruikt door het Kadaster om eigendomsrechten en andere zakelijke rechten vast te leggen. Het perceel maakt onderdeel uit van de kadastrale gemeente Steenwijk.
Het perceel waarop Eesveenseweg 65 staat heeft een oppervlakte van 810 m². Dit is een groot perceel. De perceeloppervlakte wordt geregistreerd door het Kadaster. Gedetailleerde informatie over de maten van dit perceel kunt u vinden in het rapport Kadastrale kaart met maatvoering van Eesveenseweg 65.
De eigenaar van Eesveenseweg 65 is op te vragen op deze pagina.
De informatie over dit adres is afkomstig uit officiële overheidsregistraties, voornamelijk de Basisregistratie Adressen en Gebouwen (BAG) en de Basisregistratie Kadaster (BRK). Deze gegevens worden beheerd door respectievelijk gemeenten en het Kadaster, en worden regelmatig bijgewerkt. Energielabelgegevens komen uit de database van de Rijksdienst voor Ondernemend Nederland (RVO).
