
Hoofdstraat 5 is een adres in Eext, dat zich bevindt binnen de gemeentegrenzen van Eext en de grenzen van de provincie Drenthe. De oppervlakte bedraagt 196 m², waarmee het adres groter dan gemiddeld is. De grootte van het perceel waarop het adres ligt is 1002 m². Het adres is klein vergeleken met andere objecten in de straat. Het grootste object in de straat heeft een oppervlakte van 774 m², het kleinste is 76 m² groot. Het adres Hoofdstraat 5 ligt in een relatief oud pand uit het jaar 1952. Panden van vóór het jaar 1965 hebben we hier geclassificeerd als oud. Veel andere gebouwen in de straat zijn ouder dan dit pand. Het oudste pand komt uit het jaar 1700 en het nieuwste uit 1990. Voor het verblijfsobject gelden deze gebruiksdoelen: 'bijeenkomstfunctie'.
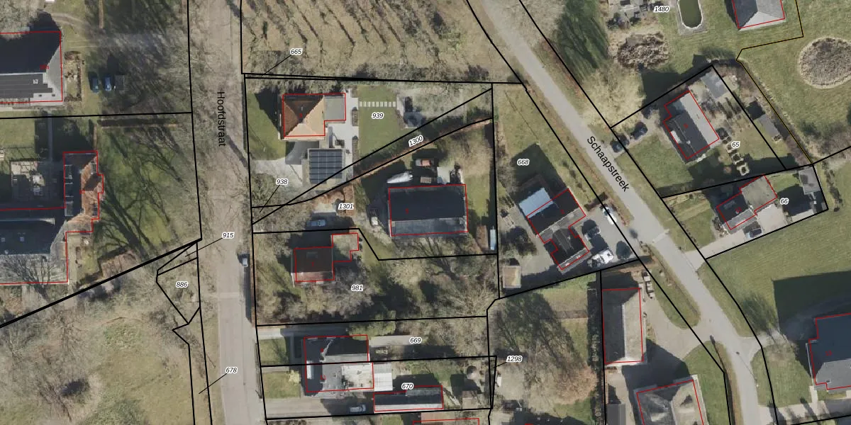
Het adres ligt op het perceel ALO00-W-1301, dat zich in de kadastrale gemeente Anloo bevindt. De gemiddelde perceelgrootte in Anloo is 1,0 ha. Dit perceel is kleiner: de perceeloppervlakte bedraagt 1002 m². De grootste perceeloppervlakte in de kadastrale gemeente is 92,8 ha. De kleinste oppervlakte bedraagt 1 m². Er zijn geen andere adressen aanwezig op het perceel. De huidige grenzen van het perceel zijn digitaal in de Basisregistratie Kadaster (BRK) geregistreerd op 29-10-2012.
Er is geen energielabel geregistreerd voor het adres. Het hoogste energielabel in de straat is A+++; het laagste is G. Het gemiddelde energielabel is er D. Het adres Hoofdstraat 5 heeft als status: 'verblijfsobject in gebruik'. Het pand waarin dit adres ligt heeft als status: 'pand in gebruik'.
Hoofdstraat 5 is een adres gelegen in de gemeente Aa en Hunze, provincie Drenthe. Dit adres is geregistreerd in de Basisregistratie Adressen en Gebouwen (BAG) met als unieke identificatie 1680010000012346.
Het pand op Hoofdstraat 5 is gebouwd in 1952, wat betekent dat het 74 jaar oud is. Dit is een ouder pand. Het pand heeft mogelijk aanzienlijke renovaties nodig om aan de huidige standaarden te voldoen.
De woning op Hoofdstraat 5 heeft een gebruiksoppervlakte van 196 m². Dit is ruim vergeleken met de gemiddelde Nederlandse woning, die een oppervlakte heeft van ongeveer 119 m². De gebruiksoppervlakte is de maat die wordt gebruikt in de BAG-registratie, de landelijke registratie van de Nederlandse overheid.
Hoofdstraat 5 heeft als functie: bijeenkomsten. Deze gebruiksfunctie(s) zijn vastgelegd in de BAG-registratie en geven aan waarvoor het adres officieel mag worden gebruikt.
Hoofdstraat 5 is gelegen op kadastraal perceel ALO00W1301. Deze kadastrale aanduiding is uniek en wordt gebruikt door het Kadaster om eigendomsrechten en andere zakelijke rechten vast te leggen. Het perceel maakt onderdeel uit van de kadastrale gemeente Anloo.
Het perceel waarop Hoofdstraat 5 staat heeft een oppervlakte van 1002 m². Dit is een zeer groot perceel. De perceeloppervlakte wordt geregistreerd door het Kadaster. Gedetailleerde informatie over de maten van dit perceel kunt u vinden in het rapport Kadastrale kaart met maatvoering van Hoofdstraat 5.
De eigenaar van Hoofdstraat 5 is op te vragen op deze pagina.
De informatie over dit adres is afkomstig uit officiële overheidsregistraties, voornamelijk de Basisregistratie Adressen en Gebouwen (BAG) en de Basisregistratie Kadaster (BRK). Deze gegevens worden beheerd door respectievelijk gemeenten en het Kadaster, en worden regelmatig bijgewerkt. Energielabelgegevens komen uit de database van de Rijksdienst voor Ondernemend Nederland (RVO).
