
Kormelinkbulten 3 is een adres in Eibergen, dat zich bevindt binnen de gemeentegrenzen van Eibergen en de grenzen van de provincie Gelderland. De oppervlakte van het verblijfsobject is met 272 m² aan de grote kant. Het perceel heeft een oppervlakte van 1,1 ha. De oppervlakte van dit adres is groot vergeleken met de oppervlaktes van andere adressen in de straat. De kleinste oppervlakte bedraagt er 93 m², de grootste 325 m². Het adres Kormelinkbulten 3 ligt in een relatief oud pand uit het jaar 1930. Panden van vóór het jaar 1965 hebben we hier geclassificeerd als oud. Gemiddeld zijn de gebouwen in de straat gebouwd in 1951. Dit is het oudste pand in de straat. Het meest recente komt uit het jaar 1986. De volgende gebruiksdoelen zijn geregistreerd voor dit adres: 'woonfunctie'.
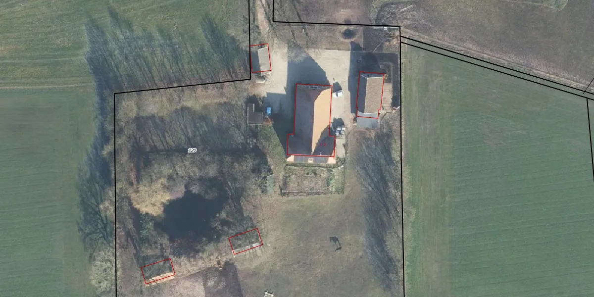
Het adres ligt op het perceel EBG02-AB-220, dat zich in de kadastrale gemeente Eibergen bevindt. De oppervlakte van het perceel is 1,1 ha. Dat is groter dan gemiddeld in Eibergen, waar de gemiddelde perceeloppervlakte op 8442,7 m² ligt. De grootste perceeloppervlakte in de kadastrale gemeente is 33,1 ha. De kleinste oppervlakte bedraagt 0 m². Op het perceel liggen in totaal 2 adressen. De huidige grenzen van het perceel zijn digitaal in de Basisregistratie Kadaster (BRK) geregistreerd op 05-09-2007.
Het adres ligt in een gebouw van het type 'vrijstaande woning'. Bij de laatste meting is voor het adres het energielabel G geregistreerd. Het hoogste energielabel in de straat is A; het laagste is G. Het gemiddelde energielabel is er D. Het adres Kormelinkbulten 3 heeft als status: 'verblijfsobject in gebruik'. Het pand waarin dit adres ligt heeft als status: 'pand in gebruik'.
Kormelinkbulten 3 is een adres gelegen in de gemeente Berkelland, provincie Gelderland. Dit adres is geregistreerd in de Basisregistratie Adressen en Gebouwen (BAG) met als unieke identificatie 1859010000842399.
Het pand op Kormelinkbulten 3 is gebouwd in 1930, wat betekent dat het 96 jaar oud is. Dit is een ouder pand. Het pand heeft mogelijk aanzienlijke renovaties nodig om aan de huidige standaarden te voldoen.
De woning op Kormelinkbulten 3 heeft een gebruiksoppervlakte van 272 m². Dit is ruim vergeleken met de gemiddelde Nederlandse woning, die een oppervlakte heeft van ongeveer 119 m². De gebruiksoppervlakte is de maat die wordt gebruikt in de BAG-registratie, de landelijke registratie van de Nederlandse overheid.
Kormelinkbulten 3 heeft als functie: wonen. Deze gebruiksfunctie(s) zijn vastgelegd in de BAG-registratie en geven aan waarvoor het adres officieel mag worden gebruikt.
Kormelinkbulten 3 is gelegen op kadastraal perceel EBG02AB220. Deze kadastrale aanduiding is uniek en wordt gebruikt door het Kadaster om eigendomsrechten en andere zakelijke rechten vast te leggen. Het perceel maakt onderdeel uit van de kadastrale gemeente Eibergen.
Het perceel waarop Kormelinkbulten 3 staat heeft een oppervlakte van 1,1 ha. Dit is een zeer groot perceel. De perceeloppervlakte wordt geregistreerd door het Kadaster. Gedetailleerde informatie over de maten van dit perceel kunt u vinden in het rapport Kadastrale kaart met maatvoering van Kormelinkbulten 3.
De eigenaar van Kormelinkbulten 3 is op te vragen op deze pagina.
De informatie over dit adres is afkomstig uit officiële overheidsregistraties, voornamelijk de Basisregistratie Adressen en Gebouwen (BAG) en de Basisregistratie Kadaster (BRK). Deze gegevens worden beheerd door respectievelijk gemeenten en het Kadaster, en worden regelmatig bijgewerkt. Energielabelgegevens komen uit de database van de Rijksdienst voor Ondernemend Nederland (RVO).
