
Franklin D Rooseveltlaan 3 is een adres in Eindhoven, dat zich bevindt binnen de gemeentegrenzen van Eindhoven en de grenzen van de provincie Noord-Brabant. De oppervlakte van het object bedraagt 60 m². Dat is klein vergeleken met het Nederlandse gemiddelde. Het perceel waarop het adres ligt is 2544 m² groot. Het adres is klein vergeleken met andere objecten in de straat. Het grootste object in de straat heeft een oppervlakte van 253 m², het kleinste is 16 m² groot. In Nederland komt het grootste deel van de gebouwen uit de periode 1965-1984. Ook het bouwjaar van Franklin D Rooseveltlaan 3 is afkomstig uit die periode: het betreft namelijk een pand uit 1978. Veel andere gebouwen in de straat zijn ouder dan dit pand. Het oudste pand komt uit het jaar 1966 en het nieuwste uit 2002. De volgende gebruiksdoelen zijn geregistreerd voor dit adres: 'woonfunctie'.
Deze woning is voor het laatst verkocht op 1 april 2008. Meer informatie over deze transactie? Bestel het Woningtransactierapport om de verkoopprijs en andere informatie te zien.
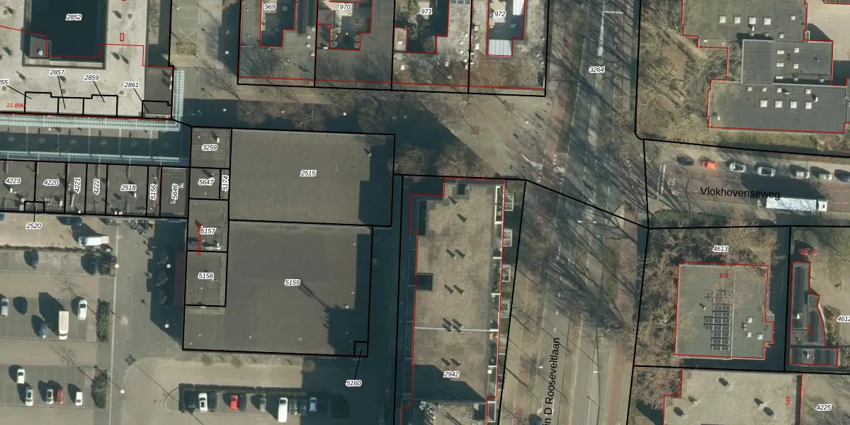
Het adres ligt op het perceel WSL01-L-2942, dat zich in de kadastrale gemeente Woensel bevindt. De oppervlakte van het perceel is 2544 m². Dat is groter dan gemiddeld in Woensel, waar de gemiddelde perceeloppervlakte op 1038,98 m² ligt. Het grootste perceel in de kadastrale gemeente is 74,9 ha. Het kleinste perceel heeft een oppervlakte van 0 m². Op het perceel zijn 121 adressen aanwezig. De huidige grenzen van het perceel zijn digitaal in de Basisregistratie Kadaster (BRK) geregistreerd op 12-10-2010.
Er is geen energielabel geregistreerd voor het adres. Het hoogste energielabel in de straat is A++++; het laagste is G. Het gemiddelde energielabel is er C. Het adres Franklin D Rooseveltlaan 3 heeft als status: 'verblijfsobject in gebruik'. Het pand waarin dit adres ligt heeft als status: 'pand in gebruik'.
Franklin D Rooseveltlaan 3 is een adres gelegen in de gemeente Eindhoven, provincie Noord-Brabant. Dit adres is geregistreerd in de Basisregistratie Adressen en Gebouwen (BAG) met als unieke identificatie 0772010000798835.
Het pand op Franklin D Rooseveltlaan 3 is gebouwd in 1978, wat betekent dat het 48 jaar oud is. Dit is een pand van middelbare leeftijd. Het pand is van gemiddelde leeftijd en zal waarschijnlijk verouderde elementen bevatten.
De woning op Franklin D Rooseveltlaan 3 heeft een gebruiksoppervlakte van 60 m². Dit is relatief klein vergeleken met de gemiddelde Nederlandse woning, die een oppervlakte heeft van ongeveer 119 m². De gebruiksoppervlakte is de maat die wordt gebruikt in de BAG-registratie, de landelijke registratie van de Nederlandse overheid.
Franklin D Rooseveltlaan 3 heeft als functie: wonen. Deze gebruiksfunctie(s) zijn vastgelegd in de BAG-registratie en geven aan waarvoor het adres officieel mag worden gebruikt.
Franklin D Rooseveltlaan 3 is gelegen op kadastraal perceel WSL01L2942. Deze kadastrale aanduiding is uniek en wordt gebruikt door het Kadaster om eigendomsrechten en andere zakelijke rechten vast te leggen. Het perceel maakt onderdeel uit van de kadastrale gemeente Woensel.
Het perceel waarop Franklin D Rooseveltlaan 3 staat heeft een oppervlakte van 2544 m². Dit is een zeer groot perceel. De perceeloppervlakte wordt geregistreerd door het Kadaster. Gedetailleerde informatie over de maten van dit perceel kunt u vinden in het rapport Kadastrale kaart met maatvoering van Franklin D Rooseveltlaan 3.
De eigenaar van Franklin D Rooseveltlaan 3 is op te vragen op deze pagina.
De informatie over dit adres is afkomstig uit officiële overheidsregistraties, voornamelijk de Basisregistratie Adressen en Gebouwen (BAG) en de Basisregistratie Kadaster (BRK). Deze gegevens worden beheerd door respectievelijk gemeenten en het Kadaster, en worden regelmatig bijgewerkt. Energielabelgegevens komen uit de database van de Rijksdienst voor Ondernemend Nederland (RVO).
