
Het adres Liviuslaan 47-A bevindt zich in de plaats Eindhoven, in de gemeente Eindhoven en de provincie Noord-Brabant. Het verblijfsobject is vergeleken met het Nederlandse gemiddelde aan de kleine kant: de oppervlakte is 84 m². Het perceel waarop het adres zich bevindt heeft een oppervlakte van 2523 m². De oppervlakte van het adres is klein vergeleken met de andere objecten in de straat. De oppervlakte van het kleinste object in de straat bedraagt 15 m², terwijl het grootste object 156 m² groot is. De meeste Nederlandse gebouwen zijn gebouwd in de periode 1965-1984. Zo ook het pand waarin Liviuslaan 47-A ligt, dat gebouwd is in 1972. Dit object is relatief nieuw in de straat. Het nieuwste gebouw komt er uit het jaar 2016 en het oudste uit het jaar 1961. Het verblijfsobject heeft de volgende gebruiksdoelen: 'woonfunctie'.
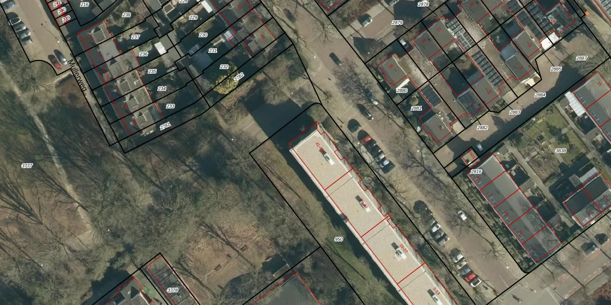
Het adres is gelegen op perceel 950 in de sectie P en de kadastrale gemeente Woensel. De kadastrale aanduiding is aldus WSL01-P-950. De gemiddelde perceeloppervlakte in de kadastrale gemeente Woensel is 1038,24 m². Dit perceel is met zijn 2523 m² dus groter dan gemiddeld. De grootste perceeloppervlakte in de kadastrale gemeente is 74,9 ha. De kleinste oppervlakte bedraagt 0 m². Op het perceel liggen in totaal 27 adressen. In de Basisregistratie Kadaster (BRK) werden de grenzen van het perceel geregistreerd op 29-06-2010.
Het adres ligt in een gebouw van het type 'appartement met het subtype hoekdak'. Bij de laatste meting is voor het adres het energielabel B geregistreerd. Het hoogste energielabel in de straat is A; het laagste is G. Het gemiddelde energielabel is er B. Het adres Liviuslaan 47-A heeft als status: 'verblijfsobject in gebruik'. Het pand waarin dit adres ligt heeft als status: 'pand in gebruik'.
Liviuslaan 47-A is een adres gelegen in de gemeente Eindhoven, provincie Noord-Brabant. Dit adres is geregistreerd in de Basisregistratie Adressen en Gebouwen (BAG) met als unieke identificatie 0772010000724857.
Het pand op Liviuslaan 47-A is gebouwd in 1972, wat betekent dat het 54 jaar oud is. Dit is een ouder pand. Het pand heeft mogelijk aanzienlijke renovaties nodig om aan de huidige standaarden te voldoen.
De woning op Liviuslaan 47-A heeft een gebruiksoppervlakte van 84 m². Dit is onder het gemiddelde vergeleken met de gemiddelde Nederlandse woning, die een oppervlakte heeft van ongeveer 119 m². De gebruiksoppervlakte is de maat die wordt gebruikt in de BAG-registratie, de landelijke registratie van de Nederlandse overheid.
Liviuslaan 47-A heeft als functie: wonen. Deze gebruiksfunctie(s) zijn vastgelegd in de BAG-registratie en geven aan waarvoor het adres officieel mag worden gebruikt.
Liviuslaan 47-A is gelegen op kadastraal perceel WSL01P950. Deze kadastrale aanduiding is uniek en wordt gebruikt door het Kadaster om eigendomsrechten en andere zakelijke rechten vast te leggen. Het perceel maakt onderdeel uit van de kadastrale gemeente Woensel.
Het perceel waarop Liviuslaan 47-A staat heeft een oppervlakte van 2523 m². Dit is een zeer groot perceel. De perceeloppervlakte wordt geregistreerd door het Kadaster. Gedetailleerde informatie over de maten van dit perceel kunt u vinden in het rapport Kadastrale kaart met maatvoering van Liviuslaan 47-A.
De eigenaar van Liviuslaan 47-A is op te vragen op deze pagina.
De informatie over dit adres is afkomstig uit officiële overheidsregistraties, voornamelijk de Basisregistratie Adressen en Gebouwen (BAG) en de Basisregistratie Kadaster (BRK). Deze gegevens worden beheerd door respectievelijk gemeenten en het Kadaster, en worden regelmatig bijgewerkt. Energielabelgegevens komen uit de database van de Rijksdienst voor Ondernemend Nederland (RVO).
