
Brandligtswijk 3 is een adres in Elim, dat zich bevindt binnen de gemeentegrenzen van Elim en de grenzen van de provincie Drenthe. Het object heeft een oppervlakte van 178 m², wat relatief groot is. Het perceel waarop het adres ligt is 9154 m² groot. De oppervlakte van het adres is klein vergeleken met de andere objecten in de straat. De oppervlakte van het kleinste object in de straat bedraagt 3 m², terwijl het grootste object 914 m² groot is. Het gebouw waarin Brandligtswijk 3 ligt komt uit het jaar 1941. Objecten die gebouwd zijn vóór 1965 classificeren we hier als oud. Het bouwjaar is oud vergeleken met dat van de andere panden in de straat. Het oudste bouwjaar is er 1918 en de nieuwste is 2019. Voor het verblijfsobject gelden deze gebruiksdoelen: 'woonfunctie'.
Deze woning is voor het laatst verkocht op 1 december 2017. Meer informatie over deze transactie? Bestel het Woningtransactierapport om de verkoopprijs en andere informatie te zien.
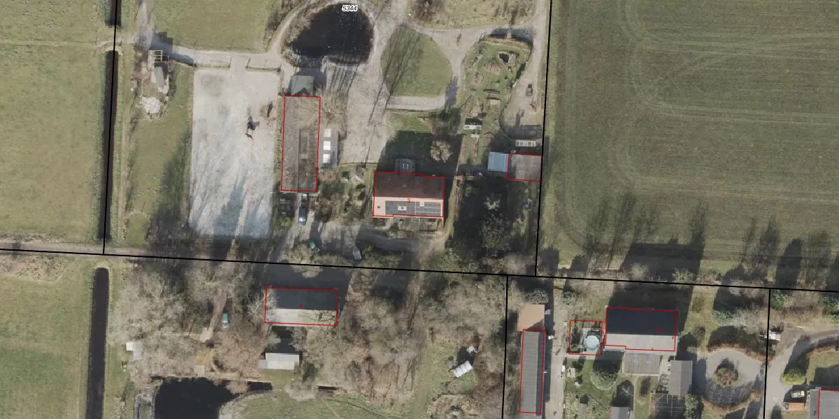
Het adres is gelegen op perceel 5344 in de sectie M en de kadastrale gemeente Hoogeveen. De kadastrale aanduiding is aldus HGV00-M-5344. Het perceel is met 9154 m² relatief groot. Het gemiddelde ligt in de kadastrale gemeente Hoogeveen op 4425,3 m². Het kleinste perceel in de kadastrale gemeente is 0 m² groot. De grootste perceeloppervlakte is 56,8 ha. Dit is het enige adres dat aanwezig is op het perceel. De huidige grenzen van het perceel zijn digitaal in de Basisregistratie Kadaster (BRK) geregistreerd op 08-09-2011.
Het adres ligt in een gebouw van het type 'vrijstaande woning'. Bij de laatste meting is voor het adres het energielabel F geregistreerd. Het hoogste energielabel in de straat is A; het laagste is G. Het gemiddelde energielabel is er E. Het adres Brandligtswijk 3 heeft als status: 'verblijfsobject in gebruik'. Het pand waarin dit adres ligt heeft als status: 'pand in gebruik'.
Brandligtswijk 3 is een adres gelegen in de gemeente Hoogeveen, provincie Drenthe. Dit adres is geregistreerd in de Basisregistratie Adressen en Gebouwen (BAG) met als unieke identificatie 0118010000001817.
Het pand op Brandligtswijk 3 is gebouwd in 1941, wat betekent dat het 85 jaar oud is. Dit is een ouder pand. Het pand heeft mogelijk aanzienlijke renovaties nodig om aan de huidige standaarden te voldoen.
De woning op Brandligtswijk 3 heeft een gebruiksoppervlakte van 178 m². Dit is ruim vergeleken met de gemiddelde Nederlandse woning, die een oppervlakte heeft van ongeveer 119 m². De gebruiksoppervlakte is de maat die wordt gebruikt in de BAG-registratie, de landelijke registratie van de Nederlandse overheid.
Brandligtswijk 3 heeft als functie: wonen. Deze gebruiksfunctie(s) zijn vastgelegd in de BAG-registratie en geven aan waarvoor het adres officieel mag worden gebruikt.
Brandligtswijk 3 is gelegen op kadastraal perceel HGV00M5344. Deze kadastrale aanduiding is uniek en wordt gebruikt door het Kadaster om eigendomsrechten en andere zakelijke rechten vast te leggen. Het perceel maakt onderdeel uit van de kadastrale gemeente Hoogeveen.
Het perceel waarop Brandligtswijk 3 staat heeft een oppervlakte van 9154 m². Dit is een zeer groot perceel. De perceeloppervlakte wordt geregistreerd door het Kadaster. Gedetailleerde informatie over de maten van dit perceel kunt u vinden in het rapport Kadastrale kaart met maatvoering van Brandligtswijk 3.
De eigenaar van Brandligtswijk 3 is op te vragen op deze pagina.
De informatie over dit adres is afkomstig uit officiële overheidsregistraties, voornamelijk de Basisregistratie Adressen en Gebouwen (BAG) en de Basisregistratie Kadaster (BRK). Deze gegevens worden beheerd door respectievelijk gemeenten en het Kadaster, en worden regelmatig bijgewerkt. Energielabelgegevens komen uit de database van de Rijksdienst voor Ondernemend Nederland (RVO).
