
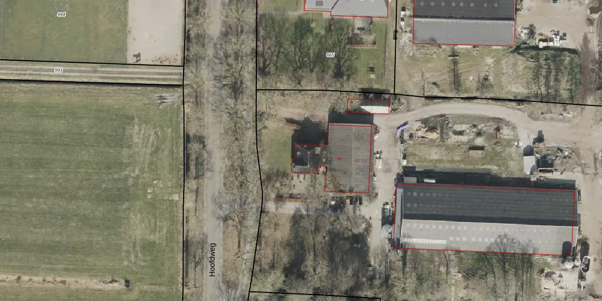
Hoofdweg 45 is gelegen in de plaats Elsloo, de gemeente Ooststellingwerf en de provincie Friesland. Het perceel waarop het verblijfsobject staat is 17,5 ha groot. De oppervlakte van het adres is 121 m², wat zich rond het Nederlandse gemiddelde van 119 m² bevindt. De oppervlakte van het adres is klein vergeleken met de andere objecten in de straat. De oppervlakte van het kleinste object in de straat bedraagt 6 m², terwijl het grootste object 865 m² groot is. Hoofdweg 45 bevindt zich in een pand uit het jaar 1930. Daarmee behoort het tot de groep relatief oude panden in Nederland die gebouwd zijn vóór 1965. In de straat komt het nieuwste gebouw uit het jaar 1997 en het oudste uit 1885. Het bouwjaar van dit object is relatief oud. Het verblijfsobject heeft de volgende gebruiksdoelen: 'woonfunctie' en 'industriefunctie'.
Het adres is gelegen op perceel 485 in de sectie F en de kadastrale gemeente Makkinga. De kadastrale aanduiding is aldus MKG00-F-485. De gemiddelde perceeloppervlakte in de kadastrale gemeente Makkinga is 1,3 ha. Dit perceel is met zijn 17,5 ha dus groter dan gemiddeld. Het grootste perceel in de kadastrale gemeente is 4,94 km². Het kleinste perceel heeft een oppervlakte van 0 m². Er zijn geen andere adressen aanwezig op het perceel. De laatste wijziging in het de Basisregistratie Kadaster (BRK) was op 21-12-2009.
Er is geen energielabel geregistreerd voor het adres. Het hoogste energielabel in de straat is A+++; het laagste is G. Het gemiddelde energielabel is er D. Het adres Hoofdweg 45 heeft als status: 'verblijfsobject in gebruik'. Het pand waarin dit adres ligt heeft als status: 'pand in gebruik'.
Hoofdweg 45 is een adres gelegen in de gemeente Ooststellingwerf, provincie Friesland. Dit adres is geregistreerd in de Basisregistratie Adressen en Gebouwen (BAG) met als unieke identificatie 0085010000002375.
Het pand op Hoofdweg 45 is gebouwd in 1930, wat betekent dat het 96 jaar oud is. Dit is een ouder pand. Het pand heeft mogelijk aanzienlijke renovaties nodig om aan de huidige standaarden te voldoen.
De woning op Hoofdweg 45 heeft een gebruiksoppervlakte van 121 m². Dit is gemiddeld vergeleken met de gemiddelde Nederlandse woning, die een oppervlakte heeft van ongeveer 119 m². De gebruiksoppervlakte is de maat die wordt gebruikt in de BAG-registratie, de landelijke registratie van de Nederlandse overheid.
Hoofdweg 45 heeft als functie: wonen en industrie. Deze gebruiksfunctie(s) zijn vastgelegd in de BAG-registratie en geven aan waarvoor het adres officieel mag worden gebruikt.
Hoofdweg 45 is gelegen op kadastraal perceel MKG00F485. Deze kadastrale aanduiding is uniek en wordt gebruikt door het Kadaster om eigendomsrechten en andere zakelijke rechten vast te leggen. Het perceel maakt onderdeel uit van de kadastrale gemeente Makkinga.
Het perceel waarop Hoofdweg 45 staat heeft een oppervlakte van 17,5 ha. Dit is een zeer groot perceel. De perceeloppervlakte wordt geregistreerd door het Kadaster. Gedetailleerde informatie over de maten van dit perceel kunt u vinden in het rapport Kadastrale kaart met maatvoering van Hoofdweg 45.
De eigenaar van Hoofdweg 45 is op te vragen op deze pagina.
De informatie over dit adres is afkomstig uit officiële overheidsregistraties, voornamelijk de Basisregistratie Adressen en Gebouwen (BAG) en de Basisregistratie Kadaster (BRK). Deze gegevens worden beheerd door respectievelijk gemeenten en het Kadaster, en worden regelmatig bijgewerkt. Energielabelgegevens komen uit de database van de Rijksdienst voor Ondernemend Nederland (RVO).
