
Stakenbergweg 193-b is een adres in Elspeet, dat zich bevindt binnen de gemeentegrenzen van Elspeet en de grenzen van de provincie Gelderland. De oppervlakte bedraagt 245 m², waarmee het adres groter dan gemiddeld is. De grootte van het perceel waarop het adres ligt is 3170 m². Vergeleken met de andere verblijfsobjecten in de straat is dit object groot. De oppervlakte van het grootste object in de straat is 464 m², die van het kleinste bedraagt 27 m². Het pand waarin Stakenbergweg 193-b ligt is gebouwd in het jaar 2009. Panden die gebouwd zijn na het jaar 1984 noemen we hier relatief nieuw. Veel andere gebouwen in de straat zijn ouder dan dit pand. Het oudste pand komt uit het jaar 1916 en het nieuwste uit 2026. De volgende gebruiksdoelen zijn geregistreerd voor dit adres: 'woonfunctie'.
Deze woning is voor het laatst verkocht op 1 maart 2023. Meer informatie over deze transactie? Bestel het Woningtransactierapport om de verkoopprijs en andere informatie te zien.
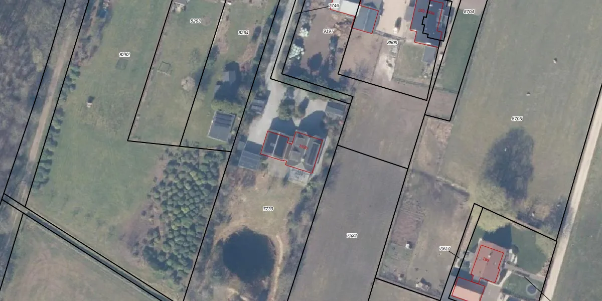
Het adres is gelegen op perceel 7739 in de sectie F en de kadastrale gemeente Nunspeet. De kadastrale aanduiding is aldus NST01-F-7739. Het perceel is 3170 m² groot. Dat is kleiner dan de gemiddelde perceeloppervlakte in Nunspeet, dat op 7194,68 m² ligt. Het kleinste perceel in de kadastrale gemeente is 0 m² groot. De grootste perceeloppervlakte is 1,70 km². Er zijn geen andere adressen aanwezig op het perceel. De huidige grenzen van het perceel zijn digitaal in de Basisregistratie Kadaster (BRK) geregistreerd op 28-04-2023.
Het adres ligt in een gebouw van het type 'vrijstaande woning'. Bij de laatste meting is voor het adres het energielabel A geregistreerd. Het hoogste energielabel in de straat is A+++; het laagste is G. Het gemiddelde energielabel is er C. Het adres Stakenbergweg 193-b heeft als status: 'verblijfsobject in gebruik'. Het pand waarin dit adres ligt heeft als status: 'pand in gebruik'.
Stakenbergweg 193-b is een adres gelegen in de gemeente Nunspeet, provincie Gelderland. Dit adres is geregistreerd in de Basisregistratie Adressen en Gebouwen (BAG) met als unieke identificatie 0302010000048740.
Het pand op Stakenbergweg 193-b is gebouwd in 2009, wat betekent dat het 17 jaar oud is. Dit is een relatief modern pand. Ten opzichte van de nationale woningvoorraad is het pand relatief modern, maar er kunnen enkele verouderde elementen zijn die aandacht nodig hebben.
De woning op Stakenbergweg 193-b heeft een gebruiksoppervlakte van 245 m². Dit is ruim vergeleken met de gemiddelde Nederlandse woning, die een oppervlakte heeft van ongeveer 119 m². De gebruiksoppervlakte is de maat die wordt gebruikt in de BAG-registratie, de landelijke registratie van de Nederlandse overheid.
Stakenbergweg 193-b heeft als functie: wonen. Deze gebruiksfunctie(s) zijn vastgelegd in de BAG-registratie en geven aan waarvoor het adres officieel mag worden gebruikt.
Stakenbergweg 193-b is gelegen op kadastraal perceel NST01F7739. Deze kadastrale aanduiding is uniek en wordt gebruikt door het Kadaster om eigendomsrechten en andere zakelijke rechten vast te leggen. Het perceel maakt onderdeel uit van de kadastrale gemeente Nunspeet.
Het perceel waarop Stakenbergweg 193-b staat heeft een oppervlakte van 3170 m². Dit is een zeer groot perceel. De perceeloppervlakte wordt geregistreerd door het Kadaster. Gedetailleerde informatie over de maten van dit perceel kunt u vinden in het rapport Kadastrale kaart met maatvoering van Stakenbergweg 193-b.
De eigenaar van Stakenbergweg 193-b is op te vragen op deze pagina.
De informatie over dit adres is afkomstig uit officiële overheidsregistraties, voornamelijk de Basisregistratie Adressen en Gebouwen (BAG) en de Basisregistratie Kadaster (BRK). Deze gegevens worden beheerd door respectievelijk gemeenten en het Kadaster, en worden regelmatig bijgewerkt. Energielabelgegevens komen uit de database van de Rijksdienst voor Ondernemend Nederland (RVO).
