
Het adres Veenweg 21 bevindt zich in de plaats Elspeet, in de gemeente Elspeet en de provincie Gelderland. Het verblijfsobject is 142 m² groot en bevindt zich op een perceel met een oppervlakte van 2640 m². Gemiddeld hebben adressen in Nederland een oppervlakte van 119 m². Het object is klein ten opzichte van de andere adressen in de straat. Het grootste verblijfsobject is 930 m² groot en het kleinste is 24 m². Veenweg 21 ligt in een gebouw uit het jaar 1989. Daarmee behoort het tot de groep panden van na 1984, die we als relatief nieuw bestempelen. Vergeleken met de andere panden in de straat is dit gebouw nieuw. Het vroegste bouwjaar is er 1749 en het laatste is 2025. De volgende gebruiksdoelen zijn geregistreerd voor dit adres: 'woonfunctie'.
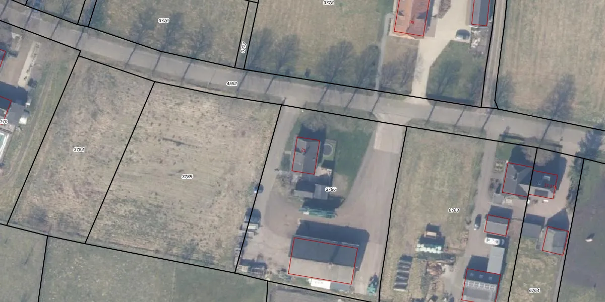
Het perceel waarop het adres ligt is NST01-F-3786. De afkorting 'NST01' staat voor kadastrale gemeente Nunspeet. Het perceel is 2640 m² groot. Dat is kleiner dan de gemiddelde perceeloppervlakte in Nunspeet, dat op 7222,77 m² ligt. Het grootste perceel in de kadastrale gemeente is 1,70 km². Het kleinste perceel heeft een oppervlakte van 0 m². Dit is het enige adres dat aanwezig is op het perceel. In de Basisregistratie Kadaster (BRK) werden de grenzen van het perceel geregistreerd op 03-04-2003.
Er is geen energielabel geregistreerd voor het adres. Het hoogste energielabel in de straat is A+++; het laagste is G. Het gemiddelde energielabel is er C. Het adres Veenweg 21 heeft als status: 'verblijfsobject in gebruik'. Het pand waarin dit adres ligt heeft als status: 'pand in gebruik'.
Veenweg 21 is een adres gelegen in de gemeente Nunspeet, provincie Gelderland. Dit adres is geregistreerd in de Basisregistratie Adressen en Gebouwen (BAG) met als unieke identificatie 0302010000000118.
Het pand op Veenweg 21 is gebouwd in 1989, wat betekent dat het 37 jaar oud is. Dit is een pand van middelbare leeftijd. Het pand is van gemiddelde leeftijd en zal waarschijnlijk verouderde elementen bevatten.
De woning op Veenweg 21 heeft een gebruiksoppervlakte van 142 m². Dit is gemiddeld vergeleken met de gemiddelde Nederlandse woning, die een oppervlakte heeft van ongeveer 119 m². De gebruiksoppervlakte is de maat die wordt gebruikt in de BAG-registratie, de landelijke registratie van de Nederlandse overheid.
Veenweg 21 heeft als functie: wonen. Deze gebruiksfunctie(s) zijn vastgelegd in de BAG-registratie en geven aan waarvoor het adres officieel mag worden gebruikt.
Veenweg 21 is gelegen op kadastraal perceel NST01F3786. Deze kadastrale aanduiding is uniek en wordt gebruikt door het Kadaster om eigendomsrechten en andere zakelijke rechten vast te leggen. Het perceel maakt onderdeel uit van de kadastrale gemeente Nunspeet.
Het perceel waarop Veenweg 21 staat heeft een oppervlakte van 2640 m². Dit is een zeer groot perceel. De perceeloppervlakte wordt geregistreerd door het Kadaster. Gedetailleerde informatie over de maten van dit perceel kunt u vinden in het rapport Kadastrale kaart met maatvoering van Veenweg 21.
De eigenaar van Veenweg 21 is op te vragen op deze pagina.
De informatie over dit adres is afkomstig uit officiële overheidsregistraties, voornamelijk de Basisregistratie Adressen en Gebouwen (BAG) en de Basisregistratie Kadaster (BRK). Deze gegevens worden beheerd door respectievelijk gemeenten en het Kadaster, en worden regelmatig bijgewerkt. Energielabelgegevens komen uit de database van de Rijksdienst voor Ondernemend Nederland (RVO).
