
Landschaplaan 163 is gelegen in de plaats Emmen, de gemeente Emmen en de provincie Drenthe. De oppervlakte van het object bedraagt 93 m². Dat is klein vergeleken met het Nederlandse gemiddelde. Het perceel waarop het adres ligt is 6021 m² groot. De oppervlakte van dit adres is groot vergeleken met de oppervlaktes van andere adressen in de straat. De kleinste oppervlakte bedraagt er 16 m², de grootste 1373 m². Het adres Landschaplaan 163 ligt in een relatief oud pand uit het jaar 1962. Panden van vóór het jaar 1965 hebben we hier geclassificeerd als oud. In de straat komt het nieuwste gebouw uit het jaar 2004 en het oudste uit 1961. Het bouwjaar van dit object is relatief oud. Het verblijfsobject heeft de volgende gebruiksdoelen: 'woonfunctie'.
Deze woning is voor het laatst verkocht op 1 december 2021. Meer informatie over deze transactie? Bestel het Woningtransactierapport om de verkoopprijs en andere informatie te zien.
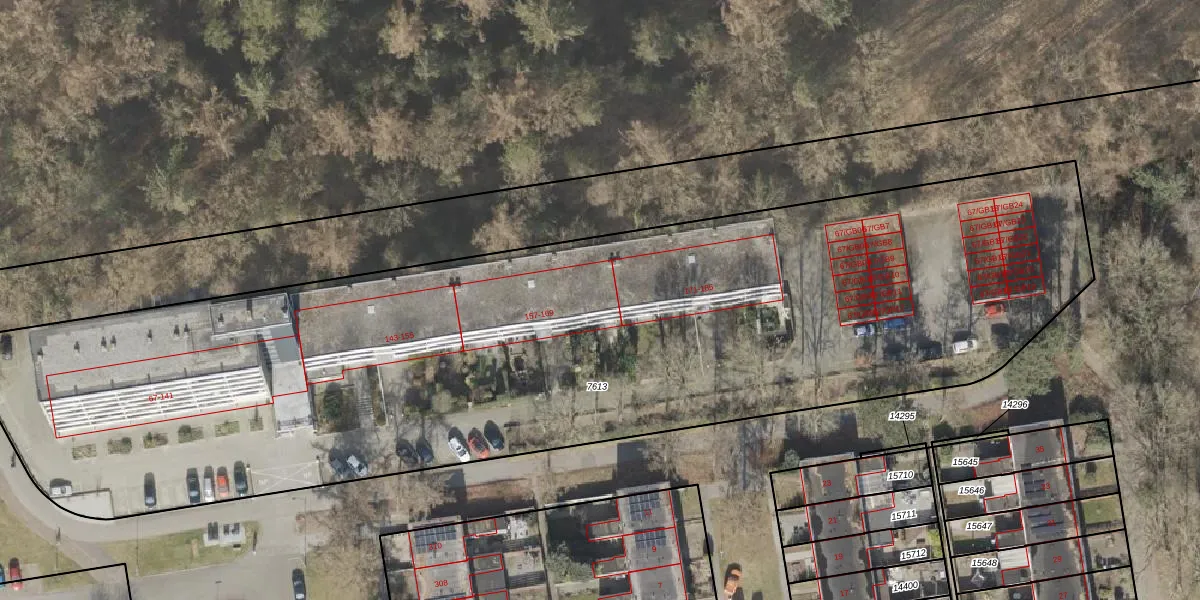
Het adres ligt op het perceel EMN00-F-7613, dat zich in de kadastrale gemeente Emmen bevindt. De gemiddelde perceeloppervlakte in de kadastrale gemeente Emmen is 5228,47 m². Dit perceel is met zijn 6021 m² dus groter dan gemiddeld. De grootste perceeloppervlakte in de kadastrale gemeente is 1,29 km². De kleinste oppervlakte bedraagt 0 m². Op het perceel zijn 84 adressen aanwezig. De laatste wijziging in het de Basisregistratie Kadaster (BRK) was op 17-08-2006.
Het adres ligt in een gebouw van het type 'flatwoning (overig) met het subtype tussenmidden'. Bij de laatste meting is voor het adres het energielabel D geregistreerd. Het hoogste energielabel in de straat is A; het laagste is G. Het gemiddelde energielabel is er C. Het adres Landschaplaan 163 heeft als status: 'verblijfsobject in gebruik'. Het pand waarin dit adres ligt heeft als status: 'pand in gebruik'.
Landschaplaan 163 is een adres gelegen in de gemeente Emmen, provincie Drenthe. Dit adres is geregistreerd in de Basisregistratie Adressen en Gebouwen (BAG) met als unieke identificatie 0114010000337176.
Het pand op Landschaplaan 163 is gebouwd in 1962, wat betekent dat het 64 jaar oud is. Dit is een ouder pand. Het pand heeft mogelijk aanzienlijke renovaties nodig om aan de huidige standaarden te voldoen.
De woning op Landschaplaan 163 heeft een gebruiksoppervlakte van 93 m². Dit is onder het gemiddelde vergeleken met de gemiddelde Nederlandse woning, die een oppervlakte heeft van ongeveer 119 m². De gebruiksoppervlakte is de maat die wordt gebruikt in de BAG-registratie, de landelijke registratie van de Nederlandse overheid.
Landschaplaan 163 heeft als functie: wonen. Deze gebruiksfunctie(s) zijn vastgelegd in de BAG-registratie en geven aan waarvoor het adres officieel mag worden gebruikt.
Landschaplaan 163 is gelegen op kadastraal perceel EMN00F7613. Deze kadastrale aanduiding is uniek en wordt gebruikt door het Kadaster om eigendomsrechten en andere zakelijke rechten vast te leggen. Het perceel maakt onderdeel uit van de kadastrale gemeente Emmen.
Het perceel waarop Landschaplaan 163 staat heeft een oppervlakte van 6021 m². Dit is een zeer groot perceel. De perceeloppervlakte wordt geregistreerd door het Kadaster. Gedetailleerde informatie over de maten van dit perceel kunt u vinden in het rapport Kadastrale kaart met maatvoering van Landschaplaan 163.
De eigenaar van Landschaplaan 163 is op te vragen op deze pagina.
De informatie over dit adres is afkomstig uit officiële overheidsregistraties, voornamelijk de Basisregistratie Adressen en Gebouwen (BAG) en de Basisregistratie Kadaster (BRK). Deze gegevens worden beheerd door respectievelijk gemeenten en het Kadaster, en worden regelmatig bijgewerkt. Energielabelgegevens komen uit de database van de Rijksdienst voor Ondernemend Nederland (RVO).
