
Oude Zuidbargerstraat 1-A is een adres in Emmen, dat zich bevindt binnen de gemeentegrenzen van Emmen en de grenzen van de provincie Drenthe. De oppervlakte van het verblijfsobject is met 274 m² aan de grote kant. Het perceel heeft een oppervlakte van 2489 m². De oppervlakte van het adres is klein vergeleken met de andere objecten in de straat. De oppervlakte van het kleinste object in de straat bedraagt 113 m², terwijl het grootste object 888 m² groot is. Het pand waarin Oude Zuidbargerstraat 1-A ligt is gebouwd in het jaar 1998. Panden die gebouwd zijn na het jaar 1984 noemen we hier relatief nieuw. Dit object is relatief nieuw in de straat. Het nieuwste gebouw komt er uit het jaar 2013 en het oudste uit het jaar 1900. De volgende gebruiksdoelen zijn geregistreerd voor dit adres: 'woonfunctie'.
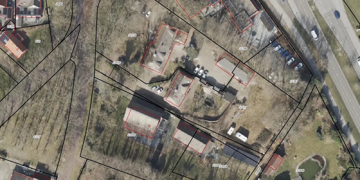
Het adres is gelegen op perceel 12177 in de sectie D en de kadastrale gemeente Emmen. De kadastrale aanduiding is aldus EMN00-D-12177. Het perceel is 2489 m² groot. Dat is kleiner dan de gemiddelde perceeloppervlakte in Emmen, dat op 5228,28 m² ligt. Het kleinste perceel in de kadastrale gemeente is 0 m² groot. De grootste perceeloppervlakte is 1,29 km². Op het perceel bevinden zich geen andere adressen. De huidige grenzen van het perceel zijn digitaal in de Basisregistratie Kadaster (BRK) geregistreerd op 22-12-2005.
Er is geen energielabel geregistreerd voor het adres. Het hoogste energielabel in de straat is C; het laagste is G. Het gemiddelde energielabel is er D. Het adres Oude Zuidbargerstraat 1-A heeft als status: 'verblijfsobject in gebruik'. Het pand waarin dit adres ligt heeft als status: 'pand in gebruik'.
Oude Zuidbargerstraat 1-A is een adres gelegen in de gemeente Emmen, provincie Drenthe. Dit adres is geregistreerd in de Basisregistratie Adressen en Gebouwen (BAG) met als unieke identificatie 0114010000381309.
Het pand op Oude Zuidbargerstraat 1-A is gebouwd in 1998, wat betekent dat het 28 jaar oud is. Dit is een pand van middelbare leeftijd. Het pand is van gemiddelde leeftijd en zal waarschijnlijk verouderde elementen bevatten.
De woning op Oude Zuidbargerstraat 1-A heeft een gebruiksoppervlakte van 274 m². Dit is ruim vergeleken met de gemiddelde Nederlandse woning, die een oppervlakte heeft van ongeveer 119 m². De gebruiksoppervlakte is de maat die wordt gebruikt in de BAG-registratie, de landelijke registratie van de Nederlandse overheid.
Oude Zuidbargerstraat 1-A heeft als functie: wonen. Deze gebruiksfunctie(s) zijn vastgelegd in de BAG-registratie en geven aan waarvoor het adres officieel mag worden gebruikt.
Oude Zuidbargerstraat 1-A is gelegen op kadastraal perceel EMN00D12177. Deze kadastrale aanduiding is uniek en wordt gebruikt door het Kadaster om eigendomsrechten en andere zakelijke rechten vast te leggen. Het perceel maakt onderdeel uit van de kadastrale gemeente Emmen.
Het perceel waarop Oude Zuidbargerstraat 1-A staat heeft een oppervlakte van 2489 m². Dit is een zeer groot perceel. De perceeloppervlakte wordt geregistreerd door het Kadaster. Gedetailleerde informatie over de maten van dit perceel kunt u vinden in het rapport Kadastrale kaart met maatvoering van Oude Zuidbargerstraat 1-A.
De eigenaar van Oude Zuidbargerstraat 1-A is op te vragen op deze pagina.
De informatie over dit adres is afkomstig uit officiële overheidsregistraties, voornamelijk de Basisregistratie Adressen en Gebouwen (BAG) en de Basisregistratie Kadaster (BRK). Deze gegevens worden beheerd door respectievelijk gemeenten en het Kadaster, en worden regelmatig bijgewerkt. Energielabelgegevens komen uit de database van de Rijksdienst voor Ondernemend Nederland (RVO).
