
Hanendorperweg 87-A is een adres in Emst, dat zich bevindt binnen de gemeentegrenzen van Emst en de grenzen van de provincie Gelderland. Het perceel waarop het adres gelegen is heeft een oppervlakte van 430 m². Het verblijfsobject is met 50 m² relatief klein. De oppervlakte van het adres is klein vergeleken met de andere objecten in de straat. De oppervlakte van het kleinste object in de straat bedraagt 4 m², terwijl het grootste object 931 m² groot is. In Nederland komt het grootste deel van de gebouwen uit de periode 1965-1984. Ook het bouwjaar van Hanendorperweg 87-A is afkomstig uit die periode: het betreft namelijk een pand uit 1975. Het bouwjaar is oud vergeleken met dat van de andere panden in de straat. Het oudste bouwjaar is er 1851 en de nieuwste is 2024. De volgende gebruiksdoelen zijn geregistreerd voor dit adres: 'woonfunctie'.
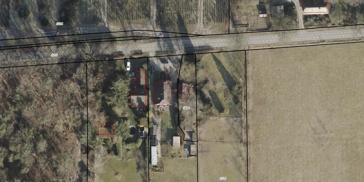
Het adres is gelegen op perceel 1640 in de sectie N en de kadastrale gemeente Epe en Oene. De kadastrale aanduiding is aldus EPE00-N-1640. Het perceel is 430 m² groot. Dat is kleiner dan de gemiddelde perceeloppervlakte in Epe en Oene, dat op 6734,72 m² ligt. Het grootste perceel in de kadastrale gemeente is 1,95 km². Het kleinste perceel heeft een oppervlakte van 0 m². Dit is het enige adres dat aanwezig is op het perceel. De huidige grenzen van het perceel zijn digitaal in de Basisregistratie Kadaster (BRK) geregistreerd op 15-01-2025.
Er is geen energielabel geregistreerd voor het adres. Het hoogste energielabel in de straat is A; het laagste is G. Het gemiddelde energielabel is er D. Het adres Hanendorperweg 87-A heeft als status: 'verblijfsobject in gebruik'. Het pand waarin dit adres ligt heeft als status: 'pand in gebruik'.
Hanendorperweg 87-A is een adres gelegen in de gemeente Epe, provincie Gelderland. Dit adres is geregistreerd in de Basisregistratie Adressen en Gebouwen (BAG) met als unieke identificatie 0232010000021333.
Het pand op Hanendorperweg 87-A is gebouwd in 1975, wat betekent dat het 51 jaar oud is. Dit is een ouder pand. Het pand heeft mogelijk aanzienlijke renovaties nodig om aan de huidige standaarden te voldoen.
De woning op Hanendorperweg 87-A heeft een gebruiksoppervlakte van 50 m². Dit is relatief klein vergeleken met de gemiddelde Nederlandse woning, die een oppervlakte heeft van ongeveer 119 m². De gebruiksoppervlakte is de maat die wordt gebruikt in de BAG-registratie, de landelijke registratie van de Nederlandse overheid.
Hanendorperweg 87-A heeft als functie: wonen. Deze gebruiksfunctie(s) zijn vastgelegd in de BAG-registratie en geven aan waarvoor het adres officieel mag worden gebruikt.
Hanendorperweg 87-A is gelegen op kadastraal perceel EPE00N1640. Deze kadastrale aanduiding is uniek en wordt gebruikt door het Kadaster om eigendomsrechten en andere zakelijke rechten vast te leggen. Het perceel maakt onderdeel uit van de kadastrale gemeente Epe en Oene.
Het perceel waarop Hanendorperweg 87-A staat heeft een oppervlakte van 430 m². Dit is een groot perceel. De perceeloppervlakte wordt geregistreerd door het Kadaster. Gedetailleerde informatie over de maten van dit perceel kunt u vinden in het rapport Kadastrale kaart met maatvoering van Hanendorperweg 87-A.
De eigenaar van Hanendorperweg 87-A is op te vragen op deze pagina.
De informatie over dit adres is afkomstig uit officiële overheidsregistraties, voornamelijk de Basisregistratie Adressen en Gebouwen (BAG) en de Basisregistratie Kadaster (BRK). Deze gegevens worden beheerd door respectievelijk gemeenten en het Kadaster, en worden regelmatig bijgewerkt. Energielabelgegevens komen uit de database van de Rijksdienst voor Ondernemend Nederland (RVO).
