
Oranjeweg 91 is gelegen in de plaats Emst, de gemeente Epe en de provincie Gelderland. Het perceel waarop het verblijfsobject staat is 4940 m² groot. De oppervlakte van het adres is 100 m², wat zich rond het Nederlandse gemiddelde van 119 m² bevindt. Het adres is klein vergeleken met andere objecten in de straat. Het grootste object in de straat heeft een oppervlakte van 1396 m², het kleinste is 4 m² groot. Het adres Oranjeweg 91 ligt in een relatief oud pand uit het jaar 1912. Panden van vóór het jaar 1965 hebben we hier geclassificeerd als oud. In de straat komt het nieuwste gebouw uit het jaar 2022 en het oudste uit 1852. Het bouwjaar van dit object is relatief oud. Het verblijfsobject heeft de volgende gebruiksdoelen: 'woonfunctie' en 'industriefunctie'.
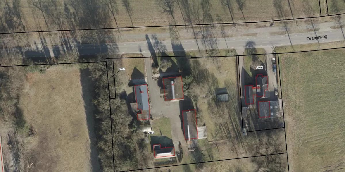
Het adres ligt op het perceel EPE00-P-2152, dat zich in de kadastrale gemeente Epe en Oene bevindt. Het perceel is kleiner dan gemiddeld in Epe en Oene. Het perceel is 4940 m² groot, terwijl het gemiddelde ligt op 6733,94 m². De grootste perceeloppervlakte in de kadastrale gemeente is 1,95 km². De kleinste oppervlakte bedraagt 0 m². Op het perceel zijn 2 adressen aanwezig. De laatste wijziging in het de Basisregistratie Kadaster (BRK) was op 28-06-2000.
Er is geen energielabel geregistreerd voor het adres. Het hoogste energielabel in de straat is A++; het laagste is G. Het gemiddelde energielabel is er C. Het adres Oranjeweg 91 heeft als status: 'verblijfsobject in gebruik'. Het pand waarin dit adres ligt heeft als status: 'pand in gebruik'.
Oranjeweg 91 is een adres gelegen in de gemeente Epe, provincie Gelderland. Dit adres is geregistreerd in de Basisregistratie Adressen en Gebouwen (BAG) met als unieke identificatie 0232010000001442.
Het pand op Oranjeweg 91 is gebouwd in 1912, wat betekent dat het 114 jaar oud is. Dit is een ouder pand. Het pand heeft mogelijk aanzienlijke renovaties nodig om aan de huidige standaarden te voldoen.
De woning op Oranjeweg 91 heeft een gebruiksoppervlakte van 100 m². Dit is onder het gemiddelde vergeleken met de gemiddelde Nederlandse woning, die een oppervlakte heeft van ongeveer 119 m². De gebruiksoppervlakte is de maat die wordt gebruikt in de BAG-registratie, de landelijke registratie van de Nederlandse overheid.
Oranjeweg 91 heeft als functie: wonen en industrie. Deze gebruiksfunctie(s) zijn vastgelegd in de BAG-registratie en geven aan waarvoor het adres officieel mag worden gebruikt.
Oranjeweg 91 is gelegen op kadastraal perceel EPE00P2152. Deze kadastrale aanduiding is uniek en wordt gebruikt door het Kadaster om eigendomsrechten en andere zakelijke rechten vast te leggen. Het perceel maakt onderdeel uit van de kadastrale gemeente Epe en Oene.
Het perceel waarop Oranjeweg 91 staat heeft een oppervlakte van 4940 m². Dit is een zeer groot perceel. De perceeloppervlakte wordt geregistreerd door het Kadaster. Gedetailleerde informatie over de maten van dit perceel kunt u vinden in het rapport Kadastrale kaart met maatvoering van Oranjeweg 91.
De eigenaar van Oranjeweg 91 is op te vragen op deze pagina.
De informatie over dit adres is afkomstig uit officiële overheidsregistraties, voornamelijk de Basisregistratie Adressen en Gebouwen (BAG) en de Basisregistratie Kadaster (BRK). Deze gegevens worden beheerd door respectievelijk gemeenten en het Kadaster, en worden regelmatig bijgewerkt. Energielabelgegevens komen uit de database van de Rijksdienst voor Ondernemend Nederland (RVO).
