
Brilsalamander 8 is gelegen in de plaats Enschede, de gemeente Enschede en de provincie Overijssel. Het object heeft een oppervlakte van 263 m², wat relatief groot is. Het perceel waarop het adres ligt is 3088 m² groot. Dit is het grootste verblijfsobject. Gemiddeld hebben de objecten in de straat een oppervlakte van 211 m². Het kleinste verblijfsobject is er 149 m². Brilsalamander 8 ligt in een gebouw uit het jaar 2023. Daarmee behoort het tot de groep panden van na 1984, die we als relatief nieuw bestempelen. Het gemiddelde bouwjaar in de straat is 2026 en dat van het nieuwste object 2026. In de straat is dit het oudste pand. Voor het verblijfsobject gelden deze gebruiksdoelen: 'woonfunctie'.
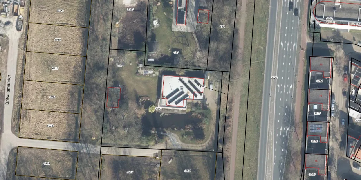
Het adres is gelegen op perceel 3809 in de sectie AA en de kadastrale gemeente Lonneker. De kadastrale aanduiding is aldus LNK00-AA-3809. Het perceel is met 3088 m² relatief groot. Het gemiddelde ligt in de kadastrale gemeente Lonneker op 2630,06 m². Het grootste perceel in de kadastrale gemeente is 1,19 km². Het kleinste perceel heeft een oppervlakte van 0 m². Dit is het enige adres dat aanwezig is op het perceel. De laatste wijziging in het de Basisregistratie Kadaster (BRK) was op 12-03-2025.
Er is geen energielabel geregistreerd voor het adres. Het hoogste energielabel in de straat is G; het laagste is G. Het gemiddelde energielabel is er G. Het adres Brilsalamander 8 heeft als status: 'verblijfsobject in gebruik'. Het pand waarin dit adres ligt heeft als status: 'pand in gebruik'.
Brilsalamander 8 is een adres gelegen in de gemeente Enschede, provincie Overijssel. Dit adres is geregistreerd in de Basisregistratie Adressen en Gebouwen (BAG) met als unieke identificatie 0153010000508431.
Het pand op Brilsalamander 8 is gebouwd in 2023, wat betekent dat het 3 jaar oud is. Dit is een vrij nieuw pand. Het pand is dus waarschijnlijk goed geïsoleerd, geluidsdicht en voldoet aan de huidige bouwstandaarden. Op korte termijn zijn er waarschijnlijk weinig onderhoudskosten.
De woning op Brilsalamander 8 heeft een gebruiksoppervlakte van 263 m². Dit is ruim vergeleken met de gemiddelde Nederlandse woning, die een oppervlakte heeft van ongeveer 119 m². De gebruiksoppervlakte is de maat die wordt gebruikt in de BAG-registratie, de landelijke registratie van de Nederlandse overheid.
Brilsalamander 8 heeft als functie: wonen. Deze gebruiksfunctie(s) zijn vastgelegd in de BAG-registratie en geven aan waarvoor het adres officieel mag worden gebruikt.
Brilsalamander 8 is gelegen op kadastraal perceel LNK00AA3809. Deze kadastrale aanduiding is uniek en wordt gebruikt door het Kadaster om eigendomsrechten en andere zakelijke rechten vast te leggen. Het perceel maakt onderdeel uit van de kadastrale gemeente Lonneker.
Het perceel waarop Brilsalamander 8 staat heeft een oppervlakte van 3088 m². Dit is een zeer groot perceel. De perceeloppervlakte wordt geregistreerd door het Kadaster. Gedetailleerde informatie over de maten van dit perceel kunt u vinden in het rapport Kadastrale kaart met maatvoering van Brilsalamander 8.
De eigenaar van Brilsalamander 8 is op te vragen op deze pagina.
De informatie over dit adres is afkomstig uit officiële overheidsregistraties, voornamelijk de Basisregistratie Adressen en Gebouwen (BAG) en de Basisregistratie Kadaster (BRK). Deze gegevens worden beheerd door respectievelijk gemeenten en het Kadaster, en worden regelmatig bijgewerkt. Energielabelgegevens komen uit de database van de Rijksdienst voor Ondernemend Nederland (RVO).
