
Hengelosestraat 776 is een adres in Enschede, dat zich bevindt binnen de gemeentegrenzen van Enschede en de grenzen van de provincie Overijssel. Het object heeft een oppervlakte van 203 m², wat relatief groot is. Het perceel waarop het adres ligt is 3295 m² groot. De oppervlakte van het adres is klein vergeleken met de andere objecten in de straat. De oppervlakte van het kleinste object in de straat bedraagt 5 m², terwijl het grootste object 1,8 ha groot is. Hengelosestraat 776 ligt in een gebouw uit het jaar 2006. Daarmee behoort het tot de groep panden van na 1984, die we als relatief nieuw bestempelen. Vergeleken met de andere panden in de straat is dit gebouw nieuw. Het vroegste bouwjaar is er 1769 en het laatste is 2026. Het verblijfsobject heeft de volgende gebruiksdoelen: 'woonfunctie'.
Deze woning is voor het laatst verkocht op 1 februari 2026. Meer informatie over deze transactie? Bestel het Woningtransactierapport om de verkoopprijs en andere informatie te zien.
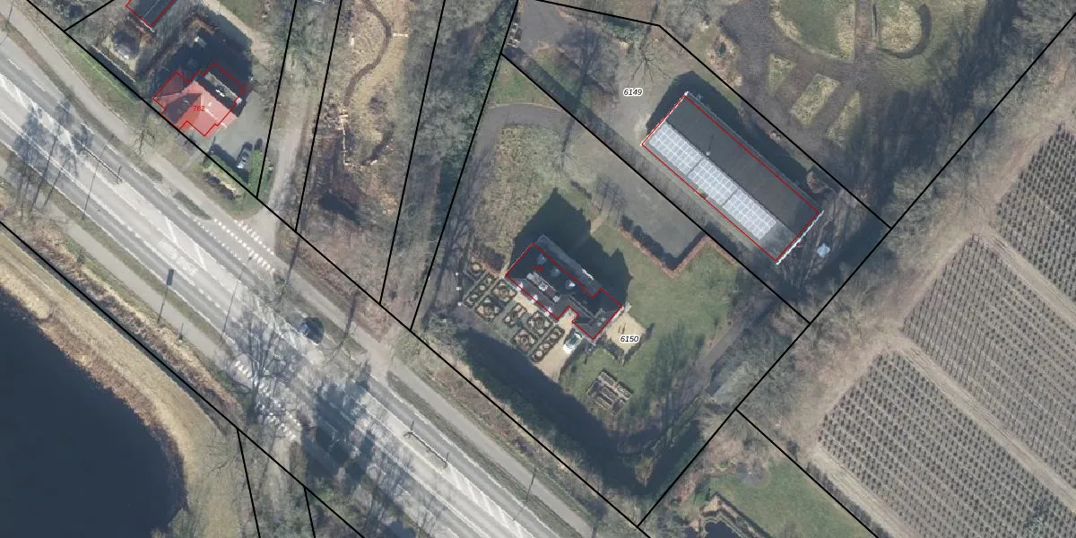
Het adres is gelegen op perceel 6150 in de sectie B en de kadastrale gemeente Lonneker. De kadastrale aanduiding is aldus LNK00-B-6150. De gemiddelde perceeloppervlakte in de kadastrale gemeente Lonneker is 2631,08 m². Dit perceel is met zijn 3295 m² dus groter dan gemiddeld. Het grootste perceel in de kadastrale gemeente is 1,19 km². Het kleinste perceel heeft een oppervlakte van 0 m². Dit is het enige adres dat aanwezig is op het perceel. De huidige grenzen van het perceel zijn digitaal in de Basisregistratie Kadaster (BRK) geregistreerd op 03-07-2020.
Het adres ligt in een gebouw van het type 'vrijstaande woning'. Bij de laatste meting is voor het adres het energielabel A+++ geregistreerd. Het hoogste energielabel in de straat is A+++++; het laagste is G. Het gemiddelde energielabel is er C. Het adres Hengelosestraat 776 heeft als status: 'verblijfsobject in gebruik'. Het pand waarin dit adres ligt heeft als status: 'pand in gebruik'.
Hengelosestraat 776 is een adres gelegen in de gemeente Enschede, provincie Overijssel. Dit adres is geregistreerd in de Basisregistratie Adressen en Gebouwen (BAG) met als unieke identificatie 0153010000358133.
Het pand op Hengelosestraat 776 is gebouwd in 2006, wat betekent dat het 20 jaar oud is. Dit is een relatief modern pand. Ten opzichte van de nationale woningvoorraad is het pand relatief modern, maar er kunnen enkele verouderde elementen zijn die aandacht nodig hebben.
De woning op Hengelosestraat 776 heeft een gebruiksoppervlakte van 203 m². Dit is ruim vergeleken met de gemiddelde Nederlandse woning, die een oppervlakte heeft van ongeveer 119 m². De gebruiksoppervlakte is de maat die wordt gebruikt in de BAG-registratie, de landelijke registratie van de Nederlandse overheid.
Hengelosestraat 776 heeft als functie: wonen. Deze gebruiksfunctie(s) zijn vastgelegd in de BAG-registratie en geven aan waarvoor het adres officieel mag worden gebruikt.
Hengelosestraat 776 is gelegen op kadastraal perceel LNK00B6150. Deze kadastrale aanduiding is uniek en wordt gebruikt door het Kadaster om eigendomsrechten en andere zakelijke rechten vast te leggen. Het perceel maakt onderdeel uit van de kadastrale gemeente Lonneker.
Het perceel waarop Hengelosestraat 776 staat heeft een oppervlakte van 3295 m². Dit is een zeer groot perceel. De perceeloppervlakte wordt geregistreerd door het Kadaster. Gedetailleerde informatie over de maten van dit perceel kunt u vinden in het rapport Kadastrale kaart met maatvoering van Hengelosestraat 776.
De eigenaar van Hengelosestraat 776 is op te vragen op deze pagina.
De informatie over dit adres is afkomstig uit officiële overheidsregistraties, voornamelijk de Basisregistratie Adressen en Gebouwen (BAG) en de Basisregistratie Kadaster (BRK). Deze gegevens worden beheerd door respectievelijk gemeenten en het Kadaster, en worden regelmatig bijgewerkt. Energielabelgegevens komen uit de database van de Rijksdienst voor Ondernemend Nederland (RVO).
