
Het adres Voortsweg 501 bevindt zich in de plaats Enschede, in de gemeente Enschede en de provincie Overijssel. De oppervlakte van het adres is 112 m². Dat is vergelijkbaar met het gemiddelde Nederlandse oppervlakte van 119 m². De oppervlakte van het perceel waarin het adres ligt is 390 m². Het adres is klein vergeleken met andere objecten in de straat. Het grootste object in de straat heeft een oppervlakte van 835 m², het kleinste is 15 m² groot. Het gebouw waarin Voortsweg 501 ligt komt uit het jaar 1925. Objecten die gebouwd zijn vóór 1965 classificeren we hier als oud. Het nieuwste gebouw in de straat komt uit 2016 en het oudste uit 1890. Dit object is relatief oud. Voor het verblijfsobject gelden deze gebruiksdoelen: 'woonfunctie'.
Deze woning is voor het laatst verkocht op 1 augustus 1997. Meer informatie over deze transactie? Bestel het Woningtransactierapport om de verkoopprijs en andere informatie te zien.
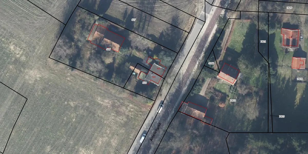
Het adres ligt op het perceel LNK00-AM-533, dat zich in de kadastrale gemeente Lonneker bevindt. De gemiddelde perceelgrootte in Lonneker is 2632,05 m². Dit perceel is kleiner: de perceeloppervlakte bedraagt 390 m². Het kleinste perceel in de kadastrale gemeente is 0 m² groot. De grootste perceeloppervlakte is 1,19 km². Op het perceel bevinden zich geen andere adressen. In de Basisregistratie Kadaster (BRK) werden de grenzen van het perceel geregistreerd op 03-11-2016.
Er is geen energielabel geregistreerd voor het adres. Het hoogste energielabel in de straat is A; het laagste is G. Het gemiddelde energielabel is er C. Het adres Voortsweg 501 heeft als status: 'verblijfsobject in gebruik'. Het pand waarin dit adres ligt heeft als status: 'pand in gebruik'.
Voortsweg 501 is een adres gelegen in de gemeente Enschede, provincie Overijssel. Dit adres is geregistreerd in de Basisregistratie Adressen en Gebouwen (BAG) met als unieke identificatie 0153010000302877.
Het pand op Voortsweg 501 is gebouwd in 1925, wat betekent dat het 101 jaar oud is. Dit is een ouder pand. Het pand heeft mogelijk aanzienlijke renovaties nodig om aan de huidige standaarden te voldoen.
De woning op Voortsweg 501 heeft een gebruiksoppervlakte van 112 m². Dit is onder het gemiddelde vergeleken met de gemiddelde Nederlandse woning, die een oppervlakte heeft van ongeveer 119 m². De gebruiksoppervlakte is de maat die wordt gebruikt in de BAG-registratie, de landelijke registratie van de Nederlandse overheid.
Voortsweg 501 heeft als functie: wonen. Deze gebruiksfunctie(s) zijn vastgelegd in de BAG-registratie en geven aan waarvoor het adres officieel mag worden gebruikt.
Voortsweg 501 is gelegen op kadastraal perceel LNK00AM533. Deze kadastrale aanduiding is uniek en wordt gebruikt door het Kadaster om eigendomsrechten en andere zakelijke rechten vast te leggen. Het perceel maakt onderdeel uit van de kadastrale gemeente Lonneker.
Het perceel waarop Voortsweg 501 staat heeft een oppervlakte van 390 m². Dit is een groot perceel. De perceeloppervlakte wordt geregistreerd door het Kadaster. Gedetailleerde informatie over de maten van dit perceel kunt u vinden in het rapport Kadastrale kaart met maatvoering van Voortsweg 501.
De eigenaar van Voortsweg 501 is op te vragen op deze pagina.
De informatie over dit adres is afkomstig uit officiële overheidsregistraties, voornamelijk de Basisregistratie Adressen en Gebouwen (BAG) en de Basisregistratie Kadaster (BRK). Deze gegevens worden beheerd door respectievelijk gemeenten en het Kadaster, en worden regelmatig bijgewerkt. Energielabelgegevens komen uit de database van de Rijksdienst voor Ondernemend Nederland (RVO).
