
Leijerweerdsdijk 10 is gelegen in de plaats Enter, de gemeente Wierden en de provincie Overijssel. Het perceel waarop het adres gelegen is heeft een oppervlakte van 300 m². Het verblijfsobject is met 82 m² relatief klein. Er zijn geen kleinere objecten in deze straat. De gemiddelde oppervlakte is er 258 m². Het grootste verblijfsobject is 555 m². Het pand waarin Leijerweerdsdijk 10 ligt is gebouwd in het jaar 2020. Panden die gebouwd zijn na het jaar 1984 noemen we hier relatief nieuw. Vergeleken met de andere panden in de straat is dit gebouw nieuw. Het vroegste bouwjaar is er 1931 en het laatste is 2023. Het verblijfsobject heeft de volgende gebruiksdoelen: 'woonfunctie'.
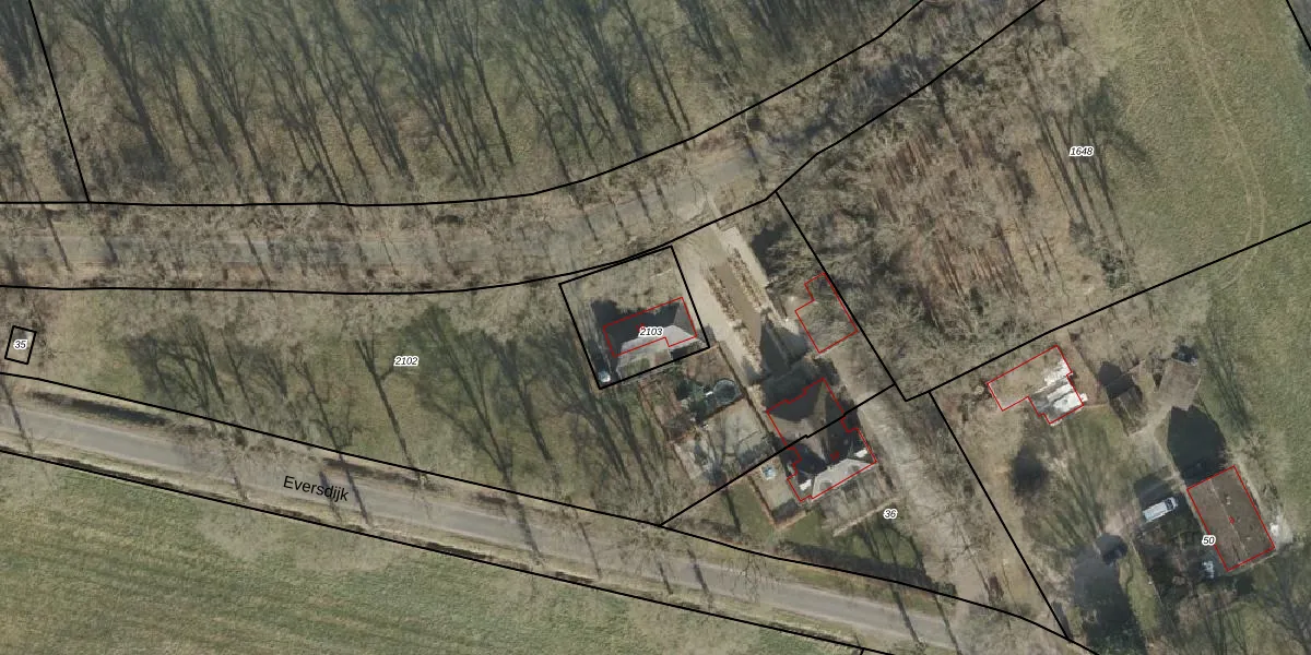
Het adres ligt op het perceel WDN02-Z-2103, dat zich in de kadastrale gemeente Wierden bevindt. Het perceel is kleiner dan gemiddeld in Wierden. Het perceel is 300 m² groot, terwijl het gemiddelde ligt op 5332,84 m². Het kleinste perceel in de kadastrale gemeente is 0 m² groot. De grootste perceeloppervlakte is 1,19 km². Dit is het enige adres dat aanwezig is op het perceel. De laatste wijziging in het de Basisregistratie Kadaster (BRK) was op 11-06-2021.
Er is geen energielabel geregistreerd voor het adres. Het hoogste energielabel in de straat is A; het laagste is G. Het gemiddelde energielabel is er A. Het adres Leijerweerdsdijk 10 heeft als status: 'verblijfsobject in gebruik'. Het pand waarin dit adres ligt heeft als status: 'pand in gebruik'.
Leijerweerdsdijk 10 is een adres gelegen in de gemeente Wierden, provincie Overijssel. Dit adres is geregistreerd in de Basisregistratie Adressen en Gebouwen (BAG) met als unieke identificatie 0189010000045213.
Het pand op Leijerweerdsdijk 10 is gebouwd in 2020, wat betekent dat het 6 jaar oud is. Dit is een vrij nieuw pand. Het pand is dus waarschijnlijk goed geïsoleerd, geluidsdicht en voldoet aan de huidige bouwstandaarden. Op korte termijn zijn er waarschijnlijk weinig onderhoudskosten.
De woning op Leijerweerdsdijk 10 heeft een gebruiksoppervlakte van 82 m². Dit is onder het gemiddelde vergeleken met de gemiddelde Nederlandse woning, die een oppervlakte heeft van ongeveer 119 m². De gebruiksoppervlakte is de maat die wordt gebruikt in de BAG-registratie, de landelijke registratie van de Nederlandse overheid.
Leijerweerdsdijk 10 heeft als functie: wonen. Deze gebruiksfunctie(s) zijn vastgelegd in de BAG-registratie en geven aan waarvoor het adres officieel mag worden gebruikt.
Leijerweerdsdijk 10 is gelegen op kadastraal perceel WDN02Z2103. Deze kadastrale aanduiding is uniek en wordt gebruikt door het Kadaster om eigendomsrechten en andere zakelijke rechten vast te leggen. Het perceel maakt onderdeel uit van de kadastrale gemeente Wierden.
Het perceel waarop Leijerweerdsdijk 10 staat heeft een oppervlakte van 300 m². Dit is een groot perceel. De perceeloppervlakte wordt geregistreerd door het Kadaster. Gedetailleerde informatie over de maten van dit perceel kunt u vinden in het rapport Kadastrale kaart met maatvoering van Leijerweerdsdijk 10.
De eigenaar van Leijerweerdsdijk 10 is op te vragen op deze pagina.
De informatie over dit adres is afkomstig uit officiële overheidsregistraties, voornamelijk de Basisregistratie Adressen en Gebouwen (BAG) en de Basisregistratie Kadaster (BRK). Deze gegevens worden beheerd door respectievelijk gemeenten en het Kadaster, en worden regelmatig bijgewerkt. Energielabelgegevens komen uit de database van de Rijksdienst voor Ondernemend Nederland (RVO).
