
Boskampweg 2 is een adres in Epe, dat zich bevindt binnen de gemeentegrenzen van Epe en de grenzen van de provincie Gelderland. De oppervlakte van het verblijfsobject is met 204 m² aan de grote kant. Het perceel heeft een oppervlakte van 1610 m². Er zijn geen kleinere objecten in deze straat. De gemiddelde oppervlakte is er 209 m². Het grootste verblijfsobject is 214 m². In het jaar 1985 is het pand waarin Boskampweg 2 ligt gebouwd. Dat is relatief recent: de meeste gebouwen in Nederland zijn gebouwd in de periode 1965-1984. Dit pand is het meest recent exemplaar in de straat. Het oudste object komt er uit 1924 en het gemiddelde bouwjaar is 1955. Voor het verblijfsobject gelden deze gebruiksdoelen: 'woonfunctie'.
Deze woning is voor het laatst verkocht op 1 juni 2012. Meer informatie over deze transactie? Bestel het Woningtransactierapport om de verkoopprijs en andere informatie te zien.
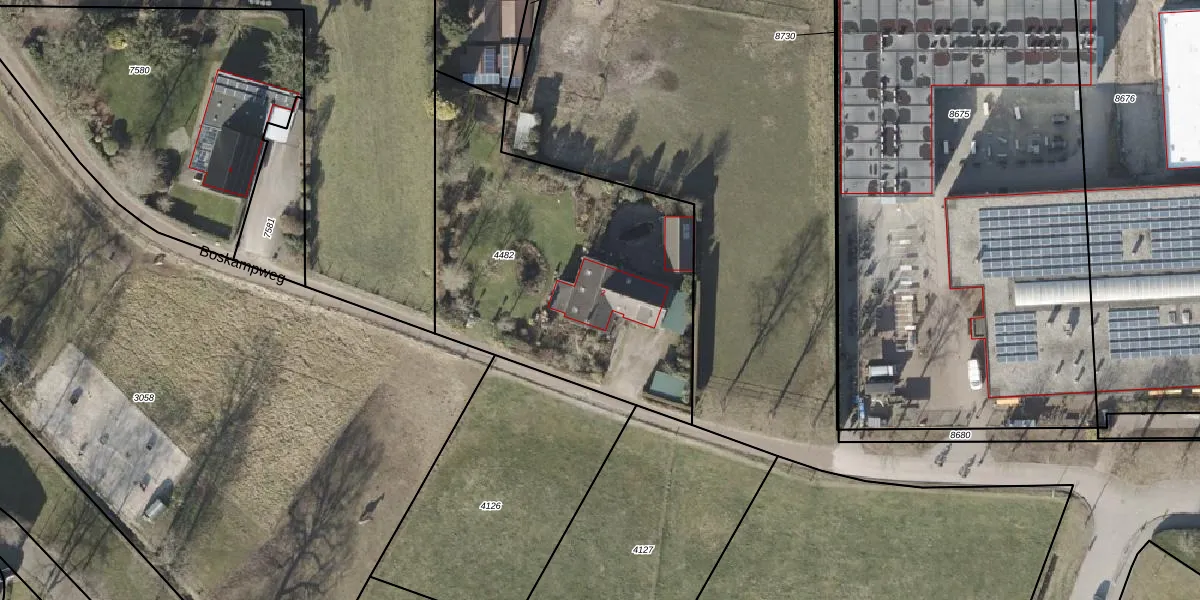
Het adres ligt op het perceel EPE00-U-4482, dat zich in de kadastrale gemeente Epe en Oene bevindt. De gemiddelde perceelgrootte in Epe en Oene is 6738,62 m². Dit perceel is kleiner: de perceeloppervlakte bedraagt 1610 m². De grootste perceeloppervlakte in de kadastrale gemeente is 1,95 km². De kleinste oppervlakte bedraagt 0 m². Op het perceel bevinden zich geen andere adressen. De huidige grenzen van het perceel zijn digitaal in de Basisregistratie Kadaster (BRK) geregistreerd op 11-04-2013.
Er is geen energielabel geregistreerd voor het adres. Het hoogste energielabel in de straat is E; het laagste is G. Het gemiddelde energielabel is er E. Het adres Boskampweg 2 heeft als status: 'verblijfsobject in gebruik'. Het pand waarin dit adres ligt heeft als status: 'pand in gebruik'.
Boskampweg 2 is een adres gelegen in de gemeente Epe, provincie Gelderland. Dit adres is geregistreerd in de Basisregistratie Adressen en Gebouwen (BAG) met als unieke identificatie 0232010000002032.
Het pand op Boskampweg 2 is gebouwd in 1985, wat betekent dat het 41 jaar oud is. Dit is een pand van middelbare leeftijd. Het pand is van gemiddelde leeftijd en zal waarschijnlijk verouderde elementen bevatten.
De woning op Boskampweg 2 heeft een gebruiksoppervlakte van 204 m². Dit is ruim vergeleken met de gemiddelde Nederlandse woning, die een oppervlakte heeft van ongeveer 119 m². De gebruiksoppervlakte is de maat die wordt gebruikt in de BAG-registratie, de landelijke registratie van de Nederlandse overheid.
Boskampweg 2 heeft als functie: wonen. Deze gebruiksfunctie(s) zijn vastgelegd in de BAG-registratie en geven aan waarvoor het adres officieel mag worden gebruikt.
Boskampweg 2 is gelegen op kadastraal perceel EPE00U4482. Deze kadastrale aanduiding is uniek en wordt gebruikt door het Kadaster om eigendomsrechten en andere zakelijke rechten vast te leggen. Het perceel maakt onderdeel uit van de kadastrale gemeente Epe en Oene.
Het perceel waarop Boskampweg 2 staat heeft een oppervlakte van 1610 m². Dit is een zeer groot perceel. De perceeloppervlakte wordt geregistreerd door het Kadaster. Gedetailleerde informatie over de maten van dit perceel kunt u vinden in het rapport Kadastrale kaart met maatvoering van Boskampweg 2.
De eigenaar van Boskampweg 2 is op te vragen op deze pagina.
De informatie over dit adres is afkomstig uit officiële overheidsregistraties, voornamelijk de Basisregistratie Adressen en Gebouwen (BAG) en de Basisregistratie Kadaster (BRK). Deze gegevens worden beheerd door respectievelijk gemeenten en het Kadaster, en worden regelmatig bijgewerkt. Energielabelgegevens komen uit de database van de Rijksdienst voor Ondernemend Nederland (RVO).
