
Het adres Beekweg 17 bevindt zich in de plaats Erica, in de gemeente Erica en de provincie Drenthe. De oppervlakte bedraagt 540 m², waarmee het adres groter dan gemiddeld is. De grootte van het perceel waarop het adres ligt is 710 m². Het adres is klein vergeleken met andere objecten in de straat. Het grootste object in de straat heeft een oppervlakte van 2,4 ha, het kleinste is 5 m² groot. Beekweg 17 bevindt zich in een pand uit het jaar 1960. Daarmee behoort het tot de groep relatief oude panden in Nederland die gebouwd zijn vóór 1965. In de straat komt het nieuwste gebouw uit het jaar 2021 en het oudste uit 1906. Het bouwjaar van dit object is relatief oud. De volgende gebruiksdoelen zijn geregistreerd voor dit adres: 'woonfunctie' en 'industriefunctie'.
Deze woning is voor het laatst verkocht op 1 augustus 2008. Meer informatie over deze transactie? Bestel het Woningtransactierapport om de verkoopprijs en andere informatie te zien.
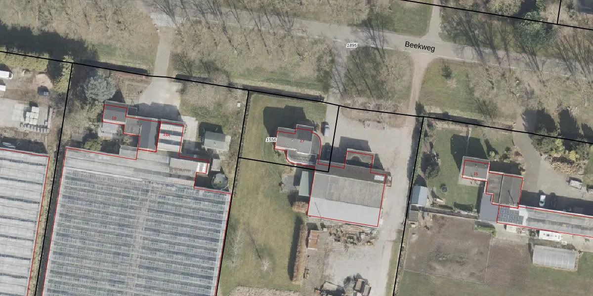
Het adres ligt op het perceel EMN00-AG-1556, dat zich in de kadastrale gemeente Emmen bevindt. Het perceel is 710 m² groot. Dat is kleiner dan de gemiddelde perceeloppervlakte in Emmen, dat op 5228,28 m² ligt. Het grootste perceel in de kadastrale gemeente is 1,29 km². Het kleinste perceel heeft een oppervlakte van 0 m². Er zijn geen andere adressen aanwezig op het perceel. In de Basisregistratie Kadaster (BRK) werden de grenzen van het perceel geregistreerd op 18-03-2010.
Er is geen energielabel geregistreerd voor het adres. Het hoogste energielabel in de straat is A+; het laagste is G. Het gemiddelde energielabel is er C. Het adres Beekweg 17 heeft als status: 'verblijfsobject in gebruik'. Het pand waarin dit adres ligt heeft als status: 'pand in gebruik'.
Beekweg 17 is een adres gelegen in de gemeente Emmen, provincie Drenthe. Dit adres is geregistreerd in de Basisregistratie Adressen en Gebouwen (BAG) met als unieke identificatie 0114010000275141.
Het pand op Beekweg 17 is gebouwd in 1960, wat betekent dat het 66 jaar oud is. Dit is een ouder pand. Het pand heeft mogelijk aanzienlijke renovaties nodig om aan de huidige standaarden te voldoen.
De woning op Beekweg 17 heeft een gebruiksoppervlakte van 540 m². Dit is ruim vergeleken met de gemiddelde Nederlandse woning, die een oppervlakte heeft van ongeveer 119 m². De gebruiksoppervlakte is de maat die wordt gebruikt in de BAG-registratie, de landelijke registratie van de Nederlandse overheid.
Beekweg 17 heeft als functie: wonen en industrie. Deze gebruiksfunctie(s) zijn vastgelegd in de BAG-registratie en geven aan waarvoor het adres officieel mag worden gebruikt.
Beekweg 17 is gelegen op kadastraal perceel EMN00AG1556. Deze kadastrale aanduiding is uniek en wordt gebruikt door het Kadaster om eigendomsrechten en andere zakelijke rechten vast te leggen. Het perceel maakt onderdeel uit van de kadastrale gemeente Emmen.
Het perceel waarop Beekweg 17 staat heeft een oppervlakte van 710 m². Dit is een groot perceel. De perceeloppervlakte wordt geregistreerd door het Kadaster. Gedetailleerde informatie over de maten van dit perceel kunt u vinden in het rapport Kadastrale kaart met maatvoering van Beekweg 17.
De eigenaar van Beekweg 17 is op te vragen op deze pagina.
De informatie over dit adres is afkomstig uit officiële overheidsregistraties, voornamelijk de Basisregistratie Adressen en Gebouwen (BAG) en de Basisregistratie Kadaster (BRK). Deze gegevens worden beheerd door respectievelijk gemeenten en het Kadaster, en worden regelmatig bijgewerkt. Energielabelgegevens komen uit de database van de Rijksdienst voor Ondernemend Nederland (RVO).
