
Buitenbrinkweg 57 is gelegen in de plaats Ermelo, de gemeente Ermelo en de provincie Gelderland. Het verblijfsobject is vergeleken met het Nederlandse gemiddelde aan de kleine kant: de oppervlakte is 92 m². Het perceel waarop het adres zich bevindt heeft een oppervlakte van 3050 m². Het adres is klein vergeleken met andere objecten in de straat. Het grootste object in de straat heeft een oppervlakte van 1217 m², het kleinste is 6 m² groot. Het gebouw waarin Buitenbrinkweg 57 ligt komt uit het jaar 1939. Objecten die gebouwd zijn vóór 1965 classificeren we hier als oud. Het nieuwste gebouw in de straat komt uit 2026 en het oudste uit 1611. Dit object is relatief oud. De volgende gebruiksdoelen zijn geregistreerd voor dit adres: 'woonfunctie'.
Deze woning is voor het laatst verkocht op 1 maart 2014. Meer informatie over deze transactie? Bestel het Woningtransactierapport om de verkoopprijs en andere informatie te zien.
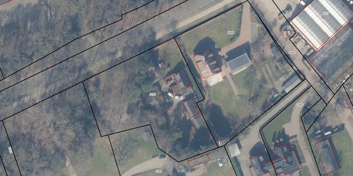
Het adres ligt op het perceel EML00-I-6291, dat zich in de kadastrale gemeente Ermelo bevindt. Het perceel is 3050 m² groot. Dat is kleiner dan de gemiddelde perceeloppervlakte in Ermelo, dat op 5293,46 m² ligt. Het kleinste perceel in de kadastrale gemeente is 0 m² groot. De grootste perceeloppervlakte is 3,90 km². Op het perceel bevinden zich geen andere adressen. De laatste wijziging in het de Basisregistratie Kadaster (BRK) was op 21-05-2012.
Er is geen energielabel geregistreerd voor het adres. Het hoogste energielabel in de straat is A++++; het laagste is G. Het gemiddelde energielabel is er C. Het adres Buitenbrinkweg 57 heeft als status: 'verblijfsobject in gebruik'. Het pand waarin dit adres ligt heeft als status: 'pand in gebruik'.
Buitenbrinkweg 57 is een adres gelegen in de gemeente Ermelo, provincie Gelderland. Dit adres is geregistreerd in de Basisregistratie Adressen en Gebouwen (BAG) met als unieke identificatie 0233010000000754.
Het pand op Buitenbrinkweg 57 is gebouwd in 1939, wat betekent dat het 87 jaar oud is. Dit is een ouder pand. Het pand heeft mogelijk aanzienlijke renovaties nodig om aan de huidige standaarden te voldoen.
De woning op Buitenbrinkweg 57 heeft een gebruiksoppervlakte van 92 m². Dit is onder het gemiddelde vergeleken met de gemiddelde Nederlandse woning, die een oppervlakte heeft van ongeveer 119 m². De gebruiksoppervlakte is de maat die wordt gebruikt in de BAG-registratie, de landelijke registratie van de Nederlandse overheid.
Buitenbrinkweg 57 heeft als functie: wonen. Deze gebruiksfunctie(s) zijn vastgelegd in de BAG-registratie en geven aan waarvoor het adres officieel mag worden gebruikt.
Buitenbrinkweg 57 is gelegen op kadastraal perceel EML00I6291. Deze kadastrale aanduiding is uniek en wordt gebruikt door het Kadaster om eigendomsrechten en andere zakelijke rechten vast te leggen. Het perceel maakt onderdeel uit van de kadastrale gemeente Ermelo.
Het perceel waarop Buitenbrinkweg 57 staat heeft een oppervlakte van 3050 m². Dit is een zeer groot perceel. De perceeloppervlakte wordt geregistreerd door het Kadaster. Gedetailleerde informatie over de maten van dit perceel kunt u vinden in het rapport Kadastrale kaart met maatvoering van Buitenbrinkweg 57.
De eigenaar van Buitenbrinkweg 57 is op te vragen op deze pagina.
De informatie over dit adres is afkomstig uit officiële overheidsregistraties, voornamelijk de Basisregistratie Adressen en Gebouwen (BAG) en de Basisregistratie Kadaster (BRK). Deze gegevens worden beheerd door respectievelijk gemeenten en het Kadaster, en worden regelmatig bijgewerkt. Energielabelgegevens komen uit de database van de Rijksdienst voor Ondernemend Nederland (RVO).
