
Het adres Garderenseweg 174-A bevindt zich in de plaats Ermelo, in de gemeente Ermelo en de provincie Gelderland. Het verblijfsobject is vergeleken met het Nederlandse gemiddelde aan de kleine kant: de oppervlakte is 69 m². Het perceel waarop het adres zich bevindt heeft een oppervlakte van 5270 m². Het adres is klein vergeleken met andere objecten in de straat. Het grootste object in de straat heeft een oppervlakte van 774 m², het kleinste is 8 m² groot. Het pand waarin Garderenseweg 174-A ligt is gebouwd in het jaar 2020. Panden die gebouwd zijn na het jaar 1984 noemen we hier relatief nieuw. Dit object is relatief nieuw in de straat. Het nieuwste gebouw komt er uit het jaar 2025 en het oudste uit het jaar 1800. Het verblijfsobject heeft de volgende gebruiksdoelen: 'woonfunctie'.
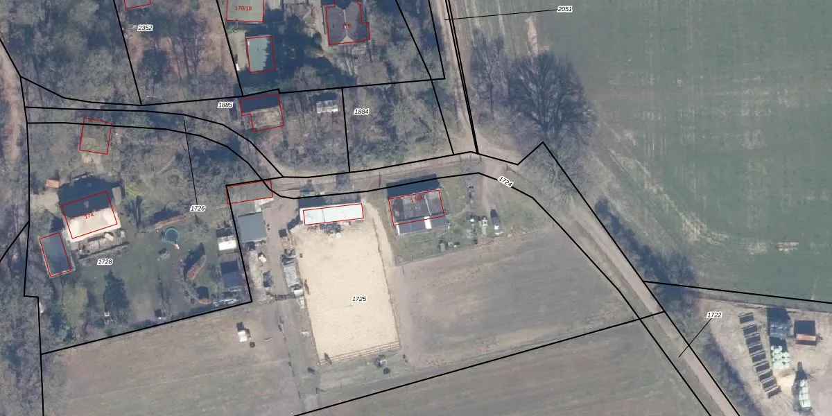
Het adres ligt op het perceel EML00-D-1725, dat zich in de kadastrale gemeente Ermelo bevindt. Het perceel is kleiner dan gemiddeld in Ermelo. Het perceel is 5270 m² groot, terwijl het gemiddelde ligt op 5291,54 m². Het kleinste perceel in de kadastrale gemeente is 0 m² groot. De grootste perceeloppervlakte is 3,90 km². Op het perceel bevinden zich geen andere adressen. In de Basisregistratie Kadaster (BRK) werden de grenzen van het perceel geregistreerd op 30-09-2002.
Er is geen energielabel geregistreerd voor het adres. Het hoogste energielabel in de straat is A+++; het laagste is G. Het gemiddelde energielabel is er C. Het adres Garderenseweg 174-A heeft als status: 'verblijfsobject in gebruik'. Het pand waarin dit adres ligt heeft als status: 'pand in gebruik'.
Garderenseweg 174-A is een adres gelegen in de gemeente Ermelo, provincie Gelderland. Dit adres is geregistreerd in de Basisregistratie Adressen en Gebouwen (BAG) met als unieke identificatie 0233019900031362.
Het pand op Garderenseweg 174-A is gebouwd in 2020, wat betekent dat het 6 jaar oud is. Dit is een vrij nieuw pand. Het pand is dus waarschijnlijk goed geïsoleerd, geluidsdicht en voldoet aan de huidige bouwstandaarden. Op korte termijn zijn er waarschijnlijk weinig onderhoudskosten.
De woning op Garderenseweg 174-A heeft een gebruiksoppervlakte van 69 m². Dit is relatief klein vergeleken met de gemiddelde Nederlandse woning, die een oppervlakte heeft van ongeveer 119 m². De gebruiksoppervlakte is de maat die wordt gebruikt in de BAG-registratie, de landelijke registratie van de Nederlandse overheid.
Garderenseweg 174-A heeft als functie: wonen. Deze gebruiksfunctie(s) zijn vastgelegd in de BAG-registratie en geven aan waarvoor het adres officieel mag worden gebruikt.
Garderenseweg 174-A is gelegen op kadastraal perceel EML00D1725. Deze kadastrale aanduiding is uniek en wordt gebruikt door het Kadaster om eigendomsrechten en andere zakelijke rechten vast te leggen. Het perceel maakt onderdeel uit van de kadastrale gemeente Ermelo.
Het perceel waarop Garderenseweg 174-A staat heeft een oppervlakte van 5270 m². Dit is een zeer groot perceel. De perceeloppervlakte wordt geregistreerd door het Kadaster. Gedetailleerde informatie over de maten van dit perceel kunt u vinden in het rapport Kadastrale kaart met maatvoering van Garderenseweg 174-A.
De eigenaar van Garderenseweg 174-A is op te vragen op deze pagina.
De informatie over dit adres is afkomstig uit officiële overheidsregistraties, voornamelijk de Basisregistratie Adressen en Gebouwen (BAG) en de Basisregistratie Kadaster (BRK). Deze gegevens worden beheerd door respectievelijk gemeenten en het Kadaster, en worden regelmatig bijgewerkt. Energielabelgegevens komen uit de database van de Rijksdienst voor Ondernemend Nederland (RVO).
