
Het adres Oude Nijkerkerweg 108 bevindt zich in de plaats Ermelo, in de gemeente Ermelo en de provincie Gelderland. Het verblijfsobject is vergeleken met het Nederlandse gemiddelde aan de kleine kant: de oppervlakte is 60 m². Het perceel waarop het adres zich bevindt heeft een oppervlakte van 310 m². Het object is klein ten opzichte van de andere adressen in de straat. Het grootste verblijfsobject is 3000 m² groot en het kleinste is 10 m². Oude Nijkerkerweg 108 bevindt zich in een pand uit het jaar 1920. Daarmee behoort het tot de groep relatief oude panden in Nederland die gebouwd zijn vóór 1965. Het nieuwste gebouw in de straat komt uit 2026 en het oudste uit 1500. Dit object is relatief oud. Het verblijfsobject heeft de volgende gebruiksdoelen: 'woonfunctie' en 'industriefunctie'.
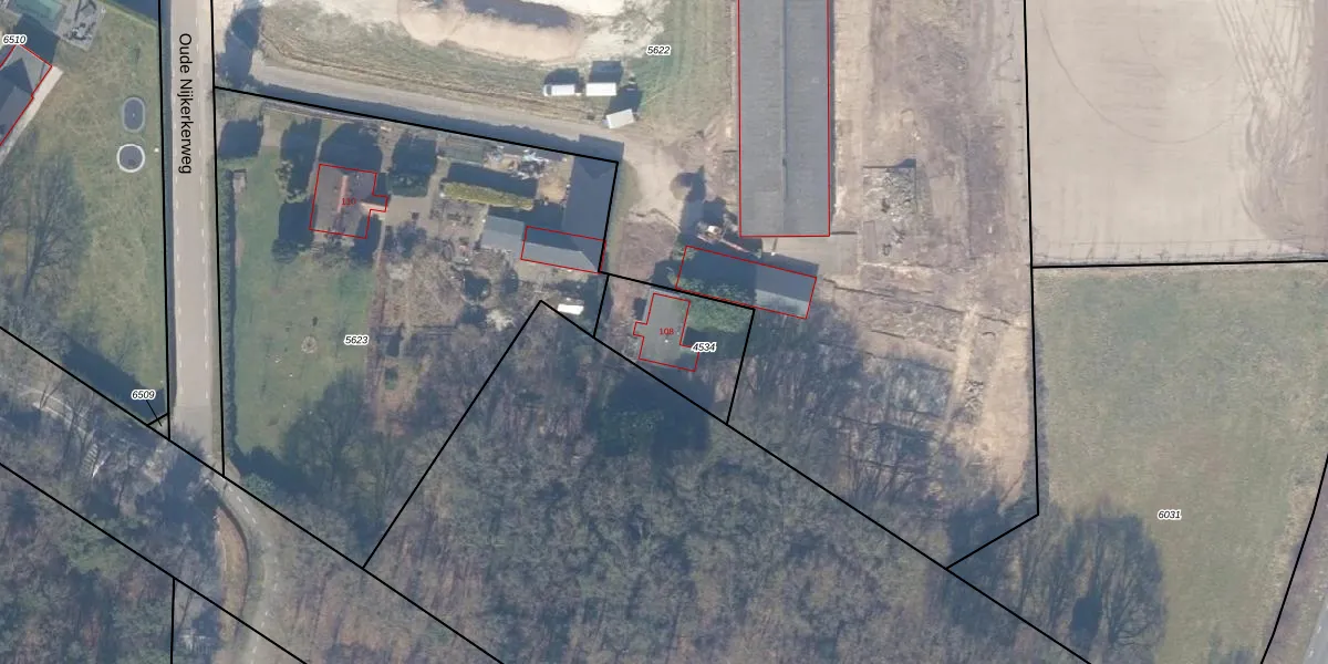
Het perceel waarop het adres ligt is EML00-I-4534. De afkorting 'EML00' staat voor kadastrale gemeente Ermelo. Het perceel is kleiner dan gemiddeld in Ermelo. Het perceel is 310 m² groot, terwijl het gemiddelde ligt op 5290,9 m². Het grootste perceel in de kadastrale gemeente is 3,90 km². Het kleinste perceel heeft een oppervlakte van 0 m². Op het perceel bevinden zich geen andere adressen. In de Basisregistratie Kadaster (BRK) werden de grenzen van het perceel geregistreerd op 03-05-2002.
Er is geen energielabel geregistreerd voor het adres. Het hoogste energielabel in de straat is A; het laagste is G. Het gemiddelde energielabel is er D. Het adres Oude Nijkerkerweg 108 heeft als status: 'verblijfsobject in gebruik'. Het pand waarin dit adres ligt heeft als status: 'pand in gebruik'.
Oude Nijkerkerweg 108 is een adres gelegen in de gemeente Ermelo, provincie Gelderland. Dit adres is geregistreerd in de Basisregistratie Adressen en Gebouwen (BAG) met als unieke identificatie 0233010000013604.
Het pand op Oude Nijkerkerweg 108 is gebouwd in 1920, wat betekent dat het 106 jaar oud is. Dit is een ouder pand. Het pand heeft mogelijk aanzienlijke renovaties nodig om aan de huidige standaarden te voldoen.
De woning op Oude Nijkerkerweg 108 heeft een gebruiksoppervlakte van 60 m². Dit is relatief klein vergeleken met de gemiddelde Nederlandse woning, die een oppervlakte heeft van ongeveer 119 m². De gebruiksoppervlakte is de maat die wordt gebruikt in de BAG-registratie, de landelijke registratie van de Nederlandse overheid.
Oude Nijkerkerweg 108 heeft als functie: wonen en industrie. Deze gebruiksfunctie(s) zijn vastgelegd in de BAG-registratie en geven aan waarvoor het adres officieel mag worden gebruikt.
Oude Nijkerkerweg 108 is gelegen op kadastraal perceel EML00I4534. Deze kadastrale aanduiding is uniek en wordt gebruikt door het Kadaster om eigendomsrechten en andere zakelijke rechten vast te leggen. Het perceel maakt onderdeel uit van de kadastrale gemeente Ermelo.
Het perceel waarop Oude Nijkerkerweg 108 staat heeft een oppervlakte van 310 m². Dit is een groot perceel. De perceeloppervlakte wordt geregistreerd door het Kadaster. Gedetailleerde informatie over de maten van dit perceel kunt u vinden in het rapport Kadastrale kaart met maatvoering van Oude Nijkerkerweg 108.
De eigenaar van Oude Nijkerkerweg 108 is op te vragen op deze pagina.
De informatie over dit adres is afkomstig uit officiële overheidsregistraties, voornamelijk de Basisregistratie Adressen en Gebouwen (BAG) en de Basisregistratie Kadaster (BRK). Deze gegevens worden beheerd door respectievelijk gemeenten en het Kadaster, en worden regelmatig bijgewerkt. Energielabelgegevens komen uit de database van de Rijksdienst voor Ondernemend Nederland (RVO).
