
Rodeschuurderwegje 9-42 is een adres in Ermelo, dat zich bevindt binnen de gemeentegrenzen van Ermelo en de grenzen van de provincie Gelderland. De oppervlakte van het adres is 120 m². Dat is vergelijkbaar met het gemiddelde Nederlandse oppervlakte van 119 m². De oppervlakte van het perceel waarin het adres ligt is 182 m². Vergeleken met de andere verblijfsobjecten in de straat is dit object groot. De oppervlakte van het grootste object in de straat is 364 m², die van het kleinste bedraagt 21 m². In het jaar 2024 is het pand waarin Rodeschuurderwegje 9-42 ligt gebouwd. Dat is relatief recent: de meeste gebouwen in Nederland zijn gebouwd in de periode 1965-1984. Dit object is relatief nieuw in de straat. Het nieuwste gebouw komt er uit het jaar 2026 en het oudste uit het jaar 1861. De volgende gebruiksdoelen zijn geregistreerd voor dit adres: 'woonfunctie'.
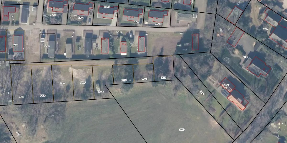
Het adres is gelegen op perceel 7510 in de sectie I en de kadastrale gemeente Ermelo. De kadastrale aanduiding is aldus EML00-I-7510. Het perceel is 182 m² groot. Dat is kleiner dan de gemiddelde perceeloppervlakte in Ermelo, dat op 5291,54 m² ligt. De grootste perceeloppervlakte in de kadastrale gemeente is 3,90 km². De kleinste oppervlakte bedraagt 0 m². Op het perceel bevinden zich geen andere adressen. De huidige grenzen van het perceel zijn digitaal in de Basisregistratie Kadaster (BRK) geregistreerd op 04-12-2024.
Er is geen energielabel geregistreerd voor het adres. Het hoogste energielabel in de straat is A+++; het laagste is G. Het gemiddelde energielabel is er C. Het adres Rodeschuurderwegje 9-42 heeft als status: 'verblijfsobject gevormd'. Het pand waarin dit adres ligt heeft als status: 'bouwvergunning verleend'.
Rodeschuurderwegje 9-42 is een adres gelegen in de gemeente Ermelo, provincie Gelderland. Dit adres is geregistreerd in de Basisregistratie Adressen en Gebouwen (BAG) met als unieke identificatie 0233019900054137.
Het pand op Rodeschuurderwegje 9-42 is gebouwd in 2024, wat betekent dat het 2 jaar oud is. Dit is een vrij nieuw pand. Het pand is dus waarschijnlijk goed geïsoleerd, geluidsdicht en voldoet aan de huidige bouwstandaarden. Op korte termijn zijn er waarschijnlijk weinig onderhoudskosten.
De woning op Rodeschuurderwegje 9-42 heeft een gebruiksoppervlakte van 120 m². Dit is gemiddeld vergeleken met de gemiddelde Nederlandse woning, die een oppervlakte heeft van ongeveer 119 m². De gebruiksoppervlakte is de maat die wordt gebruikt in de BAG-registratie, de landelijke registratie van de Nederlandse overheid.
Rodeschuurderwegje 9-42 heeft als functie: wonen. Deze gebruiksfunctie(s) zijn vastgelegd in de BAG-registratie en geven aan waarvoor het adres officieel mag worden gebruikt.
Rodeschuurderwegje 9-42 is gelegen op kadastraal perceel EML00I7510. Deze kadastrale aanduiding is uniek en wordt gebruikt door het Kadaster om eigendomsrechten en andere zakelijke rechten vast te leggen. Het perceel maakt onderdeel uit van de kadastrale gemeente Ermelo.
Het perceel waarop Rodeschuurderwegje 9-42 staat heeft een oppervlakte van 182 m². Dit is een middelgroot perceel. De perceeloppervlakte wordt geregistreerd door het Kadaster. Gedetailleerde informatie over de maten van dit perceel kunt u vinden in het rapport Kadastrale kaart met maatvoering van Rodeschuurderwegje 9-42.
De eigenaar van Rodeschuurderwegje 9-42 is op te vragen op deze pagina.
De informatie over dit adres is afkomstig uit officiële overheidsregistraties, voornamelijk de Basisregistratie Adressen en Gebouwen (BAG) en de Basisregistratie Kadaster (BRK). Deze gegevens worden beheerd door respectievelijk gemeenten en het Kadaster, en worden regelmatig bijgewerkt. Energielabelgegevens komen uit de database van de Rijksdienst voor Ondernemend Nederland (RVO).
