
Russulalaan 52-16 is gelegen in de plaats Ermelo, de gemeente Ermelo en de provincie Gelderland. Het perceel waarop het verblijfsobject staat is 8120 m² groot. De oppervlakte van het adres is 150 m², wat zich rond het Nederlandse gemiddelde van 119 m² bevindt. In vergelijking met de andere adressen in de straat is de oppervlakte van dit object relatief groot. Het grootste verblijfsobject heeft een oppervlakte van 350 m², de oppervlakte van het kleinste object bedraagt 20 m². In het jaar 1989 is het pand waarin Russulalaan 52-16 ligt gebouwd. Dat is relatief recent: de meeste gebouwen in Nederland zijn gebouwd in de periode 1965-1984. Veel andere gebouwen in de straat zijn ouder dan dit pand. Het oudste pand komt uit het jaar 1927 en het nieuwste uit 2024. De volgende gebruiksdoelen zijn geregistreerd voor dit adres: 'logiesfunctie'.
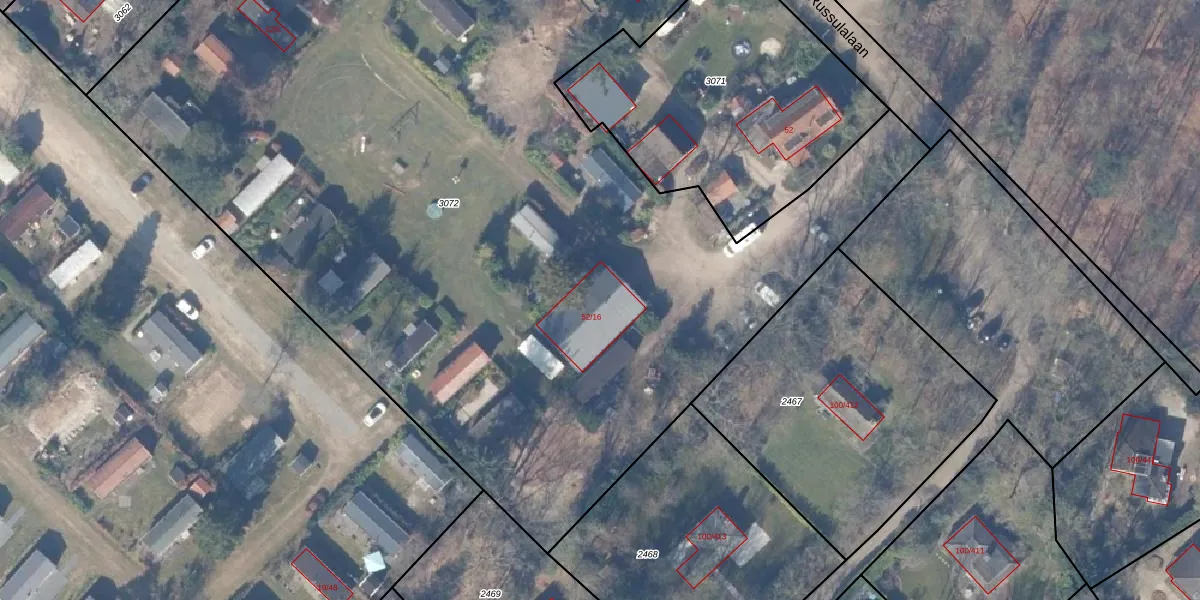
Het perceel waarop het adres ligt is EML00-E-3072. De afkorting 'EML00' staat voor kadastrale gemeente Ermelo. De oppervlakte van het perceel is 8120 m². Dat is groter dan gemiddeld in Ermelo, waar de gemiddelde perceeloppervlakte op 5291,54 m² ligt. De grootste perceeloppervlakte in de kadastrale gemeente is 3,90 km². De kleinste oppervlakte bedraagt 0 m². Op het perceel zijn 18 adressen aanwezig. De laatste wijziging in het de Basisregistratie Kadaster (BRK) was op 16-04-2020.
Er is geen energielabel geregistreerd voor het adres. Het hoogste energielabel in de straat is A+++; het laagste is G. Het gemiddelde energielabel is er C. Het adres Russulalaan 52-16 heeft als status: 'verblijfsobject in gebruik'. Het pand waarin dit adres ligt heeft als status: 'pand in gebruik'.
Russulalaan 52-16 is een adres gelegen in de gemeente Ermelo, provincie Gelderland. Dit adres is geregistreerd in de Basisregistratie Adressen en Gebouwen (BAG) met als unieke identificatie 0233010000015687.
Het pand op Russulalaan 52-16 is gebouwd in 1989, wat betekent dat het 37 jaar oud is. Dit is een pand van middelbare leeftijd. Het pand is van gemiddelde leeftijd en zal waarschijnlijk verouderde elementen bevatten.
De woning op Russulalaan 52-16 heeft een gebruiksoppervlakte van 150 m². Dit is ruim vergeleken met de gemiddelde Nederlandse woning, die een oppervlakte heeft van ongeveer 119 m². De gebruiksoppervlakte is de maat die wordt gebruikt in de BAG-registratie, de landelijke registratie van de Nederlandse overheid.
Russulalaan 52-16 heeft als functie: logies/verblijf. Deze gebruiksfunctie(s) zijn vastgelegd in de BAG-registratie en geven aan waarvoor het adres officieel mag worden gebruikt.
Russulalaan 52-16 is gelegen op kadastraal perceel EML00E3072. Deze kadastrale aanduiding is uniek en wordt gebruikt door het Kadaster om eigendomsrechten en andere zakelijke rechten vast te leggen. Het perceel maakt onderdeel uit van de kadastrale gemeente Ermelo.
Het perceel waarop Russulalaan 52-16 staat heeft een oppervlakte van 8120 m². Dit is een zeer groot perceel. De perceeloppervlakte wordt geregistreerd door het Kadaster. Gedetailleerde informatie over de maten van dit perceel kunt u vinden in het rapport Kadastrale kaart met maatvoering van Russulalaan 52-16.
De eigenaar van Russulalaan 52-16 is op te vragen op deze pagina.
De informatie over dit adres is afkomstig uit officiële overheidsregistraties, voornamelijk de Basisregistratie Adressen en Gebouwen (BAG) en de Basisregistratie Kadaster (BRK). Deze gegevens worden beheerd door respectievelijk gemeenten en het Kadaster, en worden regelmatig bijgewerkt. Energielabelgegevens komen uit de database van de Rijksdienst voor Ondernemend Nederland (RVO).
