
Het adres Runsdijk 6 bevindt zich in de plaats Esch, in de gemeente Esch en de provincie Noord-Brabant. De oppervlakte bedraagt 365 m², waarmee het adres groter dan gemiddeld is. De grootte van het perceel waarop het adres ligt is 1592 m². Dit is het adres met de grootste oppervlakte van alle adressen in de straat. Gemiddeld hebben de objecten in de straat een oppervlakte van 199 m². De kleinste oppervlakte is er 71 m². Het pand waarin Runsdijk 6 ligt is gebouwd in het jaar 1995. Panden die gebouwd zijn na het jaar 1984 noemen we hier relatief nieuw. Veel andere gebouwen in de straat zijn ouder dan dit pand. Het oudste pand komt uit het jaar 1920 en het nieuwste uit 1996. Het verblijfsobject heeft de volgende gebruiksdoelen: 'woonfunctie'.
Deze woning is voor het laatst verkocht op 1 augustus 1998. Meer informatie over deze transactie? Bestel het Woningtransactierapport om de verkoopprijs en andere informatie te zien.
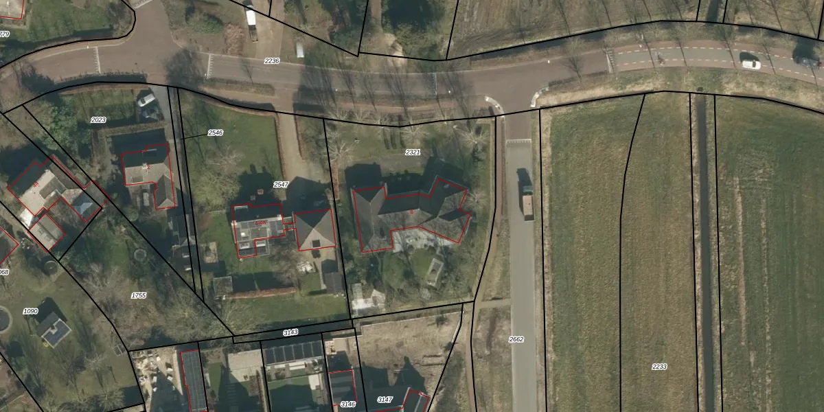
Het adres ligt op het perceel ESC00-B-2321, dat zich in de kadastrale gemeente Esch bevindt. Het perceel is kleiner dan gemiddeld in Esch. Het perceel is 1592 m² groot, terwijl het gemiddelde ligt op 3514,46 m². Het kleinste perceel in de kadastrale gemeente is 0 m² groot. De grootste perceeloppervlakte is 20,5 ha. Er zijn geen andere adressen aanwezig op het perceel. In de Basisregistratie Kadaster (BRK) werden de grenzen van het perceel geregistreerd op 22-06-2021.
Er is geen energielabel geregistreerd voor het adres. Het hoogste energielabel in de straat is B; het laagste is G. Het gemiddelde energielabel is er C. Het adres Runsdijk 6 heeft als status: 'verblijfsobject in gebruik'. Het pand waarin dit adres ligt heeft als status: 'pand in gebruik'.
Runsdijk 6 is een adres gelegen in de gemeente Boxtel, provincie Noord-Brabant. Dit adres is geregistreerd in de Basisregistratie Adressen en Gebouwen (BAG) met als unieke identificatie 0788010000001640.
Het pand op Runsdijk 6 is gebouwd in 1995, wat betekent dat het 31 jaar oud is. Dit is een pand van middelbare leeftijd. Het pand is van gemiddelde leeftijd en zal waarschijnlijk verouderde elementen bevatten.
De woning op Runsdijk 6 heeft een gebruiksoppervlakte van 365 m². Dit is ruim vergeleken met de gemiddelde Nederlandse woning, die een oppervlakte heeft van ongeveer 119 m². De gebruiksoppervlakte is de maat die wordt gebruikt in de BAG-registratie, de landelijke registratie van de Nederlandse overheid.
Runsdijk 6 heeft als functie: wonen. Deze gebruiksfunctie(s) zijn vastgelegd in de BAG-registratie en geven aan waarvoor het adres officieel mag worden gebruikt.
Runsdijk 6 is gelegen op kadastraal perceel ESC00B2321. Deze kadastrale aanduiding is uniek en wordt gebruikt door het Kadaster om eigendomsrechten en andere zakelijke rechten vast te leggen. Het perceel maakt onderdeel uit van de kadastrale gemeente Esch.
Het perceel waarop Runsdijk 6 staat heeft een oppervlakte van 1592 m². Dit is een zeer groot perceel. De perceeloppervlakte wordt geregistreerd door het Kadaster. Gedetailleerde informatie over de maten van dit perceel kunt u vinden in het rapport Kadastrale kaart met maatvoering van Runsdijk 6.
De eigenaar van Runsdijk 6 is op te vragen op deze pagina.
De informatie over dit adres is afkomstig uit officiële overheidsregistraties, voornamelijk de Basisregistratie Adressen en Gebouwen (BAG) en de Basisregistratie Kadaster (BRK). Deze gegevens worden beheerd door respectievelijk gemeenten en het Kadaster, en worden regelmatig bijgewerkt. Energielabelgegevens komen uit de database van de Rijksdienst voor Ondernemend Nederland (RVO).
